Account Options

  1. Sign in
    Screen reader users: click this link for accessible mode. Accessible mode has the same essential features but works better with your reader.

    Patents

    1. Advanced Patent Search
    Publication numberEP0325107 A1
    Publication typeApplication
    Application numberEP19890100102
    Publication dateJul 26, 1989
    Filing dateJan 4, 1989
    Priority dateJan 19, 1988
    Also published asDE8816266U1, EP0325107B1, US5008058
    Publication number1989100102, 89100102, 89100102.6, EP 0325107 A1, EP 0325107A1, EP-A1-0325107, EP0325107 A1, EP0325107A1, EP19890100102, EP89100102
    InventorsHans Henneberger, Rainer Basel
    ApplicantSiemens Audiologische Technik GmbH
    Export CitationBiBTeX, EndNote, RefMan
    External Links: Espacenet, EP Register
    Method for manufacturing an ear mould or ear piece
    EP 0325107 A1
    Abstract
    The method uses a porous elastic moulded part (15,15'), for example a foam material, and a curable material (21,21'), for example resin, in order to produce an ear mould (28) which is particularly accurately matched to the ear. The moulded part (15,15') is saturated or coated with the curable material (21,21') and then inserted into the ear of the person with defective hearing, where it cures after about 10 minutes. The direct production of the ear mould in the auditory canal (25) of the person with defective hearing is particularly advantageous; the earlier additional production of an imprint and of a negative can be omitted in the method according to the invention. …<IMAGE>…
    Images(5)
    Previous page
    Next page
    Claims(14)  translated from German
    1. Verfahren zur Herstellung wahlweise einer Otoplastik oder eines kundenspezifischen Ohrpaßstückes unter Verwendung eines Trägerteiles und eines auf das Trägerteil aufsetzbaren zumindest teilweise porösen, elastischen Formteiles, dadurch gekennzeichnet, daß das poröse, elastische Formteil (15, 15′) vor dem Einsetzen in das Ohr (26) eines Hörgeschädigten zumindest teilweise mit einem härtbaren Material (21, 21′) getränkt oder beschichtet wird, derart, daß das elastische Formteil bei ausgehärtetem Material und nach Herausnahme aus dem Ohr die angepaßte Außenkontur beibehält. 1. Process for preparing optionally an otoplasty or a customer-specific adaptive earpiece using a carrier part and fitted on a support part at least partially porous, elastic shaped part, characterized in that the porous, elastic shaped part (15, 15 ') before insertion into the ear is impregnated or coated (26) of a hearing-impaired person at least partially with a hardenable material (21, 21 '), such that the elastic molded part maintains the fitted outer contour with cured material and its removal from the ear.
    2. Verfahren nach Anspruch 1, dadurch gekennzeichnet, daß das Formteil (15, 15′) mit einem aushärtendem Polymer getränkt oder beschichtet wird. 2. The method according to claim 1, characterized in that the shaped part (15, 15 ') is impregnated with a thermosetting polymer or coated.
    3. Verfahren nach Anspruch 1, dadurch gekennzeichnet, daß das Formteil (15, 15′) aus Schaumstoff gebildet wird. 3. The method according to claim 1, characterized in that the shaped part (15, 15 ') is formed of foam.
    4. Verfahren nach Anspruch 1 und 3, dadurch gekennzeichnet, daß das Formteil (15) als Manschette aus offenporigem Schaumstoff ausgebildet wird. 4. The method of claim 1 and 3, characterized in that the shaped part (15) is designed as a sleeve made of open-pore foam.
    5. Verfahren nach Anspruch 1, dadurch gekennzeichnet, daß das Formteil (15) vor dem Einsetzen in das Ohr (26) zum Entfernen von überflüssigem härtbarem Material (21) zumindest leicht ausgepreßt wird. 5. The method according to claim 1, characterized in that the molding (15) prior to insertion into the ear (26) (21) for removal of excess curable material is at least slightly squeezed.
    6. Verfahren nach einem der Ansprüche 1 bis 5, dadurch gekennzeichnet, daß als Schaumstoff für das Formteil ein Polyurethanelastomer verwendet wird. 6. The method according to any one of claims 1 to 5, characterized in that a polyurethane elastomer is used as foam for the shaped part.
    7. Verfahren nach einem der Ansprüche 1 bis 6, dadurch gekennzeichnet, daß als Schaumstoff für das Formteil ein geschäumter Latex verwendet wird. 7. A method according to any one of claims 1 to 6, characterized in that a foamed latex is used as foam for the shaped part.
    8. Verfahren nach einem der Ansprüche 1 bis 7, dadurch gekennzeichnet, daß als härtbares Material (21, 21′) ein zunächst zumindest dickflüssiges, jedoch aushärtbares Harzmaterial verwendet wird. 8. The method according to any one of claims 1 to 7, characterized in that the curable material (21, 21 ') a first at least viscous, but curable resin material is used.
    9. Verfahren nach einem der Ansprüche 1 bis 5, dadurch gekennzeichnet, daß vor dem Einsetzen in das Ohr (26) eine Schutzhülle (24) über das benetzte Formteil (15) gezogen wird. 9. A method according to any one of claims 1 to 5, characterized in that prior to insertion into the ear (26) a protective sheath (24) over the wetted mold part (15) is pulled.
    10. Verfahren nach Anspruch 9, dadurch gekennzeichnet, daß als Schutzhülle (24) ein Elastomer, zB Latex, verwendet wird. 10. A method according to claim 9, characterized in that the protective sheath (24) is an elastomer such as latex used.
    11. Verfahren nach Anspruch 9, dadurch gekennzeichnet, daß die Schutzhülle (24) nach Aushärten des Formteiles (15) und Entfernen vom Ohr (26) vom Formteil abgezogen wird. 11. The method according to claim 9, characterized in that the protective sheath (24) after hardening of the shaped part (15) and removal from the ear (26) is withdrawn from the molded part.
    12. Verfahren nach einem der Ansprüche 1 bis 11, dadurch gekennzeichnet, daß das ausgehärtete Formteil (15) nach Entfernen vom Ohr (26) mit einem zusätzlichen physiologisch vertragbaren Polymer (27) entweder getränkt oder beschichtet wird. 12. The method according to any one of claims 1 to 11, characterized in that the cured molding (15) with an additional physiologically vertragbaren polymer (27) is either impregnated or coated after removal from the ear (26).
    13. Verfahren nach Anspruch 12, dadurch gekennzeichnet, daß das zusätzliche Polymer (27) ein Reaktionsharz auf Epoxyd- oder Acrylatbasis ist. 13. The method according to claim 12, characterized in that the additional polymer (27) is a reaction resin or epoxy acrylate.
    14. Verfahren nach einem der Ansprüche 1 bis 12, dadurch gekennzeichnet, daß das Formteil (15′) auf einen Schalleitungsschlauch (36) steckbar ist und mit einem im wesentlichen parallel zur Schalleitung verlaufenden Entlüftungskanal (44) versehen wird. 14. The method according to any one of claims 1 to 12, characterized in that the shaped part (15 ') on a sound conduction tube (36) can be plugged and is provided with a substantially extending parallel to the sound conduction vent passage (44).
    Description  translated from German
    • [0001] [0001]
      Die Erfindung bezieht sich auf ein Verfahren zur Herstellung einer Otoplastik oder eines Ohrpaßstückes gemäß Oberbegriff des Patentanspruches 1. Das Trägerteil kann zB das Gehäuse eines In-dem-Ohr-Hörgerätes (zB "Custom Made") oder die Schale eines Modul-IdO-Hörgerätes oder auch die Schalleitung eines Hinter-dem-Ohr-Hörgerätes sein. The invention relates to a process for preparing an otoplasty or an adaptive earpiece according to the preamble of claim 1. The support member may, for example the housing of an in-the-ear hearing aid (eg "Custom Made") or the shell of a module ITE hearing aid be or even the sound conduction of a behind-the-ear hearing aid.
    • [0002] [0002]
      Otoplastiken und kundenspezifische Ohrpaßstückes werden insbesondere bei der Anpassung eines Hörgerätes an die Gehörgangsform des Ohres eines Hörgeschädigten verwendet. Earmoulds and custom earmold are used in particular to adapt a hearing aid to the auditory canal of the ear of a hearing impaired shape. Derartige Otoplastiken und Ohrpaßstückes sorgen erstens für eine feste Positionierung des Hörgerätes, so daß das Hörgerät nicht verrutschen oder sogar aus dem Ohr herausfallen kann. Such earmoulds and adaptive earpiece provide firstly for a fixed positioning of the hearing aid such that the hearing aid can not shift or even fall out of the ear. Außerdem hat die Otoplastik oder das Ohrpaßstück eine schalldämpfende Wirkung, um Rückkopplungen zwischen dem Mikrofon und dem Hörer des Hörgerätes zu vermeiden. In addition, the otoplasty or ear tip has a silencing effect to prevent feedback between the microphone and the receiver of the hearing aid. Otoplastiken sind in der Regel als Anpassung für In-dem-Ohr-Hörgeräte (IdO-Geräte) gedacht, wo hingegen Ohrpaßstücke für Hinter-dem-Ohr-Hörgeräte (HdO-Geräte) geeignet sind. Ear molds are intended, whereas ear tips for behind-the-ear (BTE) are generally suitable as an adjustment for in-the-ear (ITE devices).
    • [0003] [0003]
      Bei den üblichen Herstellungsverfahren von Otoplastiken und kundenspezifischen Ohrpaßstücken wird zuerst ein Abdruck vom Gehörgang des zu versorgenden Ohres des Hörgeschädigten genommen. In the conventional manufacturing process of ear molds and custom Ohrpaßstücken an impression of the ear canal to be supplied ear of the hearing impaired will be taken first. Mittels des Abdruckes wird daraufhin ein Negativ geformt. By means of the impression is then formed a negative. Erst dann kann daraus eine Otoplastik oder ein Ohrpaßstück hergestellt werden, das der Form nach dem Gehörgang des Ohres angepaßt ist. Only then can be manufactured from an ear mold or an ear tip which is adapted to the shape according to the auditory canal of the ear. Häufig muß nach der Herstellung die Otoplastik oder das Ohrpaßstück noch beschnitten oder geschiffen werden, um Gußfehler zu beseitigen. Frequently, the otoplasty or adaptive earpiece which must still be cut or geschiffen after manufacture in order to eliminate casting defects. Da dieser Vorgang teuer und zeitaufwendig ist, bemühen sich Hersteller schon seit längerer Zeit ein Verfahren zu entwickeln, womit das Herstellen eines Abdruckes und eine Negatives vermieden werden kann. Because this process is expensive and time consuming, manufacturers strive to develop a method for a long time, thus making an impression and a negative can be avoided.
    • [0004] [0004]
      So beschreibt zB die DE-AS 12 31 304 ein Verfahren, wonach ein selbsthärtender Kunststoff auf einem die Grundform des Gehörganges des menschlichen Ohres nachbildenden Grundkörper verteilt und der beschichtete Grundkörper danach so lange direkt in den Gehörgang des Ohres des Hörgeschädigten eingesetzt wird, bis der jetzt an die Innenkontur des Gehörganges angepaßte Kunststoff ausgehärtet ist. For example, DE-AS 12 31 304, a process by which a self-curing resin on a distributed, the basic shape of the auditory canal of the human ear simulates the base body and the coated body is then inserted as long directly into the auditory canal of the ear of the hearing-impaired, until the now adapted to the inner contour of the ear canal plastic is cured. Die Anpassung an die Innenkontur ist aber noch nicht optimal. but the adaptation to the inner contour is not yet optimal. Durch das Einpressen der mit Kunststoff beschichteten Grundform in das Ohr besteht die Gefahr, Kunststoff zu weit in den Gehörgang zu drücken. Through the injection of the plastic-coated base form in the ear there is a danger to press plastic too far into the ear canal.
    • [0005] [0005]
      Außerdem wird bei diesem Verfahren eine Vielzahl verschiedener Standard-Grundkörper benötigt, da die Kunststoffbeschichtung nicht ausreicht, um sich an alle Gehörgangsformen unter Verwendung eines Einheits-Grundkörpers ausreichend anzupassen. In addition, a variety of standard base is needed because the plastic coating is not sufficient to sufficiently adapt to all ear canal shapes using a unit main body in this method. Ähnliches gilt für den Gegenstand des Artikels "A Tool for the Optimization of Hearing Aid Fittings" von Dr. Barry Voroba, veröffentlicht in "Hearing Instruments", Band 35, Nr. 1, Jan. 1984, Seiten 12 bis 14 und 16. In diesem Fall wird das weiche Plastik-material in das Ohr injiziert. The same applies to the subject of the article "A Tool for the Optimization of Hearing Aid Fittings" by Dr. Barry Voroba, published in "Hearing Instruments", Vol. 35, No. 1, January 1984, pages 12 to 14 and 16. In this case is injected into the ear, the soft plastic material. Ein passender Stempel wird dann in die Masse gedrückt, bevor sie aushärtet. A matching stamp is then pressed into the compound before it hardens.
    • [0006] [0006]
      Die DE-AS 24 59 259 beschreibt eine weitere Möglichkeit, ein Ohrpaßstück ohne Verwendung eines Abdruckes oder Negatives herzustellen. The DE-AS 24 59 259 describes a further possibility of producing an ear tip without the use of an impression or negative. Anstelle einer Otoplastik wird der Schallkanal des Hörgerätes mittels einer umschließenden, mit Flüssigkeit gefüllten Tasche im Gehörgang gehalten. Instead of an ear mold, the sound channel of the hearing aid is retained by means of a surrounding fluid-filled bag in the ear canal. Die Tasche paßt sich an die Form des Gehörganges an, indem ein Anpreßring gegen die Tasche gedrückt wird. The bag conforms to the shape of the auditory canal, by a pressure ring is pressed against the pocket. Nachteilig bei dieser Lösung ist jedoch, daß die Flüssigkeit in der Tasche nicht aushärtet. However, a disadvantage of this solution is that the liquid does not cure in the bag. Es besteht also immer die Gefahr, daß die Tasche reißt und die Flüssigkeit ins Ohr ausläuft. So there is always the danger that the bag tears and runs out the liquid into his ear.
    • [0007] [0007]
      Ein weiteres Verfahren zur Direktabformung des Gehörganges ohne Abdruck und Negativ ist in der deutschen Patentanmeldung P 37 15 082.0 beschrieben. Another method for Direktabformung of the ear canal without impression and negative is described in the German patent application P 37 15 082.0. Bei diesem Verfahren wird fließendes Otoplastikmaterial zwischen einen Stempel und eine über den Stempel gezogene Hülle eingespritzt und ausgehärtet. In this method, flowing Otoplastikmaterial is injected between a punch and a line drawn over the punch sleeve and cured.
    • [0008] [0008]
      Es sind in jünster Zeit Schaumstofformteile für Ohrpaßstücke entwickelt worden. There have been developed in jünster time foam moldings for ear tips. Derartige Schaumstofformteile sind schon seit längerer Zeit als Lärmschutzstopfen bekannt und werden serienmäßig hergestellt. Such foam moldings have been known for some time as noise protection plugs and be mass-produced. Eine Anpassung an einzelne Gehörgänge wird nicht durchgeführt. Adaptation to individual ear canals is not performed. Die Schaumstoffteile werden lediglich zusammengepreßt und ins Ohr gesteckt, wo sie sich daraufhin wieder aufbauschen. The foam parts are simply pressed together and inserted into the ear, where they then blow up again. Hersteller derartiger Schaumstoffstöpsel sind ua die Fa. Grace Chemie, Heidelberg, und die Fa. 3M, USA (szB Werbeschrift "COMPLY™ Instant Earmold", Nr. 70-2008-2478-0 (77.5) 11 der Fa. 3M und den Aufsatz "Disposable Foam Earmolds" von Smolak et al. in "Hearing Instruments", Band 38, Nr, 12, 1987). Manufacturers of such foam earplugs include Messrs. Grace chemistry, Heidelberg, and Messrs. 3M, United States (see, for example advertising magazine "COMPLY ™ Instant Earmold", no. 70-2008-2478-0 (77.5) 11 of Messrs. 3M and the essay "Disposable Foam Earmolds" of Smolak et al., "Hearing Instruments", Vol 38, No., 12, 1987). Als reiner Otoplastik-Ersatz für ein In-dem-Ohr-Hörgerät sind derartige Schaumstoffe jedoch weniger geeignet, da der Schaumstoff zu weich ist. As a pure ear device replacement for an in-the-ear hearing aid, however, such foams are less suitable because the foam is too soft. Außerdem verschmutzen derartige Schaumstoffe sehr schnell (durch Cerumen, usw.) und müssen häufig ausgewechselt werden. In addition, such foams dirty very quickly (by earwax, etc.) and must be replaced frequently. Auch als Ohrpaßstücke sind derartige Schaumstoffe noch nicht optimal. Also called ear tips such foams are not yet optimal.
    • [0009] [0009]
      Aufgabe vorliegender Erfindung ist es, ein Verfahren zur Herstellung einer Otoplastik oder eines kundenspezifischen Ohrpaßstückes auf der Basis von Schaumstoffen anzugeben, das ohne die Herstellung eines Abdruckes und eines Negatives durchführbar ist und das die zuvor beschriebenen Nachteile nicht aufweist. Object of the present invention is to provide a process for preparing an otoplasty or a customer-specific adaptive earpiece on the basis of foam, which is carried out without the production of an impression and a negative and does not have the disadvantages described above.
    • [0010] [0010]
      Die Aufgabe der Erfindung wird mit den kennzeichnenden Merkmalen des Verfahrens des Anspruches 1 gelöst. The object of the invention is achieved by the characterizing features of the method of claim 1.
    • [0011] [0011]
      Durch Benetzen eines porösen, elastischen Formteiles mit einem härtbaren Material können Otoplastiken sowie Ohrpaßstücke auf besonders günstige Art hergestellt werden. By wetting of a porous, elastic shaped part with a curable material earmoulds and ear tips can be produced in a particularly favorable way. Das benetzte Formteil kann ohne komplizierte Vorrichtungen an den Gehörgang angepaßt werden. The wetted molded part can be adapted to the ear canal without complicated devices. Es wird einfach in dem Ohr positioniert, bis es nach etwa zehn Minuten aushärtet. It is simply positioned in the ear until it hardens after about ten minutes. Dies spart sowohl Zeit wie Kosten. This saves both time and costs. Verschiedenartige Grundkörper müssen auch nicht vorhanden sein, da ein Einheits-Grundkörper (oder auch das In-dem-Ohr-Hörgerät selber) bei Otoplastiken oder die Schalleitung bei Ohrpaßstücken verwendet werden kann. Various body need not be present as a unit body (or the in-the-ear hearing aid itself) can be used with ear molds or the sound conduction in Ohrpaßstücken. Die Anpassung an den Gehörgang ist problemloser als beim Stand der Technik, da das Material an das Formteil gebunden ist. The adaptation to the ear is easily than in the prior art, since the material is bonded to the molded part. Falls physiologisch weniger gut verträgliche Materialien zur Durchführung des Verfahrens verwendet werden, kann eine Schutzhülle verwendet werden. If less physiologically well-tolerated materials are used for performing the method, a protective sheath may be used.
    • [0012] [0012]
      Auch aus technischer Sicht sind die hergestellten Otoplastiken und Ohrpaßstücke besonders vorteilhaft. From a technical perspective, the ear molds and ear tips produced are particularly advantageous. Die Anpassung ist besonders genau, da das elastische Formteil während des Aushärtens des Netzmaterials ständig nach außen an die Gehörgangswände drückt. The adjustment is particularly accurate, since the elastic molding constantly pressed against the ear canal walls during the curing of the mesh material to the outside. Die Elastizität ist jedoch nur vorübergehend erforderlich, da aus dem Formteil in wenigen Minuten ein harter Körper entsteht. However, the elasticity is only temporarily necessary as a hard body arises from the molded article in a few minutes. Das Formteil dichtet dementsprechend den Gehörgang besonders gut ab, was wiederum Rückkopplungseffekte verhindert. The molding seals accordingly the ear canal particularly well, which in turn prevents feedback effects.
    • [0013] [0013]
      Außerdem können die hierdurch hergestellten Otoplastiken/Ohrpaßstücke über lange Zeit verwendet werden, ohne daß sie ausgetauscht werden müssen (insbesondere, wenn das Formteil mit einem Polymer beschichtet wird). In addition, the ear devices / ear tips produced thereby can be used for a long time, without having to be replaced (in particular when the molding is coated with a polymer).
    • [0014] [0014]
      Weitere Vorteile und Einzelheiten der Erfindung ergeben sich aus der nachfolgenden Beschreibung eines Ausführungsbeispieles anhand der Zeichnungen und in Verbindung mit den weiteren Unteransprüchen. Further advantages and details of the invention will become apparent from the following description of an embodiment with reference to the drawings and in conjunction with the further subclaims. Es zeigen: Show it:
      • Fig. 1 bis 8 in einem ersten Ausführungsbeispiel die wichtigsten Verfahrensstufen zur Herstellung einer Otoplastik, Figs. 1 to 8 in a first embodiment, the main process steps for preparing an otoplasty,
      • Fig. 9 einen Längsschnitt durch eine Otoplastik, die mittels des Verfahrens nach den Fig. 1 bis 8 hergestellt wurde, Fig. 9 is a longitudinal section through an ear mold that has been produced by the method according to FIGS. 1 to 8,
      • Fig. 10 in einem zweiten Ausführungsbeispiel ein Hinter-dem-Ohr-Hörgerät (HdO-Hörgerät) mit einem Ohrpaßstück aus Schaumstoff, Fig. 10 in a second embodiment of a behind-the-ear hearing aid (BTE) with an ear tip made of foam,
      • Fig. 11 die Beschichtung eines Schaumstoffes mit einem härtbaren Material zum Zwecke der Herstellung eines Ohrpaßstückes für ein HdO-Gerät gemäß Fig. 10, Fig. 11 shows the coating of a foam with a curable material for the purpose of producing a earmold for a BTE device of FIG. 10,
      • Fig. 12 einen Längsschnitt durch ein derart hergestelltes Ohrpaßstück, Fig. 12 is a longitudinal section through an ear tip produced in this manner,
      • Fig. 13 das HdO-Hörgerät der Fig. 10 mit einem Ohrpaßstück, dessen Schalleitung durch einen Modul mit Bauelementen ersetzt worden ist. Fig. 13, the BTE hearing aid of FIG. 10 with an ear tip, the sound conduction has been replaced by a module with components.
    • [0015] [0015]
      In den Fig. 1 bis 8 sind die wesentlichen Verfahrensschritte zur Herstellung einer Otoplastik für ein IdO-Hörgerät gezeigt. In FIGS. 1 to 8, the main method steps for manufacturing an otoplastic for a ITE hearing device are shown. Zur Herstellung einer solchen Otoplastik benötigt man zunächst ein Trägerteil, ein elastisches, poröses Formteil und ein härtbares Material. For the production of such ear device, first one needs a support member, a elastic porous mold part and a curable material.
    • [0016] [0016]
      Das Trägerteil dieses Ausführungsbeispieles ist eine Schale 1 eines Modul-IdO-Hörgerätes 2, zB vom Typ Cosmea M (Siemens AG). The support member of this embodiment is a tray 1 of a modular ITE hearing aid 2, for example of the type M Cosmea (Siemens AG). Die Schale 1 besteht aus einem formstabilen Material und ist an die Form des Moduls 2 angepaßt. The shell 1 is made of a dimensionally stable material and is adapted to the shape of the module. 2 Der Innenraum 3 der Schale 1 öffnet sich an beiden Ender der Schale 1 nach außen. The interior 3 of the shell 1 opens at both Ender of the shell 1 to the outside. Bei der Herstellung von Otoplastiken für andere IdO-Gerätemodelle, die keine Schale einsetzen, können zB das Hörge rätgehäuse oder ein dementsprechend geformter Grundkörper als Trägerteil dienen. In the manufacture of ear devices for other ITE device models that do not use shell can, for example rätgehäuse the Hörge or serve a correspondingly shaped base body as a support member.
    • [0017] [0017]
      Das IdO-Hörgerätmodul 2 umfaßt alle elektrischen Bauteile des Hörgerätes. The ITE hearing device module 2 comprises all electric components of the hearing aid. An der Stirnfläche 4 des Gerätes 2 befinden sich ein Einstellknopf 5 für einen Lautstärkeregler, ein weiteres Stellglied 6, eine Klappe 7 für ein Batteriefach und eine Schalleintrittsöffnung 8, die zum Mikrofon des Gerätes 2 führt. There is a knob 5 for a volume control, a further control element 6, a flap 7 for a battery compartment and a sound inlet opening 8, which leads to the microphone of the device 2 on the front surface 4 of the appliance. 2 Am gegenüberliegenden Ende des Hörgerätmoduls 2 befindet sich ein Stutzen 9, der die Schallaustrittsöffnung bildet. At the opposite end of the hearing aid module 2 there is a connection 9 which constitutes the sound outlet opening. Der Schallaustrittsstutzen 9 ist Bestandteil des Gehäuses 10 (zB aus Plastik) des IdO-Hörgerätmoduls 2. The sound outlet connecting piece 9 forms part of the housing 10 (for example made of plastic) of the ITE hearing aid module. 2
    • [0018] [0018]
      Um die Handhabung bei der Herstellung der Otoplastik zu erleichtern, wird die Schale 1 über einen Grundkörper 11 geschoben. In order to facilitate handling in manufacturing the ear device, the shell 1 is slid over a body. 11 Der Grundkörper 11 ist ein serienmäßig hergestellter Einheitsstempel, dessen Außenkontur der Außenkontur des Hörgerätmoduls 2 gleicht. The base body 11 is a standard unit manufactured punch, whose outer contour similar to the outside contour of the hearing aid module. 2 Er umfaßt an seiner Stirnfläche 12 einen Stiel 13 und am gegenüberliegenden Ende einen Stutzen 14. It comprises on its front surface 12 a stem 13 and at the opposite end a nozzle fourteenth
    • [0019] [0019]
      Das Formteil ist eine Elastomer-Manschette 15 mit Poren. The molding is an elastomeric sleeve 15 with pores. Sie ist auf die Gehörgangsform eines menschlichen Ohres vorgeformt, hat jedoch einen etwas größeren Durchmesser. It is pre-formed to the shape of the ear canal of a human ear, but has a slightly larger diameter. Die Manschette 15 umfaßt eine auf die Schale 1 zugeschnittene Ausnehmung 16. Die Ränder 17, 18 der Manschette 15 verkleinern vorzugsweise die Ausnehmung 16 an den offenen Enden der Manschette 15 und halten somit nach Überschieben der Manschette 15 über die Schale 1 und den Grundkörper 11 diese in der Ausnehmung 16 fest. 16 11, the sleeve 15 comprises a tailored to the shell 1 recess 16. The edges 17, 18 of the collar 15 decrease, preferably, the recess at the open ends of the sleeve 15 and thus hold after pushing over the sleeve 15 on the shell 1 and the base body, this in the recess 16 firmly. Die Manschette 15 ist ein saugfähiger Schaumstoff und, in diesem Ausführungsbeispiel, an seiner Oberfläche 19 offenporig. The cuff 15 is an absorbent foam material and, in this embodiment, porous at its surface nineteenth Der Schaumstoff kann aus verschiedenen Stoffen hergestellt werden. The foam may be made of different materials. Besonders geeignet ist ein Polyurethanelastomer oder ein geschäumter Latex. Particularly useful is a polyurethane elastomer or a foamed latex. Die Manschette 15 ist zunächst elastisch, vorzugsweise bauschig, und umfaßt viele kleine Poren 20. The sleeve 15 is initially elastically, preferably bulky, and includes many small pores 20th
    • [0020] [0020]
      Im Behälter 23 befindet sich ein härtbares Material 21, zB ein Polymer. In the container 23 there is a curable material 21, such as a polymer. Das härtbare Material 21 ist vorzugsweise dickflüssig. The curable material 21 is preferably thick. Harzmaterial hat sich als besonders vorteilhaft erwiesen. Resin material has proven to be particularly advantageous.
    • [0021] [0021]
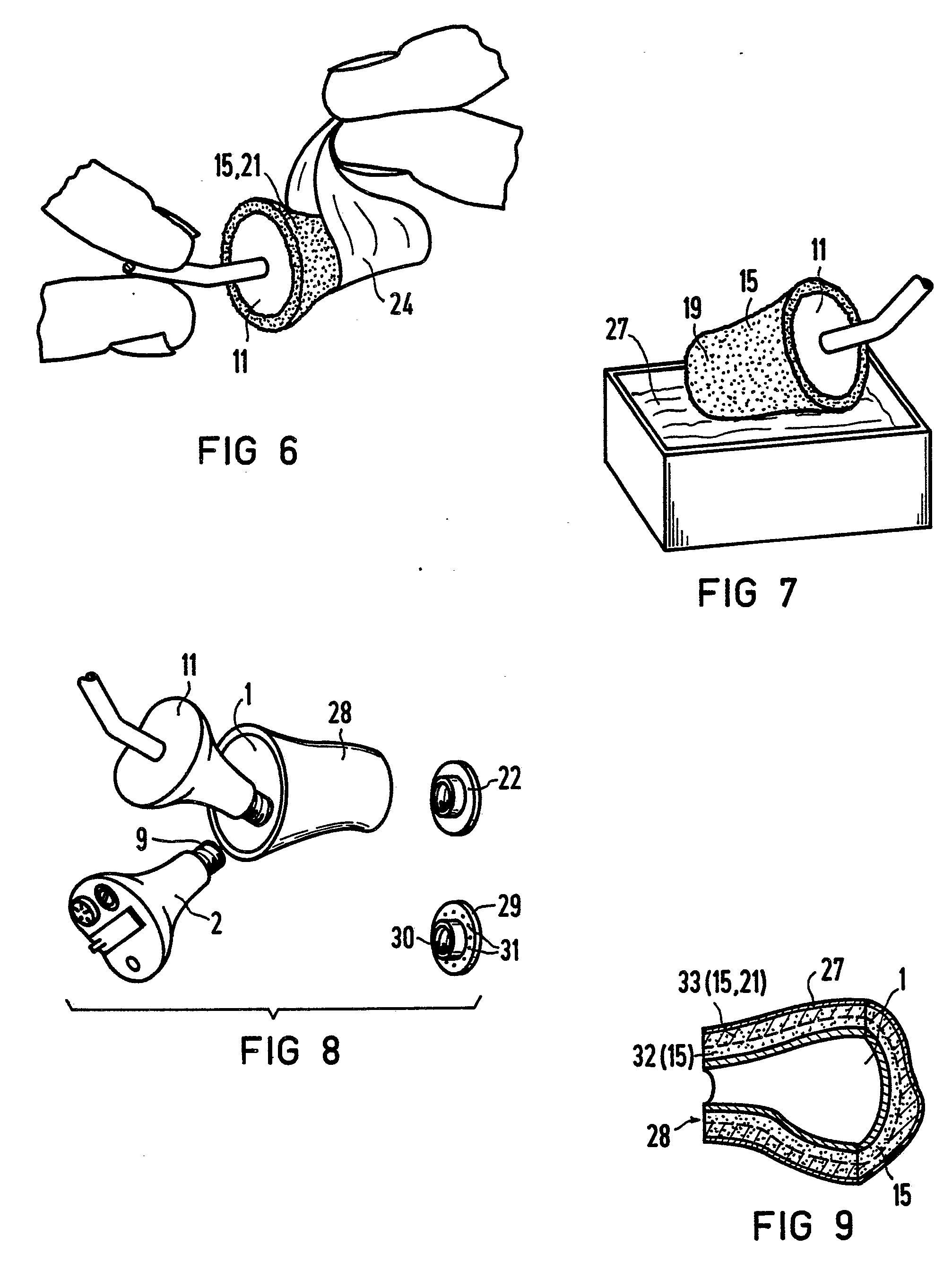
      Wie bereits angedeutet, wird zuerst der Grundkörper 11 in den Innenraum 3 der Schale 1 gesteckt. As already indicated, the basic body is inserted into the interior 3 of the shell 1 11 first. Dann wird die Schale 1 samt Grundkörper 11 mit der Manschette 15 überzogen. Then the tray 1 together with the base body 11 is covered with the cuff 15 °. Zur Stabilisierung und Abdichtung wird anschließend ein Schutzdeckel 22 auf den Stutzen 14 des Grundkörpers 11 geschraubt. For stabilizing and sealing a protective cover 22 is screwed onto the neck 14 of the body 11 then.
    • [0022] [0022]
      Die Manschette 15 wird dann in den Flüssigkeitsbehälter 23 so lange getaucht, bis die Poren 20 mit härtbarem Material 21 benetzt sind. The cuff 15 is then dipped into the liquid container 23 until the pores are wetted with 20 curable material 21st Die Manschette 15 muß mindestens so viel härtbares Material 21 aufsaugen, daß sie sich nach dem Aushärten des härtbaren Materials 21 nicht mehr verformen kann. The collar 15 must absorb at least as much curable material 21, that they can not deform after curing of the curable material 21st Die Poren 20 sollten nicht mit härtbarem Material 21 ausgefüllt sein. The pores 20 should not be filled with curable material 21st Falls der Schaumstoff 15 besonders geschmeidig ist, brauchen die Poren 20 lediglich mit härtbarem Material 21 benetzt zu sein. If the foam 15 is particularly smooth, the pores 20 need to be wetted only with curable material 21st Deshalb sollte unter Umständen, wie in Fig. 2 dargestellt, nach dem Eintauchen der Manschette 15 überflüssiges Material 21 aus der Manschette 15 gepreßt werden. Therefore, 15 superfluous material 21 should, under certain circumstances, as shown in Fig. 2, after the immersion of the sleeve are pressed out of the sleeve 15. Die Manschette 15 kann auch im zusammengepreßten Zustand in das Material 21 eingetaucht werden, wodurch der Verfahrensschritt der Figur 2 entfallen würde. The sleeve 15 may also be dipped in the compressed state in the material 21, whereby the step of FIG would be omitted. 2
    • [0023] [0023]
      Falls ein physiologisch weniger gut verträgliches Material 21 verwendet wird, wird vor Einsetzen in den Hörkanal eine Schutzhülle 24 über die benetzte Manschette 15 gezogen. If a less physiologically well-tolerated material 21 is used, a protective cover is pulled over the wetted cuff 15 24 before insertion into the ear canal. Die Schutzhülle 24 sollte vorzugsweise auch elastisch sein und sich genau an die Außenkontur der Manschette 15 anpassen. The protective cover 24 should also preferably be resilient and conform precisely to the outer contour of the cuff 15 °. Eine derartige Schutzhülle 24 könnte zB aus Latex (Polyisopren oder Polybutadien) gefertigt sein. Such a protective sleeve 24 could be for example made out of latex (polyisoprene or polybutadiene).
    • [0024] [0024]
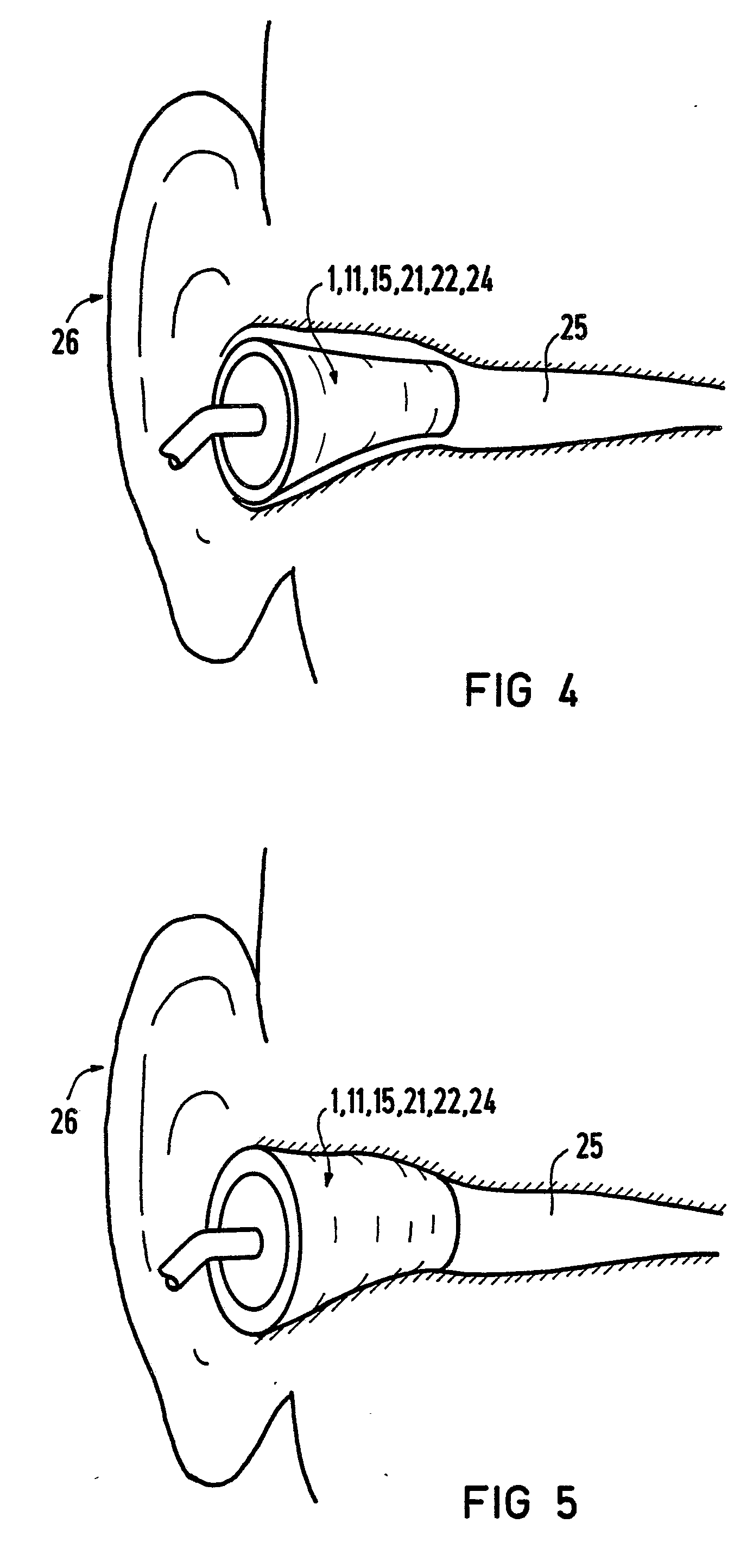
      Der Gesamtkörper, bestehend aus Grundkörper 11, Schale 1, Manschette 15, Material 21, Schutzdeckel 22 und gegebenenfalls Schutzhülle 24, wird schließlich gemäß Fig. 4 im Gehörgang 25 des Ohres 26 des Hörgeschädigten positioniert. The total body, consisting of base body 11, shell 1, collar 15, material 21, protective cover 22 and, optionally, protective sheath 24 is finally shown in FIG. 4 is positioned in the ear canal 25 of the ear 26 of the hearing impaired.
    • [0025] [0025]
      Die Fig. 5 zeigt den Gesamtkörper 1, 11, 15, 21, 22, 24 einige Minuten später. FIG. 5 shows the entire body 1, 11, 15, 21, 22, 24 a few minutes later. Die elastische Manschette 15 hat sich bis an die Wände des Gehörganges 25 wieder aufgebauscht. The elastic sleeve 15 has been inflated again and the walls of the auditory canal 25th Das härtbare Material 21 härtet in dieser Zeit aus. The curable material 21 is cured at this time. Nach etwa 10 bis 15 Minuten im Ohr ist das Material 21 vollkommen ausgehärtet. After about 10 to 15 minutes in the ear, the material 21 is fully cured. Der Gesamtkörper 1, 11, 15, 21, 22, 24 kann daraufhin aus dem Gehörgang 25 entfernt werden. The total body 1, 11, 15, 21, 22, 24 can then be removed from the ear canal 25th Die eventuell aufgezogene Schutzhülle 24 wird danach, wie in Fig. 6 gezeigt, von der Manschette 15 abgezogen und weggeworfen. The protective cover may be reared 24, as shown in Fig. 6 then withdrawn from the sleeve 15 and discarded. Es verbleibt der Grundkörper 11 mit Schale 1 und ausgehärteter Manschette 15, die an die Gehörgangsform bleibend angepaßt ist. 11 There remains the basic body shell 1 and hardened sleeve 15 which is permanently adapted to the ear canal shape.
    • [0026] [0026]
      Gemäß Figur 7 wird eine Beschichtung 27 auf die Manschette aufgetragen. According to Figure 7, a coating is applied to the cuff 27th Da der Schaumstoff der Manschette 15 weiterhin offenporig, jedoch aber ausgehärtet ist, ist die Oberfläche 19 der Manschette 15 etwas rauh. Since the foam of the sleeve 15 also has open pores, but, however cured, the surface 19 of the sleeve 15 is somewhat rough. Die Beschichtung 27 glättet die Oberfläche 19, damit die fertige Otoplastik angenehm zu tragen ist. The coating 27 smoothes the surface 19, so that the finished ear device is comfortable to wear. Außerdem stellt die Beschichtung 27 die durch die Schutzhülle 24 entfallene Paßgenauigkeit wieder her. Moreover, the coating 27, the foregone through the protective sheath 24 fitting accuracy restored. Die Beschichtung 27 kann entweder im Tauchverfahren oder auf eine andere bekannte Weise aufgetragen werden. The coating 27 may be applied either by dipping or in some other known manner. In jedem Fall sollte die Beschichtung 27 physiologisch verträglich sein. In any case, the coating 27 should be physiologically compatible. Ein Polymer, zB ein Reaktionsharz auf Epoxyd- oder Acrylat-Basis, ist zB gut geeignet. A polymer, such as a reaction resin on epoxy or acrylate-based is, for example, suitable. Die Beschichtung 27 kann zB auch in verschiedenen Farben ausgeführt werden, um das Gerät optisch ansprechender zu gestalten. The coating 27 can be, for example, carried out in different colors to make the device more visually appealing.
    • [0027] [0027]
      Im letzten Verfahrensschritt wird der Grundkörper 11 von der fertigen Otoplastik 28 entfernt. In the final step, the base body 11 is removed from the finished otoplastic 28th Der Schutzdeckel 22 wird zuerst abgeschraubt, wie in der Figur 8 gezeigt. The protective cover 22 is first unscrewed, as shown in FIG. 8 Dann wird der Grundkörper 11 durch das Hörgerätmodul 2 ersetzt. Then, the base body 11 is replaced by the hearing aid module. 2 Die Schale 1 bleibt weiterhin in der Otoplastik 28. Um das Modul 2 fest in der Otoplastik 28 zu haltern und außerdem das Hörgerät vor Cerumen vom Ohr zu schützen, wird auf den Stutzen 9 des Moduls 2 ein Cerumendeckel 29 mit Innengewinde 30 geschraubt. The tray 1 remains in the earpiece 28. In order to hold firmly the module 2 in the ear mold 28 and also the hearing aid from wax to protect from the ear, is screwed on the nozzle 9 of the module 2 a Cerumendeckel 29 with internal thread 30th Der Cerumendeckel 29 umfaßt Durchtrittsöffnungen 31 für den Schall. The Cerumendeckel 29 comprises passage holes 31 for sound.
    • [0028] [0028]
      Die Fig. 9 zeigt die erfindungsgemäß hergestellte Otoplastik 28 im Längsschnitt. The Fig. 9 shows the earpiece 28 according to the invention prepared in longitudinal section. Im Bereich der Schale 1 befindet sich weiterhin ein von härtbarem Material 21 nicht getränkter Schaumstoff 15. Der Schaumstoff in diesem Bereich 32 ist weiterhin weich und elastisch. In the area of ​​the shell 1 furthermore a non-soaked by hardenable material 21 foam 15. The foam is in this range 32 is still soft and elastic. Dieser Schaumstoff kann sich jedoch nicht mehr nach außen ausdehnen, da er vollkommen von einem zweiten, harten Bereich 33 umgeben ist. However, this foam is unable to expand outwardly as it is completely surrounded by a second, hard region 33rd Dieser zweite Bereich 33 wurde beim Herstellungsverfahren ausreichend mit härtbarem Material 21 benetzt. This second area 33 has been sufficiently wetted in the manufacturing process with curable material 21st Nachdem das Material 21 aushärtete, wurde der Bereich 33 so hart, daß eine Verformung der Otoplastik 28 nicht mehr möglich war. After the material was cured 21, the region 33 was so hard that a deformation of the ear device 28 was no longer possible. Die zusätzliche Beschichtung 27 haftet an dem Schaumstoff-Bereich 33 und gibt der Otoplastik eine glatte Oberfläche. The additional coating 27 adhered to the foam portion 33 and outputs the otoplastic a smooth surface.
    • [0029] [0029]
      In den Fig. 10 bis 12 wird ein weiterer Verfahrensvorgang gezeigt. In Figs. 10 to 12 a further method of operation is shown. Obwohl auch diese Verfahrensschritte zur Herstellung einer Otoplastik geeignet sind, wird anhand dieses Ausführungsbeispiels ein Ohrpaßstück für ein HdO-Hörgerät hergestellt. Although these process steps are suitable for preparing an otoplasty, reference to this embodiment an ear tip for a BTE hearing device is manufactured. Die Fig. 10 zeigt ein HdO-Hörgerät 34 und ein Ohrpaßstück 35 auf der Basis von Schaumstoff mit einem Schalleitungsschlauch 36. Das HdO-Hörgerät 34 umfaßt eine Innenschale 37, eine Aussenschale 38, eine Batterielade 39 und einen Traghaken 40. Ein Lautstärkeregler 41 und ein Schalter 42 ragen aus der Außenschale 38 heraus. Fig. 10 shows a BTE hearing device 34 and an ear tip 35 on the basis of foam with a sound conduction tube 36. The BTE hearing aid 34 includes an inner shell 37, an outer shell 38, a battery charger 39, and a carrying hook 40. A volume control 41 and a switch 42 protrude from the outer shell 38th Nachdem der Schallleitungsschlauch 36 mit dem Traghaken 40 verbunden worden ist, können akustische Signale vom HdO-Hörgerät 34 über das Ohrpaßstück 35 in das Ohr des Hörgeschädigten geleitet werden. After the sound conduction tube 36 has been connected to the carrying hooks 40, acoustic signals from the BTE hearing device 34 can be passed through the ear tip 35 in the ear of the hearing impaired. Das Ohrpaßstück 35 soll, genau wie die Otoplastik 28, exakt an den Gehörgang des Hörgeschädigten angepaßt sein. The ear tip 35 should be just like the ear device 28, exactly adapted to the auditory canal of the hearing impaired.
    • [0030] [0030]
      Zu diesem Zweck wird, wie in der Fig. 11 dargestellt, ein härtbares Material 21′ auf eine als Formteil ausgebildete Manschette 15′ aus Schaumstoff mittels eines Pinsels 43 aufgetragen. , For this purpose, as shown in Fig. 11, a curable material 21 is applied 'to a formed as a molded part sleeve 15' of foam using a brush 43rd Dieses Material 21′ ist, wie im vorhergehenden Ausführungsbeispiel, vorzugsweise ein Polymer und muß physiologisch verträglich sein, da hier keine Schutzhülle verwendet wird. This material 21 'is, as in the previous embodiment, preferably a polymer and must be physiologically acceptable, since no protective cover is used. Die so vorbereitete Manschette 15′ wird, wie schon anhand der Fig. 4 und 5 erläutert, in den Gehörgang des Hörgeschädigten zur Anpassung und Aushärtung gesteckt. The thus-prepared sleeve 15 'is, as already explained with reference to FIGS. 4 and 5, inserted into the ear canal of the hearing impaired person to adapt and curing. Es ergibt sich somit das erfindungsgemäße Ohrpaßstück 35. This results in ear adapter 35 according to the invention.
    • [0031] [0031]
      Die Fig. 12 zeigt ein erfindungsgemäß ausgebildetes Ohrpaßstück 35 im Längsschnitt. Fig. 12 shows an ear tip 35 according to the invention formed in longitudinal section. Das Material 21′ ist in diesem Fall kaum in den Schaumstoff 15′ eingezogen. The material 21 'is barely in this case, into the foam 15' retracted. Es vernetzt lediglich die Oberfläche 19′ der Manschette 15′. It crosslinks only the surface 19 'of sleeve 15'. Dazu braucht also die Manschette 15′ nicht unbedingt offenporig zu sein. So to the cuff needs' does not necessarily have to be open-pored 15th Eine Manschette 15′ mit einer geschlossenen Oberfläche ist ebenfalls verwendbar. A collar 15 'with a closed surface is also usable. Das ausgehärtete Material 21′ hat im vorliegenden Fall zB eine glatte Oberfläche und muß deshalb nicht weiter beschichtet werden. The cured material 21 'in the present case, for example, a smooth surface, and need not, therefore, be coated further. Neben der Ausnehmung 16′ für den Schalleitungsschlauch 36 umfaßt die Manschette 15′ im vorliegenden Fall auch noch mehrere Entlüftungskanäle 44. In addition to the recess 16 in the present case 'for the sound conduction tube 36, the sleeve 15' comprises also a plurality of venting channels 44th
    • [0032] [0032]
      Das Trägerteil kann gemäß Fig. 3 als ausgelagertes Modul 45 eines HdO-Hörgerätes 34′ ausgebildet sein. The support member may be formed as shown in FIG. 3 as outsourced module 45 of a BTE hearing aid 34 '. Das ausgelagerte Modul 45 umfaßt vorzugsweise einen Teil der elektrischen Bauelemente des Hörgerätes, insbesondere einen oder mehrere elektro-akustische Wandler (Mikrofon 46 und/oder Hörer 47). The relocated module 45 preferably comprises a portion of the electrical components of the hearing aid, in particular one or more electro-acoustic transducers (microphone 46 and / or receiver 47). In diesem Fall muß der Schalleitungsschlauch 36 durch eine elektrische Leitung 48 ersetzt werden. In this case, the sound conduction tube 36 must be replaced by an electrical conduit 48th
    Patent Citations
    Cited PatentFiling datePublication dateApplicantTitle
    GB2091063A * Title not available
    US4130741 *Jan 19, 1978Dec 19, 1978Benjamin GottliebHearing aid reliner and apparatus for relining hearing aid ear molds
    US4712245 *Jan 24, 1985Dec 8, 1987Oticon Electronics A/SIn-the-ear hearing aid with the outer wall formed by rupturing a two-component chamber
    Non-Patent Citations
    Reference
    1 *HEARING INSTRUMENTS, Band 38, Nr. 12, Dezember 1987, Seiten 24-27,49, Cleveland, Ohio, US; L. SMOLAK et al.: "Disposable foam earmolds"
    Referenced by
    Citing PatentFiling datePublication dateApplicantTitle
    EP0660641A1 *Dec 8, 1994Jun 28, 1995Siemens Audiologische Technik GmbHHearing aid to be worn on the head
    EP1427251A2 *Sep 25, 2000Jun 9, 2004Phonak AgMethod for the production of otoplastics and corresponding otoplastic
    EP1427251A3 *Sep 25, 2000Aug 16, 2006Phonak AgMethod for the production of otoplastics and corresponding otoplastic
    EP2030762A1 *Aug 28, 2008Mar 4, 2009Deltamed GmbhFlexible medicinal form body and method for its manufacture
    DE9314343U1 *Sep 24, 1993Dec 23, 1993Fiedler Ronald G DrHörgerät
    US8616214Apr 6, 2011Dec 31, 2013Kimberly-Clark Worldwide, Inc.Earplug having a resilient core structure
    Classifications
    International ClassificationH04R25/00
    Cooperative ClassificationH04R25/658, H04R25/656, H04R25/65
    European ClassificationH04R25/65B, H04R25/65M
    Legal Events
    DateCodeEventDescription
    Jul 26, 1989AKDesignated contracting states:
    Kind code of ref document: A1
    Designated state(s): AT CH DE FR GB IT LI NL
    Oct 4, 198917PRequest for examination filed
    Effective date: 19890808
    Jun 3, 199217QFirst examination report
    Effective date: 19920415
    Nov 19, 1992REFCorresponds to:
    Ref document number: 82662
    Country of ref document: AT
    Date of ref document: 19921215
    Kind code of ref document: T
    Nov 19, 1992PG25Lapsed in a contracting state announced via postgrant inform. from nat. office to epo
    Ref country code: IT
    Free format text: LAPSE BECAUSE OF FAILURE TO SUBMIT A TRANSLATION OF THE DESCRIPTION OR TO PAY THE FEE WITHIN THE PRESCRIBED TIME-LIMIT
    Effective date: 19921119
    Ref country code: GB
    Effective date: 19921119
    Ref country code: NL
    Effective date: 19921119
    Nov 19, 1992AKDesignated contracting states:
    Kind code of ref document: B1
    Designated state(s): AT CH DE FR GB IT LI NL
    Dec 24, 1992REFCorresponds to:
    Ref document number: 58902726
    Country of ref document: DE
    Date of ref document: 19921224
    Jan 4, 1993PGFPPostgrant: annual fees paid to national office
    Ref country code: AT
    Payment date: 19930104
    Year of fee payment: 5
    Jan 13, 1993RAP2Transfer of rights of an ep granted patent
    Owner name: SIEMENS AUDIOLOGISCHE TECHNIK GMBH
    Jan 15, 1993REGReference to a national code
    Ref country code: CH
    Ref legal event code: PUE
    Owner name: SIEMENS AUDIOLOGISCHE TECHNIK GMBH
    Mar 24, 1993PGFPPostgrant: annual fees paid to national office
    Ref country code: DE
    Payment date: 19930324
    Year of fee payment: 5
    Apr 9, 1993PG25Lapsed in a contracting state announced via postgrant inform. from nat. office to epo
    Ref country code: FR
    Effective date: 19930409
    Apr 9, 1993ENFr: translation not filed
    Apr 16, 1993NLV1Nl: lapsed or annulled due to failure to fulfill the requirements of art. 29p and 29m of the patents act
    Apr 22, 1993PGFPPostgrant: annual fees paid to national office
    Ref country code: CH
    Payment date: 19930422
    Year of fee payment: 5
    May 26, 1993GBVGb: ep patent (uk) treated as always having been void in accordance with gb section 77(7)/1977
    Effective date: 19921119
    Nov 10, 199326NNo opposition filed
    Nov 26, 1993REGReference to a national code
    Ref country code: FR
    Ref legal event code: ST
    Jan 4, 1994PG25Lapsed in a contracting state announced via postgrant inform. from nat. office to epo
    Ref country code: AT
    Effective date: 19940104
    Jan 31, 1994PG25Lapsed in a contracting state announced via postgrant inform. from nat. office to epo
    Ref country code: CH
    Effective date: 19940131
    Ref country code: LI
    Effective date: 19940131
    Sep 30, 1994REGReference to a national code
    Ref country code: CH
    Ref legal event code: PL
    Oct 1, 1994PG25Lapsed in a contracting state announced via postgrant inform. from nat. office to epo
    Ref country code: DE
    Effective date: 19941001