Account Options

  1. Sign in
    Screen reader users: click this link for accessible mode. Accessible mode has the same essential features but works better with your reader.

    Patents

    1. Advanced Patent Search
    Publication numberEP0331730 A1
    Publication typeApplication
    Application numberEP19880900959
    PCT numberPCT/SU1987/000127
    Publication dateSep 13, 1989
    Filing dateNov 12, 1987
    Priority dateAug 27, 1987
    Also published asEP0331730A4, WO1989001997A1
    Publication number1988900959, 88900959, 88900959.3, EP 0331730 A1, EP 0331730A1, EP-A1-0331730, EP0331730 A1, EP0331730A1, EP19880900959, EP88900959, PCT/1987/127, PCT/SU/1987/000127, PCT/SU/1987/00127, PCT/SU/87/000127, PCT/SU/87/00127, PCT/SU1987/000127, PCT/SU1987/00127, PCT/SU1987000127, PCT/SU198700127, PCT/SU87/000127, PCT/SU87/00127, PCT/SU87000127, PCT/SU8700127
    InventorsIvan Antonovich Groza, Diter Landolt
    ApplicantKishinevsky Politekhnichesky Institut Imeni S.Lazo
    Export CitationBiBTeX, EndNote, RefMan
    External Links: Espacenet, EP Register
    Method of applying a composite nickel-oxide-titanium coating to metal carrier
    EP 0331730 A1
    Abstract
    A method of applying a composite nickel-oxide-titanium coating to a metal carrier is effected by means of electrolytic sedimentation from an aqueous solution containing dichlorinated nickel and trichlorinated titanium, both in a concentration providing for electroconductivity of the solution. The electrolytic sedimentation is carried out in a pulsed potentiostatic regime.
    Images(2)
    Previous page
    Next page
    Claims(1)  translated from German
    1. Verfahren zum Auftragen eines Verbund-Nickel-Titanoxid-Überzuges auf eine Metallunterlage durch elektrolytische Abscheidung aus einer wässerigen Lösung, die Nickeldichlorid und ein Titansalz enthält, dadurch gekennzeichnet, daß man als Titansalz Titantrichlorid verwendet, man die Konzentration des Nickel dichlorids und des Titantrichlorids in der wässerigen Lösung aus der Bedingung der Gewährleistung maximaler spezifischer elektrischen Leitfähigkeit der Elektrolytlösung wählt und die Elektrolytische Abscheidung des jeweiligen Überzuges unter den potentiostatischen Impulserhältnissen bei einer Dauer eines Impulspotentials gleich 10 bis 30 ms, einer Impulsenamplitude, die für die Gewährleistung harmonischer abklingender Schwingungen des Anodenstroms während der Pausen ausreichend ist, und bei einer Dauer der Pausen, die der Dauer eines vollständigen Abklingens der Schwingungen des Anodenstroms gleich ist, durchführt. A method for applying a composite nickel-titanium oxide coating on a metal substrate by electrodeposition from an aqueous solution containing nickel dichloride and a titanium salt, characterized in that there is used as the titanium salt, titanium trichloride, the concentration of the nickel dichloride and titanium trichloride in the selects aqueous solution from the condition of ensuring maximum specific electric conductivity of the electrolytic solution and the electrolytic deposition of each coating under the potentiostatic pulse receives Nissen at a duration of a pulse potential is 10 to 30 ms, a pulse amplitude of the to ensure harmonious decaying oscillations of the anode current during breaks is sufficient, and for a duration of breaks, which is the duration of a complete decay of the vibration of the anode current equal performs.
    Description  translated from German
      Gebiet der Technik Technical Field
    • [0001] [0001]
      Die Erfindung bezieht sich auf das Gebiet der Galvanotechnik und betrifft sie insbesondere ein Verfahren zum Auftragen eines Verbund-Nickel-Titanoxid-Überzuges auf eine Metallunterlage. The invention relates to the field of plating, and in particular it relates to a method for applying a composite nickel-titanium oxide coating on a metal surface.
    • [0002] [0002]
      Vorhergehender Stand der Technik Bekannt ist ein Verfahren zum Auftragen eines Verbund-Nickeloxid-Titanoxid-Überzuges auf eine Metallunterlage durch elektrolytische Abscheidung aus einer wäßerigen Lösung, die Nickeldichlorid und Titanoxid enthält, das man in Form eines feindispersen Pulvers in den jeweiligen Elektrolyt einführt. Previous state of the art is known a method of applying a composite nickel-titanium oxide coating on a metal substrate by electrodeposition from an aqueous solution containing nickel dichloride and titanium oxide, which is introduced in the form of a finely dispersed powder in the electrolyte. Die Teilchen des Titanoxid-Pulvers werden unter ständigem Vermischen des Elektrolyts an der Katode, an der Metallunterlage, mit Nickelionen mitgefällt (RSSaifullin "Neorganicheskie kompozitsionnye materialy" - Anorganische Verbindwerkstoffe" - 1983, Chimiya, Moskau). The particles of titanium oxide powder are under constant mixing of the electrolyte at the cathode, to the metal substrate, nickel ions coprecipitated (RSSaifullin "Neorganicheskie kompozitsionnye materialy" - Inorganic Verbindwerkstoffe "- 1983, Chimiya, Moscow).
    • [0003] [0003]
      Verbundwerkstoffüberzüge, die im bekannten Verfahren hergestellt werden, weisen eine inhomogene Struktur auf, da die Teilchen des Titanoxids im Elektrolyt der Koagulation und der Bildung von Teilchen mit großen Abmessungen ausgesetzt sind. Composite coatings which are produced in the known processes exhibit an inhomogeneous structure, since the particles of titanium oxide are suspended in the electrolyte of the coagulation and the formation of particles having large dimensions. An der Phasengrenze zwischen Metallphase und Titanoxid ist die Bildung von Rissen möglich. At the phase boundary between the metal and titanium oxide phase, the formation of cracks is possible. Das bekannte Verfahren verlangt außerdem das ständige Vermischen des Elektrolyts, wofür Hilfseinrichtungen eingesetzt werden. The known method also requires the constant mixing of the electrolyte, for which auxiliary devices are used.
    • [0004] [0004]
      Bekannt ist außerdem ein Verfahren zum Auftragen eines Verbund-Nickel-Titanoxid-Überzuges auf eine Metallunterlage durch elektrolytische Abscheidung aus einer wässerigen Lösung, die Nickeldichlorid und ein Titansalz, Titantetrachlorid, sowie Fluorione und organische Komponenten, solche wie Laurylsulfat, Äthylalkohol, Natriumglukonat enthält (SU, A, 184092). There is also known a method of applying a composite nickel-titanium oxide coating on a metal substrate by electrodeposition from an aqueous solution containing nickel dichloride and a titanium salt, titanium tetrachloride, and Fluorione and organic components, such as lauryl sulfate, ethyl alcohol, sodium gluconate contains (SU , A, 184092). Die elektrolytische Abscheidung führt man unter den galvanostatischen Verhältnissen bei einer Stromdichte von 5 bis 10 A/dm² durch. The electrolytic deposition is carried out under galvanostatic conditions at a current density of 5 to 10 A / dm². Es werden Fluorine zur Auflösung der Oxidphase von Titan, die bei der Elektrolyse von Titanionen entsteht, die in der Elektrolyt-Lösung enthalten sind, und zur Bildung der Metallphase von Titan zwecks ihrer Abscheidung auf die Unterlage hinzugefügt. Fluorine will be able to dissolve the oxide phase of titanium, which results in the electrolysis of titanium ions contained in the electrolyte solution, and added to form the metal phase of titanium for the purpose of their deposition on the substrate.
    • [0005] [0005]
      In der Praxis wurde jedoch auf die Unterlage das Titan nicht in Form der Metallphase, sondern in Form von Titanoxiden und -hydroxiden abgeschieden. In practice, however, was on the support, the titanium not in the form of the metal phase, but in the form of titanium oxides and hydroxides deposited. Dagegen führte das Vorliegen von Fluor-Ionen lediglich zur Verringerung des Prozentanteils an Titanoxid in dem aufzutragenden Überzug. In contrast, the presence of fluorine ions led only to reduce the percentage of titanium oxide in the coating to be applied. Als Folge trat die Senkung der Korrosionsbeständigkeit und Feuerbeständigkeit des Überzuges auf. As a result of the reduction in corrosion resistance and fire resistance of the coating occurred.
    • Offenbarung der Erfindung Disclosure of the Invention
    • [0006] [0006]
      Der Erfindung liegt die Aufgabe zugrunde, ein Verfahren zum Auftragen eines Verbund-Nickel-Titanoxid-Überzuges auf eine Metallunterlage zu entwickeln, in dem bei der elektrolytischen Abscheidung es möglich wird, einen Verbundwerkstoffüberzug mit einem ausreichend hohen Prozentanteil an Titanoxid, das eine homogene feindisperse Struktur aufweist, herzustellen. The invention has for its object to provide a process for applying a composite nickel-titanium oxide coating on a metal substrate, in which in the electrolytic deposition, it is possible to provide a composite coating having a sufficiently high percentage of titanium oxide which is a homogeneous, finely dispersed structure has to produce.
    • [0007] [0007]
      Diese Aufgabe wird dadurch gelöst, daß man im Verfahren zum Auftragen eines Nickel-Titanoxid-Überzuges auf eine Metallunterlage durch elektrolytische Abscheidung aus einer wässerigen. This object is achieved in that in the method for applying a nickel-titanium oxide coating on a metal substrate by electrodeposition from an aqueous. Lösung, die Nickeldichlorid und ein Titansalz enthält, erfindungsgemäss als Titansalz Titantrichlorid verwendet, die Konzentration des Nickeldichlorids und des Titantrichlorids in der wässerigen Lösung aus den Bedingungen der Gewährleistung einer maximalen spezifischen elektrische leitfähigkeit der Elektrolytlösung wählt und die elektrolytische Abscheidung unter den potentiostatischen Impuls-Verhältnissen bei einer Dauer der Potentialimpulse gleich 10 bis 30 ms, einer Impulsenamplitude, die für die Gewährleistung harmonischer abklingender Schwingungen des Anodenstroms während der Pausen ausreichend ist, und bei einer Pausendauer, die der Dauer eines vollständigen Abklingens der Schwingungen des Anodenstroms gleich ist, durchführt. containing solution, the nickel dichloride and a titanium salt, according to the invention used as the titanium salt, titanium trichloride, the concentration of the Nickeldichlorids and titanium trichloride in the aqueous solution of the conditions of guaranteeing a maximum specific electric conductivity of the electrolyte solution selected and the electrolytic deposition under the potentiostatic pulse ratios in a duration of the potential pulses equal to 10 to 30 ms, a pulse amplitude which is sufficient for ensuring harmonic decaying oscillations of the anode current during the breaks, and a pause duration that is the duration of a complete decay of the vibrations of the anode current equal to that performs.
    • [0008] [0008]
      Das in Übereinstimmung mit der vorliegenden Erfindung realisierte Verfahren bewirkt die Herstellung eines Überzuges mit einem hohen (bis 53%) Prozentanteil an Titan oxid, dessen Teilchen feindispers, gleichmäßig verteilt und mit der Metallphase von Nickel fest verbunden sind. The realized in accordance with the present invention, the process causes the finely dispersed preparation of a coating with a high (to 53%) percentage of titanium oxide, whose particles are evenly distributed and fixed to the metal phase of nickel. Der Überzug zeichnet sich durch eine hohe Korrosionsbeständigkeit und Feuerbeständigkeit aus. The coating is characterized by high corrosion resistance and fire resistance. Das Verfahren erfolgt in einem Elektrolyt mit einer einfachen Zusammensetzung, die lediglich zwei nichttoxische und beständige Komponenten enthält, es verlangt keine Hilfsvorrichtungen zum Vermischen des Elektrolyts. The process is carried out in an electrolyte with a simple composition comprising only two non-toxic and stable components, it does not require any auxiliary devices for mixing of the electrolyte.
    • Kurze Beschreibung der Zeichnungen Brief Description of Drawings
    • [0009] [0009]
      Nachstehend wird die Erfindung an Hand der Beschreibung einer konkreten Variante ihrer Ausführung und der beigefügten Zeichnungen erläutert, in denen es zeigen: The invention will be explained with reference to the description of a specific variant of its embodiment and the accompanying drawings, in which drawings:
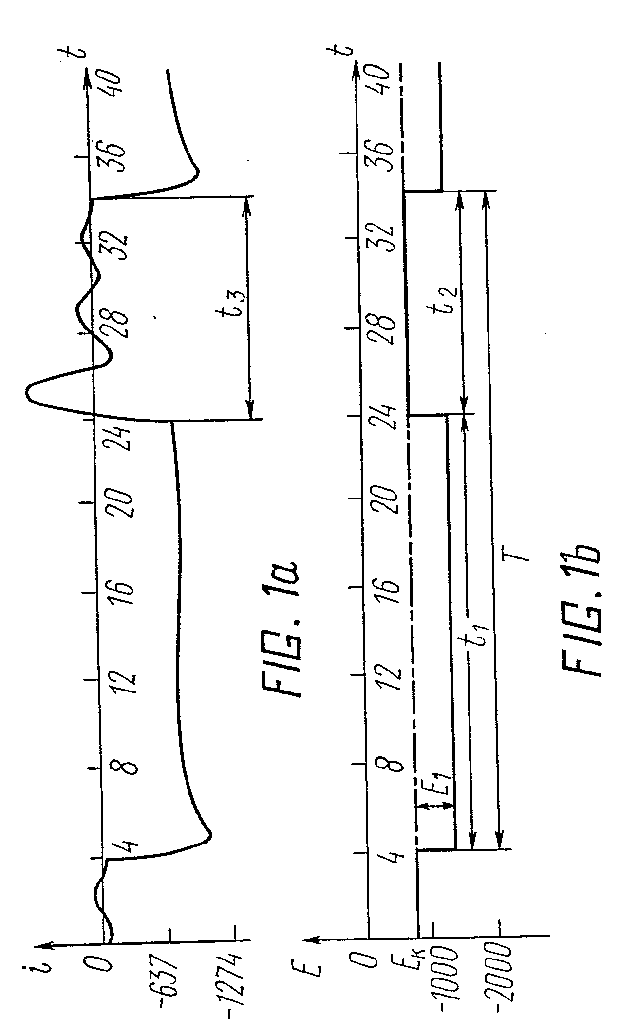
      • Fig. 1a - graphische Darstellung der zeitlichen Veränderung der Stromdichte zwischen der jeweiligen Unterlage und einer Vergleichselektrode, wo an der Ordinatenachse die Werte der Stromdichte i in mA/cm² und an der Abszissenachse die Zeit t in ms angebracht sind; FIG. 1a - are attached graph showing the temporal change of the current density between the respective pad and a reference electrode, where on the axis of ordinates the values ​​of the current density i in mA / cm² and the abscissa axis the time t in milliseconds;
      • Fig. 1b - graphische Darstellung der zeitlichen Veränderung des Potentials zwischen jeweiliger Unterlage und einer Vergleichselektrode, wo an der Ordinatenachse die Werte des Potentials E in mV und an der Abszissenachse die Zeit t in ms abgelegt sind. Figure 1b -. Graph showing the time variation of the potential between respective base and a reference electrode, on the ordinate where the values ​​of the potential in mV E and the axis of abscissas the time t are stored in ms.
    • Beste Ausführungsvariante der Erfindung Best embodiment of the invention
    • [0010] [0010]
      Das Wesen des Verfahrens, erfindungsgemäß, besteht in folgendem. The essence of the method according to the invention is as follows.
    • [0011] [0011]
      Man stellt eine wässerige Elektrolytlösung, die Nickeldichlorid und Titantrichlorid mit einer Konzentration enthält, die eine maximale spezifische Leitfähigkeit der Lösung bewirkt, her. It provides an aqueous electrolyte solution containing nickel dichloride and titanium trichloride at a concentration that causes a maximal specific conductivity of the solution here. Der Verbund-Nickel-Titanoxid-Überzug trägt man auf eine Metallunterlage durch elektrolytische Abscheidung in einem Bad mit den zubereiteten Elektrolyt auf. The composite nickel-titanium oxide coating is worn around a metal substrate by electrodeposition in a bath containing the electrolyte prepared. Die Abscheidung des Überzuges führt man unter den potentiostatischen Impuls-Verhältnissen bei einer Taktdauer T der Impulse bei einer Impulsdauer t₁ der Potentiale gleich 10 bis 30 ms, bei einer Impulsenamplitude, die für die Gewährleistung harmonischer abklingender Schwingungen des Anodenstromes während der Pausen aus reichend ist, und bei einer Pausendauer t₂ durch, die der Dauer der vollständigen Dämpfung der Schwingungen des Anodenstroms gleich ist. The deposition of the coating is carried out under the potentiostatic pulse ratios at a clock period T of the pulses with a pulse duration t₁ of the potentials is 10 to 30 ms, at a pulse amplitude which is sufficient for ensuring harmonic decaying oscillations of the anode current during the breaks off, and a pause duration t₂ by, which is the duration of the complete damping of the vibrations of the anode current equal.
    • [0012] [0012]
      Die Verwendung der Potentialimpulse mit einer Dauer unter 10 ms führt zur Senkung der Stärke der Überzüge und zur Senkung des Gehaltes an Titanoxid-Teilchen im Überzug. The use of the potential pulses with a duration less than 10 ms leads to the lowering of the strength of the coatings and to reduce the content of titanium oxide particles in the coating. Die Vergrößerung der Dauer t₁ der Impulse über 30 ms führt zur Instabilität der elektrolytischen Abscheidung und als Ergebnis zur ungleichmäßigen Verteilung der Titanoxid-Teilchen in einer Grundmetall-Matrix des Mitfällungsmittels, des Nickels. The increase in the duration t₁ of the pulses over 30 ms leads to instability of the electrolytic deposition and as a result of uneven distribution of the titanium oxide particles in a base metal matrix of the coprecipitant, of nickel.
    • [0013] [0013]
      Der Amplitudenwert des Potentials eines Arbeitsimpulses zwischen einer Katode (Unterlage) und einer Chlor-Silber-Vergleichselektrode beträgt von (-1200) bis (-1500) mV. The amplitude value of the potential of a working pulse between a cathode (substrate) and a chlorine-silver comparison electrode is from (-1200) to (-1500) mV.
    • [0014] [0014]
      Bei der Zuführung von Arbeitsimpulsen mit einem Potential in dem genannten Intervall an die Katode werden die harmonischen abklingender Schwingungen des Anodenstroms während der Pausen gewährleistet (siehe Fig. 1a). When the supply of working pulses having a potential in said interval to the cathode decaying harmonic oscillations of the anode current during the pauses be ensured (see Fig. 1a).
    • [0015] [0015]
      Die Durchführung der elektrolytischen Abscheidung bei Potentialwerten unter (-1200) mV führt zur vorwiegenden Wasserstoffentwicklung an der Katode, die Überzüge werden nicht durchgehend homogen und sie weisen Mikroporen auf. The implementation of the electrolytic deposition at potential values ​​at (-1200) mV results in the predominant hydrogen evolution at the cathode, the coatings are not continuous homogeneous and have micropores. Die Vergrößerung des Potentials oberhalb von (-1500) mV führt zum Verschwinden harmonischer Schwingungen des Stromes während einer Pause zwischen den Arbeitsimpulsen und als Folge zur Verringerung der Stärke des Überzuges und zur Herabsetzung des Gehalts an Titanoxid-Teilchen im Überzug. The increase of the potential of above (-1500) mV results in the disappearance of harmonic oscillations of the current during a pause between the operational pulses and as a result to reduce the thickness of the coating and to reduce the content of titanium oxide particles in the coating.
    • [0016] [0016]
      Die Grösse des Potentials während der Pause wird gleich dem Potential E k der Korrosion des Katodenmaterials gewählt. The size of the potential during the interval is selected equal to the potential E k is the corrosion of the cathode material.
    • [0017] [0017]
      Zu Beginn einer Pause, wenn das Potential gleich E k ist, erfolgt ein Stromsprung mit Veränderung seines Zeichens. At the start of a pause when the potential is equal to E k, then a current step with change of its sign. Während der Pause stellt sich ein Gleichgewicht in der an der Katode angrenzenden Schicht ein, das heißt, daß der Strom gleich Null wird. During the break, an equilibrium in the adjacent the cathode layer, i.e., that the current is equal to zero. Wenn Schwingungen fehlen und der Strom aperiodisch ausschwingt, erfolgt die Auflösung eines neu abgeschiedenen Überzuges. If vibrations are missing and the current swings aperiodic, the resolution of a newly deposited coating is carried out.
    • [0018] [0018]
      Die Schwingungen des Anodenstromes während einer Pause werden lediglich in einem Intervall der Potential-Größen, erfindungsgemäß, und bei einer maximalen elektrischen Leitfähigkeit der Elektrolytlösung möglich. The vibrations of the anode current during a break to be possible only in an interval of the potential sizes, according to the invention, and with a maximum electrical conductivity of the electrolyte solution.
    • [0019] [0019]
      Die Dauer t₂ der Pause (Fig. 1b) zwischen den Arbeitsimpulsen wählt man aus der Bedingung aus, daß jeder nächstfolgende Impuls zu einem Zeitpunkt beginnt, wenn ein vollständiges Abklingen der Schwindungen des Anodenstromes t₂ = t₃ erfolgt, worin t₃ - die Dauer des vollständigen Erlöschens der Schwingungen des Anodenstromes ist (siehe Fig. 1a). (Fig. 1b) the duration t₂ the interval between operational pulses is chosen out of the condition that each succeeding pulse starts at a time when a complete decay of the shrinkage of the anode current t₂ carried = t₃, wherein t₃ - the duration of the complete extinction the vibrations of the anode current (see Fig. 1a).
    • [0020] [0020]
      Wenn 0 < t₂ < t ist, so verringert sich der Gehalt an Titanoxid im Überzug; If 0 <t₂ is <t, the content of titanium oxide is reduced in the coating; wenn t₃ < t₂ if t₃ <t₂
      Figure imgb0001
      ist, werden die Überzüge mulmig und weisen infolge des Einschlusses von Titanhydroxid-Teilchen eine schlechte Qualität auf. is, the coatings are uncomfortable and have a poor quality due to the inclusion of titanium hydroxide particles.
    • [0021] [0021]
      Bei der Elektrolyse hydrolisiert sich das Titantrichlorid unter Entstehung von Titanoxid-Titanhydroxid-Teilchen in der Nähe der Katode infolge der Erreichung des pH-Wertes der Hydratbildung von Titanionen. In the electrolysis, the titanium trichloride hydrate of titanium ions is hydrolyzed with the formation of titanium oxide, titanium hydroxide particles in the vicinity of the cathode due to the attainment of the pH.
    • [0022] [0022]
      Infolge der potentiostatischen Impulsverhältnissen der elektrolytischen Abscheidung vergrößert sich dabei die Menge von Titanoxid-Titanhydroxid-Teilchen infolge starker Stromsprünge zum Zeitpunkt des Eintritts der Potentialimpulse. Due to the potentiostatic pulse conditions of the electrolytic deposition, while the amount of titanium oxide, titanium hydroxide particles increases due to strong current jumps at the time of entry of the potential pulses. An der Katode (Unterlage) entladen sich die sich in seiner Nähe befindenden Nickelionen, indem sie in metallische Phase übergehen und dabei die Titanoxid-Teilchen mitgreifen, wodurch an der Katode (Metallunterlage) sich der Verbundwerkstoffüberzug abscheidet. At the cathode (substrate), the that are available in its vicinity nickel ions discharged, while passing in metallic phase and thereby mitgreifen the titanium oxide particles, thus at the cathode (metal base) separates the composite coating.
    • [0023] [0023]
      Das Vorliegen harmonischer Schwingungen des Anodenstromes fördert die Vergrößerung der Menge an Titanoxid in der an der Katode angrenzenden Schicht, schließt die Möglichkeit der Auflösung einer erneut abgeschiedenen Überzugsschicht aus, bewirkt das Vermischen der Titanoxid-Teilchen in der an der Katode angrenzenden Schicht, wodurch die gleichmäßige Verteilung derselben in der Überzugschicht gefördert wird. The presence of harmonics of the anode current promotes the increase of the amount of titanium oxide in the adjacent to the cathode layer includes the possibility of resolution of a re-deposited coating layer, causes the mixing of the titanium oxide particles in the adjacent to the cathode layer, whereby the uniform distribution of the same is conveyed into the coating layer.
    • [0024] [0024]
      Zu einer eindeutigeren Erläuterung des Wesens der vorliegenden Erfindung werden nachstehend Beispiele für ihre konkrete Realisierung angeführt. For a clearer explanation of the nature of the present invention, examples of its concrete realization are given below.
    • [0025] [0025]
      Man stellte eine Elektrolytlösung her, wofür man 200 g Nickeldichlorid nahm und dieses in 1 l Wasser auflöste. There were prepared an electrolytic solution, for which we took 200 g nickel dichloride and dissolved it in 1 l of water. Dann setzte man der hergestellten Lösung eine 15%ige wässerige Titantrichloridlösung in einer Menge von 300 ml zu. Was then added to the solution prepared in a 15% aqueous titanium trichloride solution to in an amount of 300 ml. Dabei wurde maximale elektrische Leitfähigkeit der Lösung erreicht. Here, maximum electric conductivity of the solution was reached.
    • [0026] [0026]
      Metallunterlagen, beispielsweise, aus Kupfer, Titan, Nickel, mit Abmessungen von 10 cm² x 0,1 cm ätzte man in einem beliebigen geeigneten bekanntem Ätzmittel zwecks Beseitigung von Oxidfilm, und dann wurden sie in destilliertem Wasser gewaschen. Metal substrates, for example, of copper, titanium, nickel, having dimensions of 10 cm x 0.1 cm is etched in any suitable known etchant for the purpose of removal of oxide film, and then they were washed in distilled water. Die elektrolytische Abscheidung führte man in Bädern, die 2 l des hergestellten Elektrolyts enthalten. The electrolytic deposition was conducted in baths containing 2 l of the electrolyte prepared. Dabei wurden Nickel- beziehungsweise Titananoden genommen. Here, nickel or titanium anodes were taken. Die elektrolytische Abscheidung führte man unter den potentiostatischen Impulsverhältnissen durch, indem man die Parameter der Impulsverhältnisse in dem erfindungsgemäßen Bereich wählt. The electrolytic deposition was conducted under the potentiostatic pulse conditions by choosing the parameters of the pulse conditions in the inventive range. Information über die Beispiele ist in Tabelle 1 zusammengefaßt. Information about the examples is summarized in Table 1 below.
      Figure imgb0002
      Figure imgb0003
      Figure imgb0004
    • Industrielle Anwendbarkeit industrial applicability
    • [0027] [0027]
      Verfahren zum Auftragen eines Verbund-Nickel-Titanoxid-Überzuges kann in der Produktion von Schutzüberzügen (korrosions- und feuerbeständigen) sowie in der Produktion von Elektrodenwerkstoffen, die für die Durchführung von Oxydationsprozessen eingesetzt werden, Anwendung finden. A method for applying a composite nickel-titanium oxide coating can be found in the production of protective coatings (corrosion-resistant and fire-resistant) as well as in the production of electrode materials that are used for performing oxidation processes, application.
    Non-Patent Citations
    Reference
    1 *Keine weitere Entgegenhaltungen.
    2 *See also references of WO8901997A1
    Referenced by
    Citing PatentFiling datePublication dateApplicantTitle
    US7563935Feb 15, 2008Jul 21, 2009Phares Pharmaceutical Research N.V. et al.Crystal forms of astaxanthin
    WO2006082218A1 *Feb 2, 2006Aug 10, 2006Siemens AktiengesellschaftSurface comprising a microstructure that reduces wettability and method for the production thereof
    Classifications
    International ClassificationC25B11/04, C25D15/00, C25D15/02
    Cooperative ClassificationC25B11/0478, C25D15/00, C25D15/02
    European ClassificationC25D15/00, C25D15/02, C25B11/04D4
    Legal Events
    DateCodeEventDescription
    Sep 13, 1989AKDesignated contracting states:
    Kind code of ref document: A1
    Designated state(s): CH DE FR GB LI
    Sep 13, 198917PRequest for examination filed
    Effective date: 19890426
    Mar 21, 1990A4Despatch of supplementary search report
    Effective date: 19900129
    Oct 9, 199117QFirst examination report
    Effective date: 19910823
    Jul 8, 199218DDeemed to be withdrawn
    Effective date: 19920103