Account Options

  1. Sign in
    Screen reader users: click this link for accessible mode. Accessible mode has the same essential features but works better with your reader.

    Patents

    1. Advanced Patent Search
    Publication numberEP0410034 A1
    Publication typeApplication
    Application numberEP19890113792
    Publication dateJan 30, 1991
    Filing dateJul 26, 1989
    Priority dateJul 26, 1989
    Also published asCA2021879A1, DE58909119D1, EP0410034B1, US5146051
    Publication number1989113792, 89113792, 89113792.9, EP 0410034 A1, EP 0410034A1, EP-A1-0410034, EP0410034 A1, EP0410034A1, EP19890113792, EP89113792
    InventorsDietmar Hermann
    ApplicantSiemens Audiologische Technik GmbH
    Export CitationBiBTeX, EndNote, RefMan
    External Links: Espacenet, EP Register
    Method and device for manufacturing a housing shell for an in-the-ear hearing aid, and a housing shell produced according to this method
    EP 0410034 A1
    Abstract
    A positive ear impression (1) is machined to the intended size, fitted in the proximal region with a core (4), immersed in wax and fitted into a receptacle, which is then filled with the casting compound (8) for the negative mould. After taking out the ear impression (1) and removing the core (4), a flexible strand (11) is drawn into the negative mould (5). The strand (11) is laid along the inside wall of the negative mould and then the housing shell material is filled into the negative mould. After a short polymerisation time, excess material is drained and, after curing, the housing shell (18) is taken out of the negative mould (5). By drawing a strand insert (12, 13) out of the channel (19) moulded into the housing shell (18) and after removing protruding sprue pieces, the housing shell with a venting channel moulded in it is obtained. <IMAGE>
    Images(2)
    Previous page
    Next page
    Claims(9)  translated from German
    1. Verfahren zur Herstellung einer Gehäuseschale eines In-demOhr-Hörgerätes, gekennzeichnet durch die folgenden Verfahrensschritte: 1. A method for producing a housing shell of an in-demOhr hearing aid, characterized by the following process steps:
    - Herstellung eines positiven Ohrabdruckes (1) vom Ohr des Hörgeschädigten, - producing a positive ear impression (1) from the ear of the person with impaired hearing,
    - Bearbeiten des Ohrabdruckes (1) auf die vorgesehene Größe der zu fertigenden Gehäuseschale (18), - processing the ear impression (1) to the intended size of the manufactured housing shell (18),
    - Ansetzen eines Kerns (4) an den Ohrabdruck (1) im gehörgangseitigen, proximalen Bereich, - applying a core (4) to the ear mold (1) in the ear canal side, the proximal region,
    - Versehen der Außenseite des Ohrabdruckes (1) mit einer Separierschicht, wie Wachs od.dgl., - providing the outer surface of the ear impression (1) with a separating film, such as wax or the like.
    - Herstellung einer Negativform (5) des Ohrabdruckes (1), - producing a negative mold (5) of the ear impression (1),
    - Herausnahme des Ohrabdruckes (1) aus der Negativform (5) und Entfernen des Kerns (4), - removal of the ear impression (1) from the negative form (5) and removing the core (4),
    - Einziehen eines flexiblen Stranges (11), Rohres, Schlauches od.dgl. - drawing a flexible strand (11), pipe, hose or the like. in die Negativform (5), in the negative mold (5),
    - Verlegung des Stranges (11) längs der Innenwand der Negativform (5), - laying the strand (11) along the inner wall of the negative mold (5),
    - Eingießen von Kunststoff in die Negativform (5), - pouring plastic into the negative form (5),
    - Ausgießen des für die herzustellende Gehäuseschale (18) nicht erforderlichen, überschüssigen Materials aus der Negativform (5) nach kurzer Polymerisationszeit, - pouring the material for the manufactured housing shell (18) is not required, excess of the negative mold (5) after a short polymerization time,
    - Aushärten (Polymerisieren) der Gehäuseschale (18) in der Negativform (5), - hardening (polymerizing) the housing shell (18) in the negative mold (5),
    - Herausnahme der Gehäuseschale (18) aus der Negativform (5) und - Herausziehen einer Strang-, Rohr- bzw. Schlaucheinlage (12, 13) aus dem in die Gehäuseschale (18) eingeformten Kanal (19). - removing the housing shell (18) from the negative form (5), and - pulling out a strand, pipe or hose liner (12, 13) from the housing into the shell (18) molded-in channel (19).
    2. Verfahren nach Anspruch 1, dadurch gekennzeichnet, daß der flexible Strang (11), das Rohr, der Schlauch od.dgl. 2. The method according to claim 1, characterized in that the flexible strand (11), the pipe, the hose or the like. durch die Höhlung (10) der Negativform (5) und die vom Kern (4) gebildete Öffnung (9) in der Negativform gezogen sowie in der Höhlung der Negativform im vorgesehenen Ver lauf an der Innenwand der Negativform verlegt wird und die Strangenden (16, 17) an der Außenseite der Negativform fixiert werden. is opening formed through the cavity (10) of the negative mold (5) and the core (4) (9) drawn into the negative mold and transferred to the cavity of the negative form in the intended Ver run on the inner wall of the negative mold and the strand ends (16, 17) are fixed to the outside of the negative form.
    3. Vorrichtung zur Durchführung des Verfahrens nach einem der Ansprüche 1 und 2, gekennzeichnet durch - eine Ohrabdruckmasse für den positiven Ohrabdruck (1), 3. Apparatus for carrying out the method according to any one of claims 1 and 2, characterized by - an ear impression material for the positive ear mold (1),
    - eine Schneid-, Fräs-, Schleifeinrichtung od.dgl. - or the like, a cutting, milling, grinding device. zum Bearbeiten des Ohrabdruckes (1) auf die vorgesehene Größe bzw. Form, for processing the ear impression (1) to the intended size or shape,
    - einen an den Ohrabdruck (1) ansteckbaren Kern (4), - attachable one to the ear mold (1) core (4),
    - eine Auftrageinrichtung für eine Separierschicht, ein Wachsbad od.dgl., - or the like an application device for a separating film, a wax bath.
    ine Form, einen Behälter (6) od dgl. zur Aufnahme des Ohrabdruckes (1) und zum Einfüllen einer Gießmasse (8) für die Negativform (5), ine shape, a container (6) or the like. for receiving the ear impression (1) and for filling a casting material (8) for the negative form (5),
    - einen flexiblen Strang (11), ein Rohr, einen Schlauch od.dgl. - or the like a flexible strand (11), a tube, a hose. zur Einlage in die Negativform (5), der sich durch den Hohlraum (10) der Negativform und deren vom Kern (4) gebildete Öffnung (9) erstreckt, Opening formed for insertion into the negative mold (5) extending through the cavity (10) of the negative mold and the core (4) (9),
    - ein gieß- oder spritzbares Gehäuseschalen-Material, - a pourable or sprayable housing shells material,
    - eine Einrichtung zum Aushärten (Polymerisieren) der Gehäuseschale (18) und - means for curing (polymerizing) the housing shell (18) and
    - eine Entnahme für eine Strang-, Rohr- oder Schlaucheinlage (12, 13) aus dem in der Gehäuseschale gebildeten Kanal (19). - a removal of a strand, pipe or hose liner (12, 13) from the formed channel in the housing shell (19).
    4. Vorrichtung nach Anspruch 3, dadurch gekennzeichnet, daß der Durchmesser des Kerns (4) etwa dem Strang-, Rohr- bzw. Schlauchdurchmesser (D bzw. d) entspricht und durch den Durchmesser (d) der Strang-, Rohr- bzw. Schlaucheinlage (12 bzw. 13) der lichte Kanaldurchmesser bestimmbar ist. 4. Apparatus according to claim 3, characterized in that the diameter of the core (4) approximately corresponds to the strand, pipe or tube diameter (D or d) and by the diameter (d) of the strand, pipe or hose insert (12 or 13), the clear channel diameter can be determined.
    5. Vorrichtung nach Anspruch 3, dadurch gekennzeichnet, daß der flexible Strang (11) aus einer bieg baren Seele (12) besteht, auf der insbesondere Perlen, Kügelchen, Walzen, Röllchen (14) od.dgl. 5. Apparatus according to claim 3, characterized in that the flexible strand (11) from a bendable cash core (12), in particular on the beads, spheres, cylinders, rolls (14) or the like. insbesondere aus Kunststoff aufgereiht sind, deren Bohrung den Kanaldurchmesser bestimmt und deren Außenkontur beim Gießen der Gehäuseschale vom Schalenmaterial umschlossen wird und die Kanalwandung bildet. are lined up in particular of plastics material, the bore of which the channel diameter determines and whose external contour is enclosed in the casting of the housing shell of shell material and forms the channel wall.
    6. Vorrichtung nach Anspruch 3 und 5, dadurch gekennzeichnet, daß die Seele des Stranges (11) aus einem aus dem gegossenen Kanal (19) herausziehbaren, sich nicht mit dem Gehäueschalenmaterial verbindenden Material besteht. 6. Apparatus according to claim 3 and 5, characterized in that the core of the strand (11) is withdrawable from the cast a channel (19), not connected with the Gehäueschalenmaterial material.
    7. Vorrichtung nach einem der Ansprüche 3 bis 6, dadurch gekennzeichnet daß der flexible Strang (11) aus einem mit einem Mantel (13) versehenen Metallfaden (12) besteht, auf dem Kügelchen, Perlen (14) od.dgl. 7. Device according to one of claims 3 to 6, characterized in that the flexible strand (11) of a with a jacket (13) provided with metal filament (12), on the bead, beads (14) or the like. aus einem dem Material der Gehäuseschale (18) entsprechenden Kunststoff aufgereiht sind. arrayed from a material of the housing shell (18) corresponding plastic.
    8. Gehäuseschale eines In-dem-Ohr-Hörgerätes nach Anspruch 1, in die ein Kanal (19 eingeformt ist, dessen Wandung aus dem Material eines eingegossenen oder eingespritzten Stranges (11), Rohres, Schlauches od.dgl. besteht und wobei der Strang-, Rohr-bzw. Schlauchmantel im Material der Gehäuseschale eingebettet ist. 8. housing shell of an in-the-ear hearing aid as claimed in claim 1, in which a passage (19 is formed (whose wall consists of the material of a cast-in or injected strand 11), pipe, hose or the like., And wherein the strand -, pipe or hose mantle is embedded in the material of the housing shell..
    9. Gehäuseschale nach Anspruch 8, in die ein Kanal (19) eingeformt ist, dessen Wandung aus in einer Reihe aneinander angeordneten Kunststoff-Kügelchen, -Perlen (14) od.dgl. 9. housing shell according to claim 8, in which a channel (19) is formed, the wall of which from each other arranged in a number of plastic beads, beads (14) or the like. besteht, die für den Kanal eine durchgehende Bohrung aufweisen und deren kugel- bzw. perlenförmige Mantelabschnitte (14, 15) vom Material der Gehäuseschale zu einer durchgehenden Kanalwand ausgefüllt und mit der Gehäuseschale selbst materialeinheitlich verbunden sind. is, having a through-bore for the channel and the ball or bead-shaped cover portions (14, 15) are filled by the material of the housing shell to form a continuous channel wall and itself connected integrally with the housing shell.
    Description  translated from German
    • [0001] [0001]
      Verfahren und Vorrichtung zur Herstellung einer Gehäuseschale eines In-dem-Ohr-Hörgerätes sowie nach dem Verfahren hergestellte Gehäuseschale Method and apparatus for producing a housing shell of an in-the-ear hearing aid as well as by the process housing shell produced
    • [0002] [0002]
      Die Erfindung bezieht sich auf ein Verfahren zur Herstellung einer Gehäuseschale eines In-dem-Ohr-Hörgerätes. The invention relates to a method for producing a housing shell of an in-the-ear hearing aid. Sie bezieht sich ebenfalls auf eine Vorrichtung zur Durchführung eines solchen Verfahrens sowie auf eine Gehäuseschale, die nach dem besonders angepaßten Verfahren hergestellt ist. It also relates to an apparatus for performing such a method as well as a housing shell, which is prepared according to the method specially adapted.
    • [0003] [0003]
      Bei In-dem-Ohr-Hörgeräten unterscheidet man kundenspezifische Geräte (Custom Made), die entweder als Concha-Geräte überwiegend in der Ohrmuschel getragen werden und lediglich mit einem Ohranpaßstück in den Gehörgang ragen (Siemens Hinweise zur Anfertigung von Ohrpaßstücken für Im-Ohr-Geräte SIRETTINA PA 3801, Bestell-Nr. MH 170/1418, ausgegeben 1980) oder als Gehörganggeräte weitgehend im Gehörgang sitzen (DE-GM 84 36 783; EP-A0 248 955). For in-the-ear hearing aids, a distinction customized devices (Custom Made) that are worn either as Concha devices mainly in the outer ear and with only a Ohranpaßstück into the ear canal project (Siemens instructions for making Ohrpaßstücken for in-ear device SIRETTINA PA 3801, order no MH 170/1418, issued 1980), or as a largely ear canal devices sit in the ear canal (DE-GM 84 36 783;. EP-A0 248 955). Außerdem sind noch Modul-Im-Ohr-Geräte bekannt (EP-A-0 206 213; DE-C-36 16 648), die aus serienmäßig gefertigten Modul-Hörgeräten bestehen, die in nach dem individuellen Abdruck des Patienten gefertigte Schalen oder Otoplastiken eingebaut werden. Additionally, there are module-in-ear devices are known (EP-A 0 206 213; DE-C-36 16 648), which consist of manufactured in series module hearing aids, which in made after the individual impression of the patient shells or earmoulds to be built in.
    • [0004] [0004]
      Neben einer Schalleintrittsöffnung zum Mikrofon und einem Schallkanal vom Hörer durch einen Schallausgang zum Trommelfell des Hörgeräteträgers werden Im-Ohr-Hörgeräte mit einer weiteren Öffnung und einem Kanal versehen, der eine Belüftung des durch das Gerät an sich abgeschlossenen Gehörgangs ermöglicht. In addition to a sound inlet opening to the microphone and a sound canal of the listener by a sound output to the ear drum of the hearing aid in-ear hearing aids with a further opening and a channel are provided, which allows a ventilation of the closed by the device itself ear canal. Dieser zusätzliche, auch als Vent bezeichnete Kanal kann je nach Auslegung (Verlauf, Durchmesserbohrung) neben dem Druckausgleich auch zur Beeinflussung des Frequenzganges des Hörgerätes dienen und an den Gehörschaden des Hörgeräteträgers angepaßt sein. This additional, also referred to as Vent channel can also be used in addition to the pressure compensation for influencing the frequency response of the hearing aid and be adapted to the hearing loss of the hearing aid depending on the design (leveling, bore diameter).
    • [0005] [0005]
      Zur Herstellung eines Im-Ohr-Gerätes mit Ventkanal wird nach einem herkömmlichen Verfahren zB durch den Hörgeräte-Akusti ker ein positiver Abdruck vom Ohr des Hörgeschädigten hergestellt. For the preparation of an in-ear device with vent channel ker a positive impression of the ear of the hearing impaired is produced by a conventional method, for example, by the hearing aid akusti. Dieser Abdruck wird insbesondere auf der dem Trommelfell abgewandten Seite, seinem distalen Abdruckende plan beschnitten, mit einem Trennmittel versehen - zweckmäßigerweise wird der Ohrabdruck ganz in Wachs getaucht - und unter Verwendung einer passenden Schale wird eine Negativform des Ohrabdruckes gegossen. This impression is in particular on the side opposite the eardrum side, its distal imprint end trimmed flat, provided with a release agent - expediently the ear impression is completely dipped in wax - and using a suitable shell has a negative of the ear impression is poured. Nach der Abnahme des Ohrabdruckes aus der Negativform wird diese zur Herstellung einer Gehäuseschale für das Hörgerät mit Kunststoffmaterial (zB Polymethylmetacrylat, bekannt unter der Handelsbezeichnung Acryl PMMA) gefüllt. After removal of the ear impression from the negative mold these for manufacturing a housing shell for the hearing aid with a plastic material (for example polymethyl methacrylate, known under the trade designation Acrylic PMMA) is filled. Nach kurzer Polymerisationszeit wird überschüssiges Kunststoffmaterial aus der Negativform ausgegossen. After a short polymerization excess plastic material is poured from the negative mold. Nach dem Gießen oder Spritzen wird die Negativform mit der darin befindlichen Gehäuseschale zB in einen Drucktopf gesetzt und über eine Zeitdauer von etwa 10 min der Kunststoff ausgehärtet (polymerisiert). After casting or molding, the negative mold is set with the housing shell located therein, for example in a pressure pot and cured over a period of about 10 min, the plastic (polymerized). Danach wird die Gehäuseschale aus der Negativform genommen. After that, the shell is removed from the negative mold.
    • [0006] [0006]
      Der aus der Negativform genommene, ausgehärtere Rohling der Gehäuseschale wird, wie in Figur 5 durch die Linien cc und ee angedeutet, proximal und distal von überschüssigem Kunststoff-Material freigelegt. The taken out of the negative mold, being harder blank of the housing shell, as indicated in Figure 5 by the lines cc and ee, proximal and distal exposed excess plastic material. Das Freilegen erfolgt durch Schleifen oder Absägen oder Fräsen und Polieren. The exposure is carried out by grinding or sawing or milling and polishing. Außerdem wird am proximalen Ende des Gehäuseschalen-Rohlings eine Öffnung freigelegt (gebohrt, aufgefräst). In addition, an opening at the proximal end of the housing shell preform is exposed (drilled, reamed). Anschließend wird die Schale poliert. Subsequently, the shell is polished.
    • [0007] [0007]
      Zur Herstellung eines Belüftungskanals bzw. Vent wird in zeitaufwendiger und mit großer Sorgfalt auszuführender Arbeit vom distalen oder proximalen Ende her mittels eines Fräswerkzeuges über die ganze Schalenlänge in die Innenwand der Gehäuseschale eine Rille eingearbeitet. For the manufacture of a ventilation channel or Vent work to be executed from the distal or proximal end is incorporated by means of a milling tool over the entire shell length in the inner wall of the housing shell, a groove in time consuming and with great care. In diese Rille wird ein Silikonschlauch, der eine Seele aus Lötzinn ummantelt, gelegt und an der Schale von außen verdrillt. In this groove a silicone tube, which coated a core of solder down and twisted to the shell from the outside. Nunmehr wird eine Mischung des Schalen-Kunststoffmaterials angerührt und mit einem Werkzeug (Spatel) über den Mantel des Silikonschlauches aufgebracht, derart, daß der Schlauch im Inneren der Gehäuseschale mit Schalenmaterial durchgehend abgedeckt und eingebettet wird. Next, a mixture of the tray the plastic material is mixed and that the tube in the interior of the housing shell is covered throughout with shell material and embedded applied with a tool (spatula) via the jacket of the silicone tube so. Zum Aushärten des Abdeckmaterials für den Silikonschlauch wird der Rohling der Gehäuseschale nochmals für eine gewisse Zeitdauer zB in einen Drucktopf gesetzt. For curing of the masking material for the silicone tube, the blank of the housing shell is again set for a certain period of time, for example in a pressure pot. Anschließend wird das überschüssige Abdeckmaterial abgefräst und abgeschliffen, um Einbauraum in der Gehäuseschale für die Bauteile des Hörgerätes zu schaffen. Subsequently, the excess cover material is milled and ground to provide installation space in the housing shell for the components of the hearing aid. Dabei ist zu beachten und zu überprüfen, daß der nach dem Herausziehen des Silikonschlauches entstehende Kanal einen geschlossenen Mantel aufweist. It should be noted and to check that the resulting, after withdrawal of the silicone tube channel has a closed jacket.
    • [0008] [0008]
      Der Rohling der Gehäuseschale wird im folgenden im Concha-Bereich (distales Ende) und im Gehörgang-Bereich (proximales Ende) auf die vorgesehene Größe der Gehäuseschale zurückgeschliffen. The blank of the housing shell is ground back in the following in the Concha area (distal end) and in the ear canal area (proximal end) to the intended size of the housing shell. Abschließend kann am distalen Ende eine Faceplate und am proximalen Ende eine Abschlußplatte bzw. Cerumenkappe od.dgl. Finally, a closing plate or the like at the distal end Cerumenkappe a faceplate and at the proximal end. angebracht werden. be attached. Dabei sind gegebenenfalls die Ein- und Austrittsöffnungen des Belüftungskanals (Vent) zu bohren. The inlet and outlet openings of the ventilation duct are optionally (Vent) to drill. Endet der Vent vor der Cerumenkappe im Bereich des proximalen Endes, so ist eine Öffnung in die Wand der Gehäuseschale zu bohren. Ends of the vent prior to Cerumenkappe in the area of ​​the proximal end, an opening in the wall of the housing shell is to be drilled.
    • [0009] [0009]
      Aufgabe der Erfindung ist es, ein Verfahren und eine Vorrichtung anzugeben sowie die Gehäuseschale eines Im-Ohr-Hörgerätes so auszubilden, daß sich ein Im-Ohr-Hörgerät mit weniger Aufwand herstellen und technisch verbessern läßt. The object of the invention is to provide a method and an apparatus as well as to design the housing shell of an in-ear hearing aid that can be an in-ear hearing aid manufactured with less effort and technically improved.
    • [0010] [0010]
      Diese Aufgabe wird mit den kennzeichnenden Merkmalen des Verfahrens des Anspruches 1 gelöst. This object is achieved with the characterizing features of the method of claim 1. Sie wird ebenfalls gelöst durch eine Vorrichtung nach Anspruch 3 zur Durchführung eines solchen Verfahrens. It is also achieved by an apparatus according to claim 3 for carrying out such a method. Eine besonders vorteilhafte, unter Anwendung des Verfahrens nach Anspruch 1 herstellbare Gehäuseschale gibt Anspruch 8 an. A particularly advantageous, producible using the method according to claim 1 housing shell are to claim. 8
    • [0011] [0011]
      Nach der Erfindung kann der Kanal für die Belüftung bzw. der Venting-Kanal bereits beim Gießen oder Spritzen des Rohlings der Gehäuseschale in einem Arbeitsgang mit hergestellt werden. According to the invention, the channel for the ventilation or the venting channel may already be produced in one operation with the casting or injection molding of the blank of the housing shell. Dabei kann dieser Kanal oder können mehrere solcher Kanäle entsprechend den Platzverhältnissen für das Hörgerät in der Negativform wie vorgesehen verlegt und ausgerichtet werden. In this case, this channel or a number of such channels corresponding to the space conditions for the hearing aid in the negative mold can be installed as intended and aligned. Die Platzverhältnisse, die Ventinggröße (Kanallänge, Kanalverlauf und Kanaldurchmesser) sind bereits in der Negativform berücksichtigbar und variierbar, dh die Kanallage, Kanalgröße, Kanalform usw. sind bereits in der Negativform vorbestimmbar. The space that Ventinggröße (channel length, channel course and channel diameter) are varied and berücksichtigbar already in the negative mold, ie, the channel position, channel size, channel shape, etc. are predeterminable in the negative mold. Es läßt sich ferner eine gleichmäßige Wandstärke des Ventingkanals gegenüber der Gehäuseschale erreichen, da der in die Gehäuseschale gleich mit eingegossene oder eingespritzte Strang-, Rohr- oder Schlauchmantel einen gleichen Abstand zum Schalenmaterial bzw. zur Schale ermöglicht. It can be furthermore a uniform wall thickness of the venting channel opposite the housing shell achieve since allows in the housing shell with the same cast or injected strand, pipe or hose jacket has a same distance from the shell material or to the shell. Durch Wegfall des Fräsvorganges für eine Rille, durch den Wegfall des Einbettens und des Materialauftrages auf den eingelegten Schlauch, durch den Wegfall einer zweiten Aushärt-und Wärmebehandlung und da Nacharbeiten weitgehend entfallen, wird die Herstellung der Gehäuseschale wesentlich vereinfacht und ist weniger zeitaufwendig. By eliminating the milling operation for a groove, due to the elimination of embedding and the material application to the inserted tube, due to the elimination of a second cure and heat treatment and then reworking largely dispensed with, the production of the shell is considerably simplified and less time-consuming.
    • [0012] [0012]
      Weitere Vorteile und Einzelheiten der Erfindung ergeben sich aus der nachfolgenden Beschreibung eines Ausführungsbeispieles anhand der Zeichnung und in Verbindung mit den Merkmalen der Unteransprüche. Further advantages and details of the invention will become apparent from the following description of an embodiment with reference to the drawings and in conjunction with the features of the subclaims.
    • [0013] [0013]
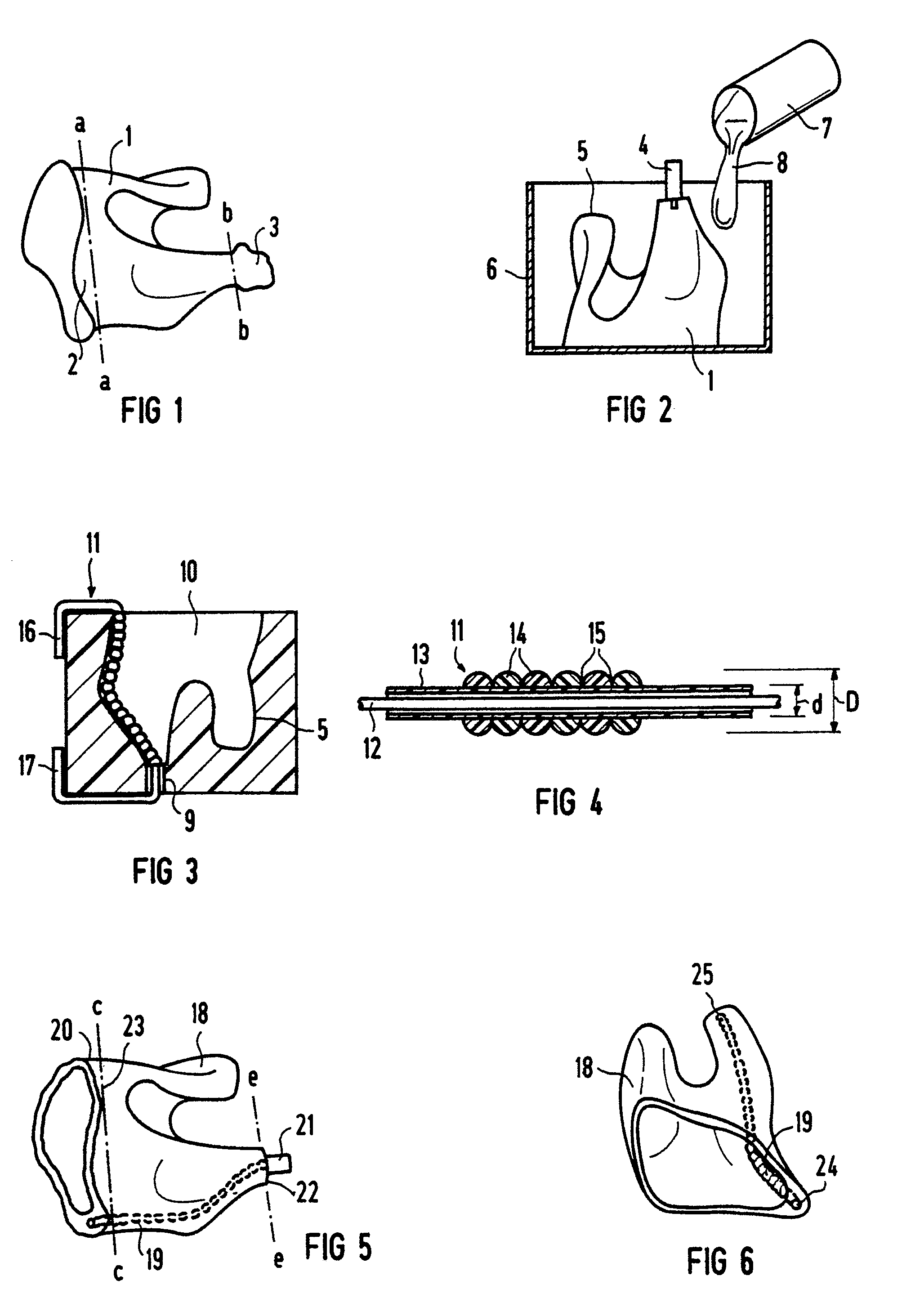
      Figur 1 zeigt einen positiven Ohrabdruck 1, der durch Abtrennen eines überstehenden Materialabschnittes 2 im Bereich seines distalen Endes, längs der Schnittlinie aa, bzw. eines Angußstückes 3 im Bereich seines proximalen Endes, längs der Schnittlinie bb, aus einem Rohling gewonnen wird. 1 shows a positive ear mold 1, which by cutting off a projecting material portion 2 in the region of its distal end, taken along section line aa, or a sprue piece 3 in the area of ​​its proximal end, along the section line bb, is made from a blank.
    • [0014] [0014]
      Figur 2 zeigt den Ohrabdruck 1 gemäß Figur 1, der am gehörgangseitigen Bereich (proximalen Ende) mit einem Kern 4 bestückt und zum Gießen einer Negativform 5 in einem Behälter 6 angeordnet ist. 2 shows the ear mold 1 according to figure 1, the (proximal end) is on the auditory canal side portion equipped with a core 4 and arranged for casting a negative mold 5 in a container. 6 Im Ausführungsbeispiel wird mittels eines Gefäßes 7, in dem sich ein Kunststoffmaterial, eine Gießmasse 8 od.dgl. In the embodiment, in which a plastic material, a casting material 8, or the like by means of a vessel. 7 befindet, die Negativform des Ohrabdruckes 1 gegossen. is poured the negative of the ear impression. 1 Vor dem Gießen oder Spritzen der Negativform wird der Ohrabdruck 1 zweckmäßigerweise zuerst ganz in Wachs od.dgl. Prior to casting, or spraying of the negative mold of the ear impression 1 is expediently first or the like all in wax. getaucht, um eine Trenn- bzw. Separierschicht zu erzielen. dipped to obtain a separating agent or separating film. Durch die Wachsschicht ist auch ein Ausgleich für einen eventuellen späteren Materialschwund erzielbar. Through the wax layer also compensate any subsequent material shrinkage can be achieved.
    • [0015] [0015]
      In Figur 3 ist die Negativform 5 nach Herausnahme des Ohrabdruckes 1 und nach Abnahme des Kerns 4 dargestellt, wobei in der nunmehr mit dem Negativ des Ohrabdruckes nach oben gekippten Form im Boden der Form eine durch den Kern hinterlassene Öffnung 9 vorgesehen ist. In Figure 3, the female mold 5 is shown after removal of the ear impression 1 and after removal of the core 4, wherein a left by the core opening 9 is provided in the now with the negative of the ear impression upwardly tilted shape in the bottom of the mold. Wie in dieser Abbildung vergrößert gezeichnet ist, wird durch die Höhlung 10 der Negativform und durch die Öffnung 9 ein flexibler Strang 11, ein Rohr, ein Schlauch od.dgl. is shown as enlarged in this figure, by the concavity 10 of the negative mold and through the opening 9 a flexible string 11, a tube, a hose or the like. verlegt bzw. eingezogen, derart, daß er an der Innenwand der Negativform in der Weise verläuft, wie der Verlauf eines Kanals zur Belüftung oder als Vent in der herzustellenden Gehäuseschale beabsichtigt ist. moved or retracted, in such a manner that it extends to the inner wall of the negative mold in such a manner as the course of a channel for venting or as a vent in the housing shell is intended to be produced.
    • [0016] [0016]
      Ein vergrößert dargestellter Abschnitt eines flexiblen Stranges 11 ist in einer Ausführung in Figur 4 dargestellt. An enlarged portion shown a flexible string 11 is shown in one embodiment in FIG. 4 Gemäß diesem Ausführungsbeispiel dient zur Herstellung des Kanals ein flexibler Strang, bestehend aus einer Seele 12 aus biegbarem Material, zB einem Metallfaden, einem den Metallfaden umgebenden Schlauchmantel 13 - insbesondere einem Mantel, dessen Material beim Gießen oder Spritzen der Gehäuseschale keine Verbindung mit dem Schalenmaterial eingeht - und auf dem Schlauchmantel 13 aufgereihten Kügelchen 14, Perlen od.dgl., die vorzugsweise aus ähnlichem oder demselben Kunststoffmaterial bestehen wie das Material, das zum Herstellen der Gehäuseschale verwendet wird. In this embodiment, a metal filament, a surrounding the metal filament hose mantle 13 is used for the manufacture of the channel, a flexible strand, formed of a core 12 of flexible material, for example - in particular a jacket, its material does not react with the shell material during casting or molding of the housing shell - and lined up on the hose mantle 13 14 beads, beads or the like, which preferably consist of a similar or the same plastic material as the material used for manufacturing the housing shell.. Der Metallfaden, zB Lötzinn, soll nicht federelastisch, sondern leicht und dauerhaft verformbar sein. The metal filament, such as solder, is not to be resilient, but easily and permanently deformed. Die die Flexibilität des Stranges 11 ermöglichenden Nischen 15 zwi schen den Kügelchen 14 werden beim Gießen oder Spritzen der Gehäuseschale vom Schalenmaterial ausgefüllt, so daß eine gleichmäßig starke Wandstärke für den auszubildenden Kanal entsteht. The flexibility of the strand 11 enabling niches 15 Zvi rule the beads 14 to be filled in the casting or injection molding of the housing shell from the shell material, so that a uniformly thick wall thickness for the channel to be formed is formed. Während der Durchmesser des zur Herstellung der Öffnung 9 in der Negativform 1 verwendeten Kerns 4 etwa dem Aussendurchmesser D des Stranges 11 bzw. nach Ausführungsbeispiel dem Außendurchmesser d des Schlauches 13 entspricht, wird mit dem Durchmesser d, gebildet von der Stärke des Metallfadens 12 oder vom Durchmesser des Silikonmantels 13 oder vom Bohrungsdurchmesser der Kügelchen 14, der lichte Querschnitt des Kanals bestimmt. While the diameter of the core used in the negative mold 1 for the production of the opening 9 4 about the outer diameter D of the strand corresponding to d of the tube 13 to the outer diameter 11 or according to embodiment, with the diameter d, are formed on the strength of the metal thread 12 or by diameter of the silicone jacket 13 determines or the bore diameter of the beads 14, the clear cross section of the channel.
    • [0017] [0017]
      Der flexible Strang 11 trägt auf dem Abschnitt, der durch die Negativform geführt ist und der zur Bildung für einen Kanal in der Gehäuseschale dient, die Kügelchen 14 aus Polymethylmetacrylat und wird mit seinen Enden 16, 17 außen an der Negativform befestigt oder verdrillt. The flexible strand 11 carries on the portion, which is guided through the negative mold and which serves to form a channel in the housing shell, the beads 14 made of polymethylmethacrylate, and is fixed externally or by its ends 16, 17 of the negative mold twisted. Es wird darauf geachtet, daß die Kügelchen 14 am vorgesehenen Verlauf an der Innenwand der Negativform anliegen, dann wird die Negativform zum Herstellen einer Gehäuseschale 18 mit Polymethylmetacrylat ausgegossen oder ausgespritzt. Care is taken that the beads 14 applied at the intended course on the inner wall of the negative mold, the negative mold for manufacturing a housing shell 18 is filled with polymethyl methacrylate or ejected. Dabei wird nach einer kurzen Polymerisationszeit überschüssiges Kunststoffmaterial aus der Negativform entleert und dann die Negativform zB in einen Drucktopf zum Aushärten der Gehäuseschale 18 gestellt. In this case, excess plastic material is discharged from the negative mold and then placed in the negative mold, for example, a pressure vessel for curing of the housing shell 18 after a short polymerization time.
    • [0018] [0018]
      Beim Herstellen der Gehäuseschale 18 verbindet sich die Schalen-Guß- bzw. Spritzmasse mit den Kügelchen 14 des Stranges 11. Nach dem Aushärten der Gehäuseschale kann die Strangeinlage, im Ausführungsbeispiel der Metallfaden 12 mit Silikonmantel 13, aus dem aus Kügelchen und Schalenmasse verschmolzenen Mantel des gebildeten Kanals 19 der Gehäuseschale gezogen werden. In preparing the housing shell 18, the shell casting or spraying compound combines with the beads 14 of the string 11. After curing, the housing shell, the strand mat, the embodiment of the metal thread 12 with silicone sheath 13 from the fused from beads and shell ground shell of formed channel 19 of the housing shell are drawn. Die in Figur 5 gezeichnete Gehäuseschale 18 wird aus der Negativform herausgenommen und es werden längs der Schnittlinien cc bzw. ee die überstehenden Gußreste 20, 21 abgefräst bzw. entfernt. The position shown in Figure 5 housing shell 18 is removed from the negative mold and will be along cc ee or the protruding Gußreste 20 of the cutting lines, milled or removed 21st Falls vorgesehen, kann der Kanal 19 noch aufgefräst und die Gehäuseschale poliert werden. If provided, the channel 19 may still milled and the housing shell are polished. Die Gehäuseschale 18 kann in an sich bekannter Weise noch durch eine am proximalen Ende 22 aufzusetzende Abdeckplatte und eine am distalen Ende 23 aufzusetzende Faceplate verschlossen werden. The housing shell 18 can be sealed in known manner by a still-set-up at the proximal end 22 and a cover-set-up at the distal end 23 of the faceplate. In der nicht gezeichneten Abdeckplatte wie auch in der Faceplate sind dann - falls der Kanal 19 in Längsrichtung völlig durch die Gehäuseschale verläuft - noch die Durchtrittsöffnungen zu bohren. are then in the non-drawn cover plate as well as in the faceplate - if the channel 19 extends longitudinally completely through the housing shell - even to drill the passage openings. Es ist aber auch möglich, daß die eine oder andere Durchtrittsöffnung des Kanals 19 (Vent) an einer Seitenwand der Gehäuseschale vorgesehen ist. However, it is also possible that one or the other passage opening of the channel 19 (Vent) is provided on a side wall of the housing shell.
    • [0019] [0019]
      Aus der perspektivischen Darstellung nach Figur 6 ist eine, am distalen Ende der Gehäuseschale 18 befindliche Durchtrittsöffnung 24 des Kanals 19 ersichtlich, wobei die Kanalwand mit der Perlen- oder Kügelchen-Struktur ebenfalls erkennbar ist. From the perspective view of Figure 6 is one passage opening located at the distal end of the housing shell 18 24 of the channel 19 can be seen, the channel wall with the bead or bead structure is also visible. Die am proximalen Ende vorgesehene Durchtrittsöffnung des Kanals ist mit 25 bezeichnet. The provided at the proximal end of the passage opening of the channel is designated by the 25th
    Patent Citations
    Cited PatentFiling datePublication dateApplicantTitle
    EP0245742A1 *May 4, 1987Nov 19, 1987Siemens Audiologische Technik GmbHMethod and device for making an ear mould
    EP0248955A1 *Jun 10, 1986Dec 16, 1987Gaspare BellafioreHearing aid and method of manufacture thereof
    DE8613336U1 *May 16, 1986Oct 29, 1987Siemens Ag, 1000 Berlin Und 8000 Muenchen, DeTitle not available
    US4569812 *Jun 22, 1984Feb 11, 1986Beltone Electronics CorporationProcess for making a hearing aid vent
    Referenced by
    Citing PatentFiling datePublication dateApplicantTitle
    EP1287721B2Jun 6, 2000Aug 5, 2009Phonak AgMethod for producing a hearing aid placed in the ear
    EP1427251A2 *Sep 25, 2000Jun 9, 2004Phonak AgMethod for the production of otoplastics and corresponding otoplastic
    EP1427251A3 *Sep 25, 2000Aug 16, 2006Phonak AgMethod for the production of otoplastics and corresponding otoplastic
    WO2016059029A1 *Oct 13, 2015Apr 21, 2016Dentona AgMilling blank for production of medical moulded parts
    Classifications
    International ClassificationH04R25/00
    Cooperative ClassificationY10S264/30, H04R25/652, H04R25/658
    European ClassificationH04R25/65B, H04R25/65M
    Legal Events
    DateCodeEventDescription
    Jan 30, 1991AKDesignated contracting states:
    Kind code of ref document: A1
    Designated state(s): AT CH DE FR GB IT LI NL
    Jan 30, 199117PRequest for examination filed
    Effective date: 19901205
    Jan 13, 1993RAP1Transfer of rights of an ep published application
    Owner name: SIEMENS AUDIOLOGISCHE TECHNIK GMBH
    Sep 29, 199317QFirst examination report
    Effective date: 19930816
    Mar 15, 1995PG25Lapsed in a contracting state announced via postgrant inform. from nat. office to epo
    Ref country code: FR
    Effective date: 19950315
    Ref country code: GB
    Effective date: 19950315
    Ref country code: IT
    Free format text: LAPSE BECAUSE OF FAILURE TO SUBMIT A TRANSLATION OF THE DESCRIPTION OR TO PAY THE FEE WITHIN THE PRESCRIBED TIME-LIMIT
    Effective date: 19950315
    Ref country code: NL
    Free format text: LAPSE BECAUSE OF FAILURE TO SUBMIT A TRANSLATION OF THE DESCRIPTION OR TO PAY THE FEE WITHIN THE PRESCRIBED TIME-LIMIT
    Effective date: 19950315
    Mar 15, 1995AKDesignated contracting states:
    Kind code of ref document: B1
    Designated state(s): AT CH DE FR GB IT LI NL
    Mar 15, 1995REFCorresponds to:
    Ref document number: 120065
    Country of ref document: AT
    Date of ref document: 19950415
    Kind code of ref document: T
    Apr 20, 1995REFCorresponds to:
    Ref document number: 58909119
    Country of ref document: DE
    Date of ref document: 19950420
    Jul 26, 1995PG25Lapsed in a contracting state announced via postgrant inform. from nat. office to epo
    Ref country code: AT
    Effective date: 19950726
    Aug 11, 1995ENFr: translation not filed
    Sep 1, 1995NLV1Nl: lapsed or annulled due to failure to fulfill the requirements of art. 29p and 29m of the patents act
    Sep 20, 1995GBVGb: ep patent (uk) treated as always having been void in accordance with gb section 77(7)/1977
    Effective date: 19950315
    Mar 6, 199626NNo opposition filed
    Sep 17, 1996PGFPPostgrant: annual fees paid to national office
    Ref country code: DE
    Payment date: 19960917
    Year of fee payment: 8
    Oct 17, 1996PGFPPostgrant: annual fees paid to national office
    Ref country code: CH
    Payment date: 19961017
    Year of fee payment: 8
    Jul 31, 1997PG25Lapsed in a contracting state announced via postgrant inform. from nat. office to epo
    Ref country code: CH
    Free format text: LAPSE BECAUSE OF NON-PAYMENT OF DUE FEES
    Effective date: 19970731
    Ref country code: LI
    Free format text: LAPSE BECAUSE OF NON-PAYMENT OF DUE FEES
    Effective date: 19970731
    Mar 13, 1998REGReference to a national code
    Ref country code: CH
    Ref legal event code: PL
    Apr 1, 1998PG25Lapsed in a contracting state announced via postgrant inform. from nat. office to epo
    Ref country code: DE
    Free format text: LAPSE BECAUSE OF NON-PAYMENT OF DUE FEES
    Effective date: 19980401