Account Options

  1. Sign in
    Screen reader users: click this link for accessible mode. Accessible mode has the same essential features but works better with your reader.

    Patents

    1. Advanced Patent Search
    Publication numberEP1351551 A2
    Publication typeApplication
    Application numberEP20030006363
    Publication dateOct 8, 2003
    Filing dateMar 20, 2003
    Priority dateApr 2, 2002
    Also published asDE10214542C1, DE50309765D1, EP1351551A3, EP1351551B1, US6843690, US20030199204
    Publication number03006363, 03006363.10, 036363, 2003006363, 20036363, EP 1351551 A2, EP 1351551A2, EP-A2-1351551, EP03006363, EP1351551 A2, EP1351551A2, EP20030006363
    InventorsJoseph Sauer, Christian Schmitt
    ApplicantSiemens Audiologische Technik GmbH
    Export CitationBiBTeX, EndNote, RefMan
    External Links: Espacenet, EP Register
    Contact device for hearing aid
    EP 1351551 A2
    Abstract
    An arrangement for contacting electrical components in a hearing aid, comprises a plastic injection member (1) for carrying metal elements (2-6), and at least one wire element (4,5,6). The latter is applied to the surface of the plastic injection member and connects the electrical components and the metal contact elements. At least one metal contact element is a stamped metal unit, and at least one is a spring. The arrangement is formed by injection molding at least one structure element made of an activated plastic, especially. a plastic activated in an injection mould along with the metal contact element, and then an insulating plastic is injected into the mould.
    Images(1)
    Previous page
    Next page
    Claims(10)  translated from German
    1. Vorrichtung zum Kontaktieren elektrischer Bauelemente eines Hörgerätes mit Device for contacting electrical components of a hearing aid with
      einem Kunststoffspritzkörper (1) zum Tragen von Kontaktelementen (2-6) und a plastic injection-molded body (1) for carrying contact elements (2-6) and
      mindestens einem Metallkontaktelemente (2, 3), das in den Kunststoffspritzgusskörper (1) eingespritzt ist, at least one metal contact elements (2, 3), which is injected into the injection molded plastic body (1),
      gekennzeichnet durch characterized by
      mindestens ein Verdrahtungselement (4, 5, 6), das leiterbahnartig auf der Oberfläche des Kunststoffspritzgusskörpers (1) aufgebracht ist, zum Verdrahten der elektrischen Bauelemente und/oder des Metallkontaktelements (2, 3). at least one wiring element (4, 5, 6) which is applied conductor track-like manner on the surface of injection-molded plastic body (1), for wiring the electrical components and / or the metal contact element (2, 3).
    2. Vorrichtung nach Anspruch 1, wobei das mindestens eine Metallkontaktelement (2, 3) ein gestanztes Metallteil ist. The apparatus of claim 1, wherein the at least one metal contact element (2, 3) is a stamped metal part.
    3. Vorrichtung nach Anspruch 1 oder 2, wobei das mindestens eine Metallkontaktelement (2, 3) eine Metallfeder ist. Apparatus according to claim 1 or 2, wherein the at least one metal contact element (2, 3) is a metal spring.
    4. Vorrichtung nach einem der Ansprüche 1 bis 3, wobei das mindestens eine Verdrahtungselement (4, 5, 6) mindestens eine Kontaktstelle (14, 15, 16), die über die Oberfläche des Kunststoffspritzgusskörpers (1) erhaben ist, zur Kontaktierung eines elektrischen Bauelements aufweist. Device according to one of claims 1 to 3, wherein the, at least one wiring element (4, 5, 6) at least one contact point (14, 15, 16) which is raised above the surface of the plastic injection-molded body (1) for contacting an electrical component ,
    5. Vorrichtung nach einem der Ansprüche 1 bis 4, wobei ein insbesondere mit Palladium dotierter Kunststoffabschnitt den Untergrund des mindestens einen Verdrahtungselements (4, 5, 6) darstellt. Device according to one of claims 1 to 4, wherein a palladium-doped in particular plastic section illustrating the substrate of the at least one wiring element (4, 5, 6).
    6. Vorrichtung nach einem der Ansprüche 1 bis 5, wobei zwei Metallkontaktelemente (2, 3) zur Kontaktierung einer Hörgerätebatterie und mehrere Verdrahtungselemente (4, 5, 6) zur Kontaktierung eines Hörgeräteelektronikmoduls an dem Kunststoffspritzgusskörper (1) angeordnet sind. Device according to one of claims 1 to 5, wherein two metal contact elements (2, 3) for contacting a hearing device battery and a plurality of wiring elements (4, 5, 6) for contacting a hearing device electronics module to the plastic injection-molded body (1) are arranged.
    7. Hörgerät mit einer Vorrichtung zum Kontaktieren elektrischer Bauelemente nach einem der Ansprüche 1 bis 6. Hearing aid with an apparatus for contacting electrical components according to one of claims 1 to 6.
    8. Verfahren zum Herstellen einer Vorrichtung nach einem der Ansprüche 1 bis 6 durch A method of manufacturing a device according to any one of claims 1 to 6 by
      Spritzgießen mindestens eines Strukturelements aus einem aktivierten Kunststoff, der insbesondere mit Palladium aktiviert ist, Injection molding of at least one structural element of an activated plastic, which is activated in particular with palladium,
      Einlegen des mindestens einen Strukturelements zusammen mit dem mindestens einen Metallkontaktelement (2, 3) in eine Spritzgussform, Inserting the at least one structure element together with the at least one metal contact element (2, 3) into an injection mold
      Umspritzen des mindestens einen Strukturelements und des mindestens einen Metallkontaktelements (2, 3) mit einem isolierenden Kunststoff zu dem Kunststoffspritzgusskörper (1), wobei das Strukturelement zumindest teilweise an die Oberfläche des Kunststoffspritzgusskörpers ragt, wodurch ein Oberflächenbereich definiert ist, und Overmolding the at least one structure element and the at least one metal contact element (2, 3) with an insulating plastic to plastic injection molding body (1), wherein the structural element at least partially protrudes from the surface of the plastic injection-molded body, whereby a surface region is defined, and
      Metallisieren des durch das Strukturelement vorgegebenen Oberflächenbereichs des Kunststoffspritzgusskörpers (1). Metallizing the predetermined by the structural element surface area of ​​the plastic injection-molded body (1).
    9. Verfahren zum Herstellen einer Vorrichtung nach einem der Ansprüche 1 bis 6 durch A method of manufacturing a device according to any one of claims 1 to 6 by
      Einlegen des mindestens einen Metallkontaktelements (2, 3) in eine Spritzgussform für den Kunststoffspritzgusskörper (1), Inserting the at least one metal contact element (2, 3) in an injection mold for plastic injection molding body (1)
      Ausspritzen der Spritzgussform mit einem isolierenden Kunststoff, Ejecting the injection mold with an insulating plastic,
      Bestrahlen eines Leiterbahnmusters auf der Oberfläche des Spritzgusskunststoffkörpers (1) und Irradiating an interconnect pattern on the surface of the injection molded plastic body (1) and
      Beschichten des bestrahlen Musters mit einem leitenden Metall. Coating the irradiated sample with a conductive metal.
    10. Verfahren zum Herstellen einer Vorrichtung nach einem der Ansprüche 1 bis 6 durch A method of manufacturing a device according to any one of claims 1 to 6 by
      Einlegen des mindestens einen Metallkontaktelements (2, 3) in eine Spritzgussform für den Kunststoffspritzgusskörper (1), Inserting the at least one metal contact element (2, 3) in an injection mold for plastic injection molding body (1)
      Ausspritzen der Spritzgussform mit einem isolierenden Kunststoff und Ejecting the injection mold with an insulating plastic and
      Drucken von Leiterbahnen auf den Kunststoffspritzgusskörper (1). Printing of conductive traces on the plastic injection molding body (1).
    Description  translated from German
    • [0001] [0001]
      Die vorliegende Erfindung betrifft eine Vorrichtung zum Kontaktieren elektrischer Bauelemente eines Hörgeräts mit einem Kunststoffspritzgusskörper zum Tragen von Kontaktelementen und mindestens einem Metallkontaktelement, das in den Kunststoffspritzgusskörper eingespritzt ist. The present invention relates to an apparatus for contacting electrical components of a hearing aid with a plastic injection-molded body for carrying contact elements and at least one metal contact element that is injected into the injection molded plastic body. Ferner betrifft die vorliegende Erfindung ein Verfahren zum Herstellen einer derartigen Vorrichtung. The present invention further relates to a method of manufacturing such a device.
    • [0002] [0002]
      Die elektrischen Bauelemente eines Hörgeräts sind in dem Hörgerätegehäuse in geeigneter Weise zu kontaktieren. The electrical components of a hearing aid are to be contacted in the hearing device housing in an appropriate manner. Hierzu ist aus der europäischen Patentschrift EP 0 988 776 B1 eine Kontaktiervorrichtung bekannt, die Anschlüsse zu einem elektrischen Modul aufweist. For this purpose is known from European patent specification EP 0988776 B1 discloses a contacting device known to the terminals comprises an electrical module. Darüber hinaus sind an die Kontaktiervorrichtung Metallfederelemente angebracht zum Kontaktieren einer Hörgerätebatterie und zur Halterung der Vorrichtung in der Abdeckplatte des Hörgeräts. In addition to the contact-metal spring elements are mounted for contacting a hearing device battery and for retaining the device in the cover plate of the hearing aid.
    • [0003] [0003]
      Verfahrenstechnisch ist in diesem Zusammenhang aus der sogenannten Insert Mold Technologie bekannt, gestanzte Metallteile und Drahtverbindungselemente in Kunststoffspritzgussformen einzulegen, um diese beim Spritzgussvorgang mit in den Kunststoffkörper einzuspritzen. Technically, in this context of the so-called Insert Mold technology known to insert stamped metal parts and wire fasteners in plastic injection molds to inject this in the injection molding process with the plastic body. Durch den Spritzgusskörper erhalten die Kontaktstellen wohldefinierte Positionen. By the injection moldings obtained the contact points well-defined positions.
    • [0004] [0004]
      Der Spritzgusskörper kann mittels seiner Kontaktelemente auch zum Tragen elektronischer Bauelemente im Hörgerät verwendet werden. The injection moldings can be used by means of its contact elements also for supporting electronic components in the hearing aid. Dennoch sind zur Kontaktierung einiger Komponenten des Hörgeräts weitere Drahtverbindungen notwendig, die sich nicht als in den Kunststoffkörper eingespritzte Metallkontaktelemente realisieren lassen. However, further wire connections are for contacting some components of the hearing aid necessary, which can not be realized as injected into the plastic body metal contact elements.
    • [0005] [0005]
      Die Aufgabe der vorliegenden Erfindung besteht darin, die zur Kontaktierung notwendigen Elemente und Vorrichtungen zu miniaturisieren und deren Fertigung zu rationalisieren. The object of the present invention is to miniaturize the necessary elements and devices for contacting and streamline their production.
    • [0006] [0006]
      Erfindungsgemäß wird diese Aufgabe gelöst durch eine Vorrichtung zum Kontaktieren elektrischer Bauelemente eines Hörgerätes mit einem Kunststoffspritzkörper zum Tragen von Kontaktelementen und mindestens einem Metallkontaktelement, das in den Kunststoffspritzgusskörper eingespritzt ist, sowie durch mindestens einem Verdrahtungselement, das leiterbahnartig auf der Oberfläche des Kunststoffspritzgusskörpers aufgebracht ist, zum Verdrahten der elektrischen Bauelemente und/oder des Metallkontaktelements. According to the invention, this object is achieved by a device for contacting electrical components of a hearing aid with a plastic injection moldings for wearing contact elements and at least one metal contact element that is injected into the plastic injection moldings, as well as at least one wiring element, which is applied to conductor tracks like on the surface of the plastic injection molding body, for wiring the electrical components and / or the metal contact element.
    • [0007] [0007]
      Darüber hinaus wird die oben genannte Aufgabe gelöst durch ein Verfahren zum Herstellen einer derartigen Vorrichtung durch Spritzgießen mindestens eines Strukturelements aus einem aktivierten Kunststoff, der insbesondere mit Palladium aktiviert ist, Einlegen des mindestens einen Strukturelements zusammen mit dem mindestens einen Metallkontaktelement in eine Spritzgussform, Umspritzen des mindestens einen Strukturelements und des mindestens einen Metallkontaktelements mit einem isolierenden Kunststoff zu dem Kunststoffspritzgusskörper, wobei das Strukturelement zumindest teilweise an die Oberfläche des Kunststoffspritzgusskörpers ragt, wodurch ein Oberflächenbereich definiert ist, und Metallisieren des durch das Strukturelement vorgegebenen Oberflächenbereichs des Kunststoffspritzgusskörpers. Moreover, the above object is achieved by a method of manufacturing such a device by injection molding of at least one structural element of an activated plastic, which is activated in particular with palladium, placing the at least one structure element together with the at least one metal contact element into an injection mold, molding the at least one structure element and the at least one metal contact element with an insulating plastic to the injection molded plastic body, wherein the structural element at least partially protrudes from the surface of the injection molded plastic body, whereby a surface region being defined, and metallisation of the predetermined by the structural element surface area of ​​the injection molded plastic body.
    • [0008] [0008]
      Weiterhin läßt sich die oben genannte Aufgabe lösen durch ein Verfahren zum Herstellen der obigen Vorrichtung durch Einlegen des mindestens einen Metallkontaktelements in eine Spritzgussform für den Kunststoffspritzgusskörper, Ausspritzen der Spritzgussform mit einem isolierendem Kunststoff, Bestrahlen eines Leiterbahnmusters auf der Oberfläche des Spritzgusskunststoffkörpers und Beschichten des bestrahlten Musters mit einem leitenden Metall. Furthermore, can the above object is achieved by a method for manufacturing the above device by inserting the at least one metal contact element into an injection mold for plastic injection moldings, ejecting the injection mold with an insulating plastic, exposing a circuit pattern on the surface of the injection molded plastic body and coating the irradiated sample with a conductive metal.
    • [0009] [0009]
      Ebenso ist erfindungsgemäß vorgesehen ein Verfahren zum Herstellen einer obigen Vorrichtung durch Einlegen des mindestens einen Metallkontaktelements in eine Spritzgussform für den Kunststoffspritzgusskörper, Ausspritzen der Spritzgussform mit einem isolierenden Kunststoff und Drucken von Leiterbahnen auf den Kunststoffspritzgusskörper. Likewise, the invention provides a method for producing a above device by inserting the at least one metal contact element into an injection mold for plastic injection moldings, ejecting the injection mold with an insulating plastic and printing of conductive traces on the plastic injection moldings.
    • [0010] [0010]
      Fertigungstechnisch lassen sich die Metallkontaktelemente, die in den Kunststoffspritzgusskörper eingespritzt werden sollen, am günstigsten aus Metallblechen stanzen. Manufacturing technology allows the metal contact elements that are to be injected into the injection molded plastic body, the best punch of metal sheets. Sofern die Metallkontaktelemente auf die zu kontaktierenden Bauelemente Druck ausüben sollen, können hierfür Metallfedern verwendet werden. Provided that the metal contact elements to exert on the pressure components to be contacted, this metal springs can be used.
    • [0011] [0011]
      Verdrahtungselemente, die Leiterbahnen auf dem Kunststoffspritzgusskörper darstellen, können erfindungsgemäß nicht nur dafür verwendet werden, um eingespritzte Metallkontaktelemente miteinander zu verbinden, sondern auch dazu, Kontakte nach außen herzustellen. Wiring elements representing the conductors on the plastic injection moldings can be used not only for the present invention to connect injected metal contact elements with each other, but also to establish contacts with the outside. So ist es vorteilhaft, die Verdrahtungselemente mit Kontaktstellen auszustatten, die aus der Oberfläche des Kunststoffspritzgusskörpers herausragen und somit eine gute elektrische Kontaktmöglichkeit zu Bauelementen bieten, welche nicht mit federnden Metallkontakten gebildet werden müssen. Thus, it is advantageous to provide the wiring members with contact points, which protrude from the surface of the plastic injection molded body and thus provide a good electrical contact possibilities to devices that do not have to be formed with resilient metal contacts.
    • [0012] [0012]
      Die Verdrahtungselemente beziehungsweise Leiterbahnen sind, falls zur Herstellung mit aktivierten Kunststoffstrukturelementen gearbeitet wird, über den Teilen der Strukturelemente angeordnet, die an die Oberfläche des Spritzgusskörpers ragen. The wiring elements or conductor tracks, if it is worked for producing activated with plastic structural elements, arranged over the portions of the structural elements, which protrude to the surface of the injection molding. Zur Aktivierung wird der Kunststoff für das Spritzen der Strukturelemente günstigerweise mit Palladium dotiert. To activate the plastic for the spraying of the structural elements is suitably doped with palladium.
    • [0013] [0013]
      Vorzugsweise werden durch die erfindungsgemäßen Kontaktvorrichtungen die Elektronikmodule und -batterien eines Hörgeräts kontaktiert. Preferably, the contact devices of the invention, the electronic modules and batteries of a hearing contacted. Dabei kann es sich sowohl um ein sogenanntes In-dem-Ohr-Hörgerät als auch um ein sogenanntes Hinterdem-Ohr-Hörgerät handeln. This can be both a so-called in-the-ear hearing aid as well as a so-called behind-the-ear hearing aid.
    • [0014] [0014]
      Die Herstellung der erfindungsgemäßen Kontaktvorrichtungen erfolgt vorzugsweise durch Einlegen entsprechender Kontaktelemente, die Metallkontaktelemente und Strukturelemente aus Kunststoff umfassen, in eine Spritzgussform, wie sie bereits eingangs als Insert-Mold Technologie vorgestellt wurde. The production of the contact devices of the invention is preferably carried out by inserting a corresponding contact elements, the contact elements include metal elements and structure of plastic, into an injection mold, as has already been initially introduced as an insert-mold technology. Dazu werden zunächst die notwendigen Strukturelemente in ihrer dreidimensionalen Form aus einem beispielsweise mit Palladium aktivierten Kunststoff gespritzt. First of all the necessary structural elements are injected into their three-dimensional shape of an activated for example with palladium plastic. Anschließend werden diese gespritzten Strukturelemente zusammen mit den weiteren Metallkontaktelementen beziehungsweise Metallfedern in die Spritzgussform für den Gusskörper eingebracht. Subsequently, these molded structural elements are introduced together with the further metal contact elements or metal springs into the injection mold for the cast body. Daraufhin wird die Spritzgussform mit den Metallkontakt- und Strukturelementen mit isolierendem Kunststoff ausgespritzt. Then the mold is sprayed with the Metallkontakt- and structural elements with insulating plastic. Schließlich werden die aktivierten Strukturelemente, soweit sie aus der Oberfläche ragen, beispielsweise in einem Bad mit Metall beschichtet. Finally, the activated structural elements, insofar as they project from the surface, for example in a bathroom coated with metal.
    • [0015] [0015]
      Durch die Leiterbahntechnologie lassen sich in der Regel die Kontaktstellen, an denen Kontaktschwierigkeiten auftreten können, reduzieren, was zu einer Steigerung der Qualität der Kontaktvorrichtung führt. By interconnect technology can be usually the contact points where contact problems can occur, reduce, resulting in an increase in the quality of the contact device. Weiterhin können im Falle der Herstellung mittels Insert Mold Technologie Einlegeteile eingespart werden, indem die Kontaktstellen für äußere Kontakte an die Strukturelemente angespritzt werden. Furthermore, the production by Insert Mold Technology inserts can be saved by the contact points for external contacts to the structural elements are molded in the case. Damit wird die Anzahl der für die Fertigung notwendigen Teile reduziert, womit sich auch die Montagezeit reduzieren und der Automatisierungsgrad für die Fertigung erhöhen lässt. Thus the number of parts necessary for the manufacturing is reduced, which can also reduce assembly time and increase the degree of automation for manufacturing.
    • [0016] [0016]
      Eine Miniaturisierung ist, wie bereits erwähnt, auch dadurch möglich, dass Leiterbahnen auf den Spritzgusskörper aufgebracht werden. Miniaturization is, as already mentioned, also possible in that conductor tracks are applied to the injection molding body. Hierzu können einerseits mit einem Laser diejenigen Stellen, die Leiterbahnen tragen, aktiviert, und anschließend die aktivierten Stellen auf dem Kunststoffkörper selektiv mit Metall beschichtet werden. For this purpose, on the one hand with a laser, those places that bear traces, activated, and then the activated sites are coated on the plastic body with metal selectively. Andererseits können die Leiterbahnen aber auch durch beliebige Druckverfahren auf den Spritzgusskörper aufgebracht werden. On the other hand, the conductor tracks can also be applied by any printing process on the injection moldings.
    • [0017] [0017]
      Die vorliegende Erfindung wird nun anhand der beigefügten Zeichnung näher erläutert, die eine perspektivische Ansicht einer erfindungsgemäßen Kontaktvorrichtung zeigt. The present invention will now be explained in more detail with reference to the accompanying drawing, which shows a perspective view of a contact device according to the invention. Das nachfolgende Ausführungsbeispiel stellt jedoch nur eine bevorzugte Ausführungsform der vorliegenden Erfindung dar. However, the following embodiment is only a preferred embodiment of the present invention.
    • [0018] [0018]
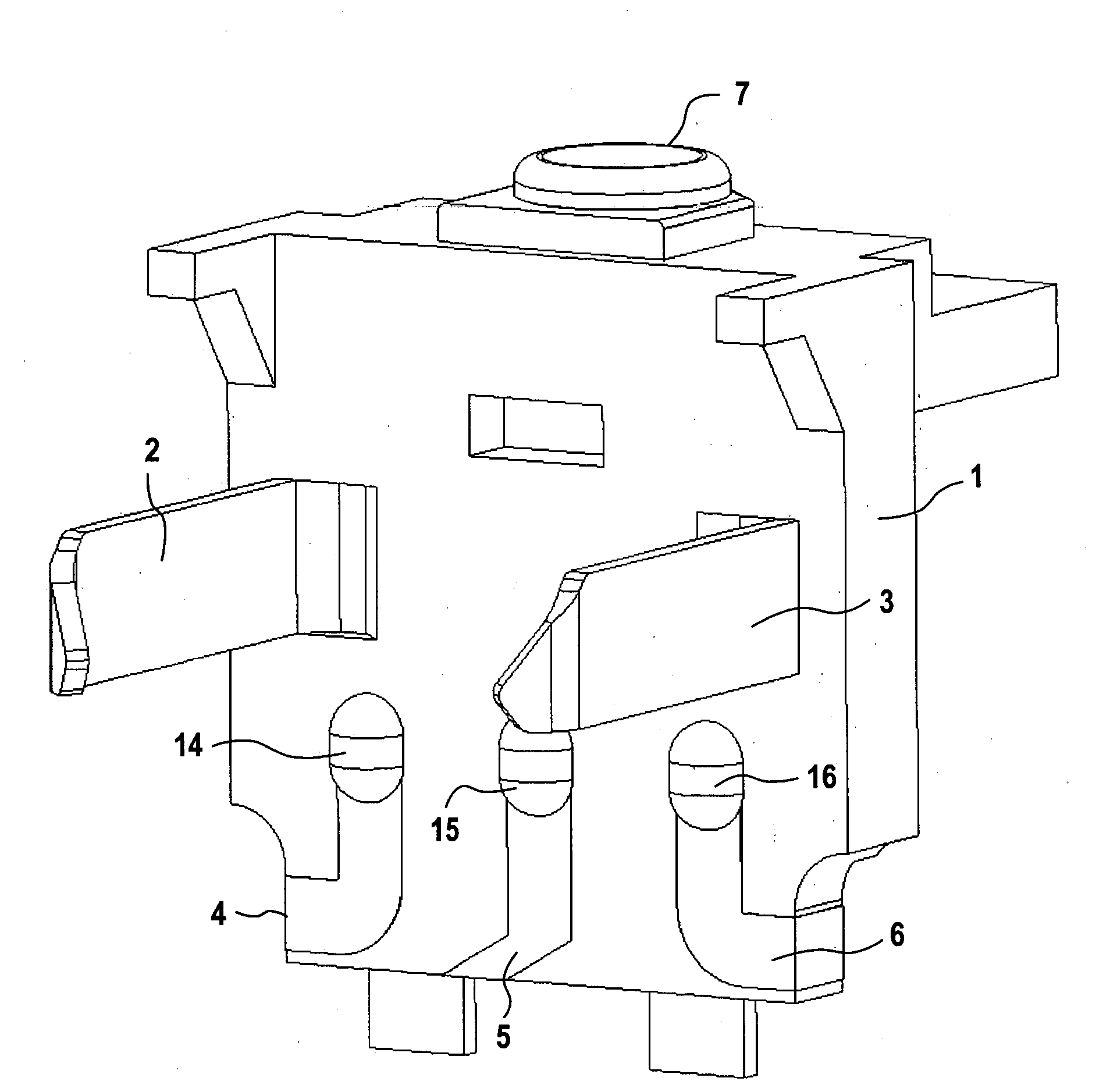
      Die Zeichnung zeigt einen Kunststoffspritzgusskörper 1. In diesen sind Metallfedern 2 und 3 eingespritzt, die im vorliegenden Fall zum Kontaktieren einer nicht dargestellten Hörgerätebatterie dienen. The drawing shows a plastic injection molded body 1. In these metal springs 2 and 3 are injected to serve in this case to contact a hearing aid battery, not shown. Weiterhin sind in die Kontaktiervorrichtung 1 unter den Leiterbahnen beziehungsweise Verdrahtungselementen 4, 5 und 6 Strukturelemente eingespritzt. Furthermore, 5 and 6 are structural elements in the contact-1 under the interconnects or wiring elements 4, injected. Jedes dieser Verdrahtungselemente 4, 5, 6 besitzt eine Kontaktstelle 14, 15, 16, die aus der Oberfläche des Spritzgusskörpers 1 herausragt. Each of these wiring elements 4, 5, 6 has a contact point 14, 15, 16, which protrudes from the surface of the injection body 1.
    • [0019] [0019]
      Zur Herstellung des Spritzgusskörpers 1 werden die Struk-turelemente aus aktiviertem Kunststoff gefertigt, zusammen mit den Metallfedern 2, 3 in die Spritzgussform eingelegt und mit isolierendem Kunststoff umspritzt. For the preparation of the injection molded body 1, the structural-turelemente be made of plastic activated, together with the metal springs 2, 3 is inserted into the injection mold and molded with insulating plastic.
    • [0020] [0020]
      Die in der Zeichnung dargestellte Kontaktiervorrichtung lässt sich auch dadurch herstellen, dass, wie bereits erwähnt, zunächst gemäß dem bekannten Insert Mold Verfahren lediglich die Metallfedern 2 und 3 in den Körper 1 eingespritzt werden. The contacting device shown in the drawing can be prepared also by the fact that, as mentioned above, first according to the known method Mold insert only the metal springs 2 and 3 are injected into the body 1. Anschließend werden für die Verdrahtungselemente auf der Oberfläche des Spritzgusskörpers 1 Bahnen mit einem Laser aktiviert. 1 sheets are then activated with a laser for wiring elements on the surface of the injection molding. Diese aktivierten Bahnen werden anschließend mit einem leitfähigen Metall beschichtet. These activated pathways are then coated with a conductive metal. Alternativ können die Leiterbahnen, wie erwähnt, auf den Spritzgusskörper aufgedruckt werden. Alternatively, the traces, as mentioned, be printed on the injection moldings.
    • [0021] [0021]
      Durch die Verdrahtungselemente 4, 5, 6 lässt sich beispielsweise ein elektronisches Modul mit Mikrophon, das an der bezogen auf die zeichnerische Darstellung rückwärtigen Seite der Kontaktiervorrichtung 1 angeordnet sein kann, kontaktieren. By wiring elements 4, 5, 6 can be, for example, an electronic module with microphone, which can be located on the rear relative to the diagrammatic representation of the contact-page 1, please contact. Die Schallöffnung 7 für ein Mikrophon ist an der Oberseite des Kunststoffspritzgusskörpers 1 sichtbar. The sound opening 7 for the microphone is visible at the top of the plastic injection-molded body 1.
    Patent Citations
    Cited PatentFiling datePublication dateApplicantTitle
    EP0899821A2 *Aug 22, 1998Mar 3, 1999GRUNDIG AktiengesellschaftUser interface
    DE9210542U1 *Aug 6, 1992Dec 9, 1993Schaltbau AgStirnkontaktleiste für einen Druckkontaktsteckverbinder
    GB719657A * Title not available
    WO2000065692A1 *Apr 19, 2000Nov 2, 2000Microtronic A/SConnector and method for establishing solderfree connections between a rigid main pcb and associated conductors
    Referenced by
    Citing PatentFiling datePublication dateApplicantTitle
    US9408552Dec 29, 2011Aug 9, 2016Widex A/SEar plug with surface electrodes
    WO2013050014A1 *Oct 1, 2012Apr 11, 2013Dreve Prodimed GmbhMethod for producing ear shells
    Classifications
    International ClassificationH01R13/03, H01R4/48, H01R43/24, H01R13/24, H04R25/00
    Cooperative ClassificationH04R25/60, H04R25/658, H04R25/602, H01R43/24, H01R13/24
    European ClassificationH04R25/60, H04R25/65M, H01R43/24
    Legal Events
    DateCodeEventDescription
    Oct 8, 2003AXRequest for extension of the european patent to
    Extension state: AL LT LV MK RO
    Oct 8, 2003AKDesignated contracting states:
    Kind code of ref document: A2
    Designated state(s): AT BE BG CH CY CZ DE DK EE ES FI FR GB GR HU IE IT LI LU MC NL PT RO SE SI SK TR
    Oct 18, 2006RIC1Classification (correction)
    Ipc: H01R 4/48 20060101ALI20060911BHEP
    Ipc: H04R 25/00 20060101AFI20030717BHEP
    Ipc: H01R 13/03 20060101ALI20060911BHEP
    Oct 18, 2006AXRequest for extension of the european patent to
    Extension state: AL LT LV MK RO
    Oct 18, 2006AKDesignated contracting states:
    Kind code of ref document: A3
    Designated state(s): AT BE BG CH CY CZ DE DK EE ES FI FR GB GR HU IE IT LI LU MC NL PT RO SE SI SK TR
    Mar 7, 200717PRequest for examination filed
    Effective date: 20070122
    Apr 4, 200717QFirst examination report
    Effective date: 20070228
    Jun 27, 2007AKXPayment of designation fees
    Designated state(s): AT BE BG CH CY CZ DE DK EE ES FI FR GB GR HU IE IT LI LU MC NL PT RO SE SI SK TR
    May 7, 2008AKDesignated contracting states:
    Kind code of ref document: B1
    Designated state(s): AT BE BG CH CY CZ DE DK EE ES FI FR GB GR HU IE IT LI LU MC NL PT RO SE SI SK TR
    May 7, 2008REGReference to a national code
    Ref country code: GB
    Ref legal event code: FG4D
    Free format text: NOT ENGLISH
    May 30, 2008REGReference to a national code
    Ref country code: CH
    Ref legal event code: EP
    Jun 11, 2008REGReference to a national code
    Ref country code: IE
    Ref legal event code: FG4D
    Free format text: LANGUAGE OF EP DOCUMENT: GERMAN
    Jun 19, 2008REFCorresponds to:
    Ref document number: 50309765
    Country of ref document: DE
    Date of ref document: 20080619
    Kind code of ref document: P
    Jul 31, 2008REGReference to a national code
    Ref country code: CH
    Ref legal event code: NV
    Representative=s name: SIEMENS SCHWEIZ AG
    Sep 1, 2008REGReference to a national code
    Ref country code: DK
    Ref legal event code: T3
    Sep 30, 2008PG25Lapsed in a contracting state announced via postgrant inform. from nat. office to epo
    Ref country code: SI
    Free format text: LAPSE BECAUSE OF FAILURE TO SUBMIT A TRANSLATION OF THE DESCRIPTION OR TO PAY THE FEE WITHIN THE PRESCRIBED TIME-LIMIT
    Effective date: 20080507
    Oct 31, 2008PG25Lapsed in a contracting state announced via postgrant inform. from nat. office to epo
    Ref country code: ES
    Free format text: LAPSE BECAUSE OF FAILURE TO SUBMIT A TRANSLATION OF THE DESCRIPTION OR TO PAY THE FEE WITHIN THE PRESCRIBED TIME-LIMIT
    Effective date: 20080818
    Ref country code: FI
    Free format text: LAPSE BECAUSE OF FAILURE TO SUBMIT A TRANSLATION OF THE DESCRIPTION OR TO PAY THE FEE WITHIN THE PRESCRIBED TIME-LIMIT
    Effective date: 20080507
    Ref country code: NL
    Free format text: LAPSE BECAUSE OF FAILURE TO SUBMIT A TRANSLATION OF THE DESCRIPTION OR TO PAY THE FEE WITHIN THE PRESCRIBED TIME-LIMIT
    Effective date: 20080507
    Nov 3, 2008NLV1Nl: lapsed or annulled due to failure to fulfill the requirements of art. 29p and 29m of the patents act
    Dec 10, 2008REGReference to a national code
    Ref country code: IE
    Ref legal event code: FD4D
    Jan 30, 2009PG25Lapsed in a contracting state announced via postgrant inform. from nat. office to epo
    Ref country code: SE
    Free format text: LAPSE BECAUSE OF FAILURE TO SUBMIT A TRANSLATION OF THE DESCRIPTION OR TO PAY THE FEE WITHIN THE PRESCRIBED TIME-LIMIT
    Effective date: 20080807
    Ref country code: IE
    Free format text: LAPSE BECAUSE OF FAILURE TO SUBMIT A TRANSLATION OF THE DESCRIPTION OR TO PAY THE FEE WITHIN THE PRESCRIBED TIME-LIMIT
    Effective date: 20080507
    Ref country code: PT
    Free format text: LAPSE BECAUSE OF FAILURE TO SUBMIT A TRANSLATION OF THE DESCRIPTION OR TO PAY THE FEE WITHIN THE PRESCRIBED TIME-LIMIT
    Effective date: 20081007
    Ref country code: CZ
    Free format text: LAPSE BECAUSE OF FAILURE TO SUBMIT A TRANSLATION OF THE DESCRIPTION OR TO PAY THE FEE WITHIN THE PRESCRIBED TIME-LIMIT
    Effective date: 20080507
    Feb 27, 2009PG25Lapsed in a contracting state announced via postgrant inform. from nat. office to epo
    Ref country code: SK
    Free format text: LAPSE BECAUSE OF FAILURE TO SUBMIT A TRANSLATION OF THE DESCRIPTION OR TO PAY THE FEE WITHIN THE PRESCRIBED TIME-LIMIT
    Effective date: 20080507
    Ref country code: RO
    Free format text: LAPSE BECAUSE OF FAILURE TO SUBMIT A TRANSLATION OF THE DESCRIPTION OR TO PAY THE FEE WITHIN THE PRESCRIBED TIME-LIMIT
    Effective date: 20080507
    Mar 31, 2009REGReference to a national code
    Ref country code: CH
    Ref legal event code: PCAR
    Free format text: SIEMENS SCHWEIZ AG;INTELLECTUAL PROPERTY FREILAGERSTRASSE 40;8047 ZUERICH (CH)
    Apr 15, 200926NNo opposition filed
    Effective date: 20090210
    Apr 30, 2009PG25Lapsed in a contracting state announced via postgrant inform. from nat. office to epo
    Ref country code: BG
    Free format text: LAPSE BECAUSE OF FAILURE TO SUBMIT A TRANSLATION OF THE DESCRIPTION OR TO PAY THE FEE WITHIN THE PRESCRIBED TIME-LIMIT
    Effective date: 20080807
    Ref country code: EE
    Free format text: LAPSE BECAUSE OF FAILURE TO SUBMIT A TRANSLATION OF THE DESCRIPTION OR TO PAY THE FEE WITHIN THE PRESCRIBED TIME-LIMIT
    Effective date: 20080507
    Aug 31, 2009PGFPPostgrant: annual fees paid to national office
    Ref country code: IT
    Payment date: 20090325
    Year of fee payment: 7
    Sep 30, 2009BEREBe: lapsed
    Owner name: SIEMENS AUDIOLOGISCHE TECHNIK G.M.B.H.
    Effective date: 20090331
    Oct 30, 2009PG25Lapsed in a contracting state announced via postgrant inform. from nat. office to epo
    Ref country code: MC
    Free format text: LAPSE BECAUSE OF NON-PAYMENT OF DUE FEES
    Effective date: 20090331
    Feb 26, 2010PG25Lapsed in a contracting state announced via postgrant inform. from nat. office to epo
    Ref country code: BE
    Free format text: LAPSE BECAUSE OF NON-PAYMENT OF DUE FEES
    Effective date: 20090331
    Jun 30, 2010PG25Lapsed in a contracting state announced via postgrant inform. from nat. office to epo
    Ref country code: AT
    Free format text: LAPSE BECAUSE OF NON-PAYMENT OF DUE FEES
    Effective date: 20090320
    Oct 29, 2010PG25Lapsed in a contracting state announced via postgrant inform. from nat. office to epo
    Ref country code: GR
    Free format text: LAPSE BECAUSE OF FAILURE TO SUBMIT A TRANSLATION OF THE DESCRIPTION OR TO PAY THE FEE WITHIN THE PRESCRIBED TIME-LIMIT
    Effective date: 20080808
    Mar 31, 2011PG25Lapsed in a contracting state announced via postgrant inform. from nat. office to epo
    Ref country code: IT
    Free format text: LAPSE BECAUSE OF NON-PAYMENT OF DUE FEES
    Effective date: 20100320
    Apr 29, 2011PG25Lapsed in a contracting state announced via postgrant inform. from nat. office to epo
    Ref country code: LU
    Free format text: LAPSE BECAUSE OF NON-PAYMENT OF DUE FEES
    Effective date: 20090320
    Jun 30, 2011PG25Lapsed in a contracting state announced via postgrant inform. from nat. office to epo
    Ref country code: HU
    Free format text: LAPSE BECAUSE OF FAILURE TO SUBMIT A TRANSLATION OF THE DESCRIPTION OR TO PAY THE FEE WITHIN THE PRESCRIBED TIME-LIMIT
    Effective date: 20081108
    Aug 31, 2011PG25Lapsed in a contracting state announced via postgrant inform. from nat. office to epo
    Ref country code: TR
    Free format text: LAPSE BECAUSE OF FAILURE TO SUBMIT A TRANSLATION OF THE DESCRIPTION OR TO PAY THE FEE WITHIN THE PRESCRIBED TIME-LIMIT
    Effective date: 20080507
    Sep 30, 2011PG25Lapsed in a contracting state announced via postgrant inform. from nat. office to epo
    Ref country code: CY
    Free format text: LAPSE BECAUSE OF FAILURE TO SUBMIT A TRANSLATION OF THE DESCRIPTION OR TO PAY THE FEE WITHIN THE PRESCRIBED TIME-LIMIT
    Effective date: 20080507
    Jan 31, 2012PG25Lapsed in a contracting state announced via postgrant inform. from nat. office to epo
    Ref country code: DE
    Free format text: LAPSE BECAUSE OF NON-PAYMENT OF DUE FEES
    Effective date: 20111001
    Apr 14, 2015REGReference to a national code
    Ref country code: DE
    Ref legal event code: R082
    Ref document number: 50309765
    Country of ref document: DE
    Representative=s name: FDST PATENTANWAELTE FREIER DOERR STAMMLER TSCH, DE
    Oct 23, 2015REGReference to a national code
    Ref country code: DE
    Ref legal event code: R082
    Ref document number: 50309765
    Country of ref document: DE
    Representative=s name: FDST PATENTANWAELTE FREIER DOERR STAMMLER TSCH, DE
    Ref country code: DE
    Ref legal event code: R081
    Ref document number: 50309765
    Country of ref document: DE
    Owner name: SIVANTOS GMBH, DE
    Free format text: FORMER OWNER: SIEMENS AUDIOLOGISCHE TECHNIK GMBH, 91058 ERLANGEN, DE
    Mar 22, 2016REGReference to a national code
    Ref country code: FR
    Ref legal event code: PLFP
    Year of fee payment: 14
    Mar 23, 2017REGReference to a national code
    Ref country code: FR
    Ref legal event code: PLFP
    Year of fee payment: 15
    Apr 28, 2017PGFPPostgrant: annual fees paid to national office
    Ref country code: FR
    Payment date: 20170323
    Year of fee payment: 15
    Ref country code: CH
    Payment date: 20170327
    Year of fee payment: 15
    Ref country code: DE
    Payment date: 20170327
    Year of fee payment: 15
    May 31, 2017PGFPPostgrant: annual fees paid to national office
    Ref country code: GB
    Payment date: 20170327
    Year of fee payment: 15
    Ref country code: DK
    Payment date: 20170327
    Year of fee payment: 15