Account Options

  1. Sign in
    Screen reader users: click this link for accessible mode. Accessible mode has the same essential features but works better with your reader.

    Patents

    1. Advanced Patent Search
    Publication numberEP2112242 A1
    Publication typeApplication
    Application numberEP20090251012
    Publication dateOct 28, 2009
    Filing dateMar 31, 2009
    Priority dateApr 18, 2008
    Also published asUS20090260724, US20130240095
    Publication number09251012, 09251012.2, 2009251012, EP 2112242 A1, EP 2112242A1, EP-A1-2112242, EP09251012, EP20090251012, EP2112242 A1, EP2112242A1
    InventorsAwadh B. Pandey
    ApplicantUnited Technologies Corporation
    Export CitationBiBTeX, EndNote, RefMan
    External Links: Espacenet, EP Register
    Heat treatable L12 aluminium alloys
    EP 2112242 A1
    Abstract
    High temperature heat treatable aluminum alloys that can be used at temperatures from about -420°F (-251°C) up to about 650°F (343°C) are described. The alloys are strengthened by dispersion of particles based on the L12 intermetallic compound Al3X. These alloys comprise aluminum; silicon; at least one of scandium, erbium, thulium, ytterbium, and lutetium; and at least one of gadolinium, yttrium, zirconium, titanium, hafnium, and niobium. Magnesium and copper are optional alloying elements.
    Images(8)
    Previous page
    Next page
    Claims(15)
    1. A heat treatable aluminum alloy comprising:
      about 4.0 to about 25.0 weight percent silicon;
      at least one first element selected from the group comprising about 0.1 to about 0.5 weight percent scandium, about 0.1 to about 6.0 weight percent erbium, about 0.1 to about 10 weight percent thulium, about 0.1 to about 15.0 weight percent ytterbium, and about 0.1 to about 12 weight percent lutetium;
      at least one second element selected from the group comprising about 0.1 to about 4.0 weight percent gadolinium, about 0.1 to about 4.0 weight percent yttrium, about 0.05 to about 1.0 weight percent zirconium, about 0.05 to about 2.0 weight percent titanium, about 0.05 to about 2.0 weight percent hafnium, and about 0.05 to about 1.0 weight percent niobium; and
      the balance substantially aluminum.
    2. The alloy of claim 1, wherein the alloy comprises an aluminum solid solution matrix containing a plurality of dispersed Al3X second phases having L12 structures, wherein X includes at least one first element and at least one second element.
    3. The alloy of claim 1 or 2 further comprising about 0.2 to about 3.0 weight percent magnesium.
    4. The alloy of any preceding claim further comprising about 0.5 to about 5.0 weight percent copper.
    5. The alloy of any preceding claim further comprising at least one of about 0.001 to about 0.1 weight percent sodium, about 0.001 to about 0.1 weight percent calcium, about 0.001 to about 0.1 weight percent strontium, about 0.001 to about 0.1 weight percent antimony, about 0.001 to about 0.1 weight percent barium, and about 0.001 to about 0.1 weight percent phosphorus.
    6. The alloy of any preceding claim, comprising no more than about 1.0 weight percent total other elements including impurities.
    7. The alloy of any preceding claim comprising no more than about 0.1 weight percent iron, about 0.1 weight percent chromium, about 0.1 weight percent manganese, about 0.1 weight percent vanadium, about 0.1 weight percent cobalt, and about 0.1 weight percent nickel.
    8. The alloy of any preceding claim, wherein the amount of silicon ranges from about 4.0 to about 18.0 weight percent.
    9. The alloy of claim 8, wherein the amount of silicon ranges from about 5.0 to about 11.0 weight percent.
    10. The alloy of any preceding claim, which has been formed by a process selected from casting, deformation processing, and rapid solidification processing.
    11. The alloy of claim 10, which has been heat treated after forming.
    12. The alloy of claim 11, in which the alloy has been heat treated by a solution anneal at a temperature of about 800°F (426°C) to about 1100°F (593°C) for about 30 minutes to four hours, followed by quenching.
    13. The heat treatable aluminum alloy of any preceding claim, wherein the alloy is capable of being used at temperatures from about -420°F (-251°C) up to about 650°F (343°C).
    14. A method of forming a heat treatable aluminum alloy, the method comprising:
      (a) forming a melt comprising:
      about 4.0 to about 25.0 weight percent silicon;
      about 0.2 to about 3.0 weight percent magnesium;
      about 0.5 to about 5.0 weight percent copper;
      at least one first element selected from the group comprising about 0.1 to about 0.5 weight percent scandium, about 0.1 to about 6.0 weight percent erbium, about 0.1 to about 10 weight percent thulium, about 0.1 to about 15.0 weight percent ytterbium, and about 0.1 to about 12 weight percent lutetium;
      at least one second element selected from the group comprising about 0.1 to about 4.0 weight percent gadolinium, about 0.1 to about 4.0 weight percent yttrium, about 0.05 to about 1.0 weight percent zirconium, about 0.05 to about 2.0 weight percent titanium, about 0.05 to about 2.0 weight percent hafnium, and about 0.05 to about 1.0 weight percent niobium; and
      the balance substantially aluminum;
      (b) solidifying the melt to form a solid body; and
      (c) heat treating the solid body.
    15. The method of claim 14, further comprising:
      wherein solidifying comprises a rapid solidification process in which the cooling rate is greater than about 103°C/second including at least one of: powder processing, atomization, melt spinning, splat quenching, spray deposition, cold spray, plasma spray, laser melting and deposition, ball milling, and cryomilling,
      wherein the heat treating comprises:
      solution heat treatment at about 800°F (426°C) to about 1100°F (593°C) for about thirty minutes to four hours;
      quenching; and
      aging at a temperature of about 200°F (93°C) to about 600°F (315°C) for about two to forty eight hours, and
      refining the structure of the solid body by deformation processing includes at least one of:
      extrusion, forging and rolling.
    Description
    • [0001]
      The present invention relates generally to aluminum alloys and more specifically to heat treatable aluminum alloys produced by melt processing and strengthened by L12 phase dispersions.
    • [0002]
      The combination of high strength, ductility, and fracture toughness, as well as low density, make aluminum alloys natural candidates for aerospace and space applications. However, their use is typically limited to temperatures below about 300°F (149°C) since most aluminum alloys start to lose strength in that temperature range as a result of coarsening of strengthening precipitates.
    • [0003]
      The development of aluminum alloys with improved elevated temperature mechanical properties is a continuing process. Some attempts have included aluminum-iron and aluminum-chromium based alloys such as Al-Fe-Ce, Al-Fe-V-Si, Al-Fe-Ce-W, and Al-Cr-Zr-Mn that contain incoherent dispersoids. These alloys, however, also lose strength at elevated temperatures due to particle coarsening. In addition, these alloys exhibit ductility and fracture toughness values lower than other commercially available aluminum alloys.
    • [0004]
      Other attempts have included the development of mechanically alloyed Al-Mg and Al-Ti alloys containing ceramic dispersoids. These alloys exhibit improved high temperature strength due to the particle dispersion, but the ductility and fracture toughness are not improved.
    • [0005]
      US-A-6,248,453 discloses aluminum alloys strengthened by dispersed Al3X L12 intermetallic phases where X is selected from the group consisting of Sc, Er, Lu, Yb, Tm, and U. The Al3X particles are coherent with the aluminum alloy matrix and are resistant to coarsening at elevated temperatures. The improved mechanical properties of the disclosed dispersion strengthened L12 aluminum alloys are stable up to 572°F (300°C). In order to create aluminum alloys containing fine dispersions of Al3X L12 particles, the alloys need to be manufactured by expensive rapid solidification processes with cooling rates in excess of 1.8x103 F/sec (103 C/sec). US-A-2006/0269437 discloses an aluminum alloy that contains scandium and other elements. While the alloy is effective at high temperatures, it is not capable of being heat treated using a conventional age hardening mechanism.
    • [0006]
      Heat treatable aluminum alloys strengthened by coherent L12 intermetallic phases produced by standard, inexpensive melt processing techniques would be useful.
    • [0007]
      The present invention is heat treatable aluminum alloys that can be cast, wrought, or formed by rapid solidification, and thereafter heat treated. The alloys can achieve high temperature performance and can be used at temperatures up to about 650°F (343°C).
    • [0008]
      Viewed from a first aspect, the present invention provides a heat treatable aluminum alloy comprising:
      • about 4.0 to about 25.0 weight percent silicon;
      • at least one first element selected from the group comprising about 0.1 to about 0.5 weight percent scandium, about 0.1 to about 6.0 weight percent erbium, about 0.1 to about 10 weight percent thulium, about 0.1 to about 15.0 weight percent ytterbium, and about 0.1 to about 12 weight percent lutetium;
      • at least one second element selected from the group comprising about 0.1 to about 4.0 weight percent gadolinium, about 0.1 to about 4.0 weight percent yttrium, about 0.05 to about 1.0 weight percent zirconium, about 0.05 to about 2.0 weight percent titanium, about 0.05 to about 2.0 weight percent hafnium, and about 0.05 to about 1.0 weight percent niobium; and
      • the balance substantially aluminum.
    • [0009]
      These alloys comprise silicon, and an Al3X L12 dispersoid where X is at least one first element selected from scandium, erbium, thulium, ytterbium, and lutetium, and at least one second element selected from gadolinium, yttrium, zirconium, titanium, hafnium, and niobium. The balance is substantially aluminum.
    • [0010]
      The alloys may also contain magnesium and, optionally, copper, and have less than 1.0 weight percent total impurities.
    • [0011]
      Viewed from a second aspect, the present invention provides a heat treatable aluminum alloy comprising:
      • about 4.0 to about 25.0 weight percent silicon; and
      • an aluminum solid solution matrix containing a plurality of dispersed Al3X second phases having L12 structures where X comprises at least one of scandium, erbium, thulium, ytterbium, lutetium, and at least one of gadolinium, yttrium, zirconium, titanium, hafnium, niobium.. Preferably, the alloy comprises at least one of: about 0.2 to about 3.0 weight percent magnesium and about 0.5 to about 5.0 weight percent copper. Preferably the alloy comprises at least one of: about 0.1 to about 0.5 weight percent scandium, about 0.1 to about 6.0 weight percent erbium, about 0.1 to about 10 weight percent thulium, about 0.1 to about 15.0 weight percent ytterbium, about 0.1 to about 12 weight percent lutetium, and about 0.1 to about 4.0 weight percent gadolinium, about 0.1 to about 4.0 weight percent yttrium, about 0.05 to about 1.0 weight percent zirconium, about 0.05 to about 2.0 weight percent titanium, about 0.05 to about 2.0 weight percent hafnium, and about 0.05 to about 1.0 weight percent niobium.
    • [0012]
      The alloys may be formed by a process selected from casting, deformation processing and rapid solidification. The alloys may then be heat treated at a temperature of from about 800°F (426°C) to about 1100°F (593°C) for between about 30 minutes and four hours, followed by quenching in water, and thereafter aged at a temperature from about 200°F (93°C) to about 600°F (315°C) for about two to forty eight hours.
    • [0013]
      Viewed from a third aspect, the present invention provides a method of forming a heat treatable aluminum alloy, the method comprising:
      1. (a) forming a melt comprising:
        • about 4.0 to about 25.0 weight percent silicon;
        • about 0.2 to about 3.0 weight percent magnesium;
        • about 0.5 to about 5.0 weight percent copper;
        • at least one first element selected from the group comprising about 0.1 to about 0.5 weight percent scandium, about 0.1 to about 6.0 weight percent erbium, about 0.1 to about 10 weight percent thulium, about 0.1 to about 15.0 weight percent ytterbium, and about 0.1 to about 12 weight percent lutetium;
        • at least one second element selected from the group comprising about 0.1 to about 4.0 weight percent gadolinium, about 0.1 to about 4.0 weight percent yttrium, about 0.05 to about 1.0 weight percent zirconium, about 0.05 to about 2.0 weight percent titanium, about 0.05 to about 2.0 weight percent hafnium, and about 0.05 to about 1.0 weight percent niobium; and
        • the balance substantially aluminum;
      2. (b) solidifying the melt to form a solid body; and
      3. (c) heat treating the solid body.
    • [0014]
      Certain preferred embodiments of the present invention will now be described in greater detail by way of example only and with reference to the accompanying drawings, in which:
      • FIG. 1 is an aluminum silicon phase diagram;
      • FIG. 2 is an aluminum scandium phase diagram;
      • FIG. 3 is an aluminum erbium phase diagram;
      • FIG. 4 is an aluminum thulium phase diagram;
      • FIG. 5 is an aluminum ytterbium phase diagram; and
      • FIG. 6 is an aluminum lutetium phase diagram.
    • [0015]
      The alloys of this invention are based on the aluminum silicon system. The aluminum silicon phase diagram is shown in FIG. 1. The binary system is a simple eutectic alloy system with a eutectic reaction at 12.5 weight percent silicon and 1077°F (577°C). There is little solubility of silicon in aluminum at temperatures up to 930°F (500°C) and none of aluminum in silicon. Hypoeutectic alloys with less than 12.6 weight percent silicon solidify with a microstructure consisting of primary aluminum grains in a finely divided aluminum/silicon eutectic matrix phase. Hypereutectic alloys with silicon contents greater than the eutectic composition solidify with a microstructure of primary silicon grains in a finely divided aluminum/silicon eutectic matrix phase. Alloys of this invention include alloys with the addition of about 4 to about 25 weight percent silicon, more preferably about 4 to about 18 weight percent silicon, and even more preferably about 5 to about 11 weight percent silicon.
    • [0016]
      Other alloys of this invention include aluminum silicon containing copper or magnesium, or both copper and magnesium. Copper and magnesium are completely soluble in aluminum in the compositions of the inventive alloys discussed herein. Aluminum copper and aluminum magnesium alloys are heat treatable with Al2Cu (0'), Al2CuMg (S') and Si crystals precipitating in aluminum-copper-silicon alloys; Mg2Si and Si crystals precipitating in aluminum-magnesium-silicon alloys following a solution heat treatment, quench, and age process. In aluminum-copper-magnesium-silicon alloys, strengthening phases are Al2Cu (θ'), Al2CuMg (S'), Mg2Si and Si crystals following a solution heat treatment, quench, and age process. Mg2Al3 (β) phase precipitates as large intermetallic particle in high magnesium containing aluminum alloys which is not desired from strengthening point of view. The presence of L12 phase prevents formation of β phase in material which improves ductility and toughness of material. The alloys of this invention contain phases consisting of aluminum copper solid solutions, aluminum magnesium solid solutions, and aluminum copper magnesium solid solutions. In the solid solutions are dispersions of Al3X having an L12 structure where X is at least one first element selected from scandium, erbium, thulium, ytterbium, and lutetium. Also present is at least one second element selected from gadolinium, yttrium, zirconium, titanium, hafnium, and niobium.
    • [0017]
      Exemplary aluminum alloys of this invention include, but are not limited to (in weight percent):
      • about Al-(4-25)Si-(0.1-0.5)Sc-(0.1-4)Gd;
      • about Al-(4-25)Si-(0.1-6)Er-(0.1-4)Gd;
      • about Al-(4-25)Si-(0.1-10)Tm-(0.1-4)Gd;
      • about Al-(4-25)Si-(0.1-15)Yb-(0.1-4)Gd;
      • about Al-(4-25)Si-(0.1-12)Lu-(0.1-4)Gd;
      • about Al-(4-25)Si-(0.1-0.5)Sc-(0.1-4)Y;
      • about Al-(4-25)Si-(0.1-6)Er-(0.1-4)Y;
      • about Al-(4-25)Si-(0.1-10)Tm-(0.1-4)Y;
      • about Al-(4-25)Si-(0.1-15)Yb-(0.1-4)Y;
      • about Al-(4-25)Si-(0.1-12)Lu-(0.1-4)Y;
      • about Al-(4-25)Si-(0.1-0.5)Sc-(0.05-1)Zr;
      • about Al-(4-25)Si-(0.1-6)Er-(0.05-1)Zr;
      • about Al-(4-25)Si-(0.1-10)Tm-(0.05-1)Zr;
      • about Al-(4-25)Si-(0.1-15)Yb-(0.05-1)Zr;
      • about Al-(4-25)Si-(0.1-12)Lu-(0.05-1)Zr;
      • about Al-(4-25)Si-(0.1-0.5)Sc-(0.05-2)Ti;
      • about Al-(4-25)Si-(0.1-6)Er-(0.05-2)Ti;
      • about Al-(4-25)Si-(0.1-10)Tm-(0.05-2)Ti;
      • about Al-(4-25)Si-(0.1-15)Yb-(0.05-2)Ti;
      • about Al-(4-25)Si-(0.1-12)Lu-(0.05-2)Ti;
      • about Al-(4-25)Si-(0.1-0.5)Sc-(0.05-2)Hf;
      • about Al-(4-25)Si-(0.1-6)Er-(0.05-2)Hf;
      • about Al-(4-25)Si-(0.1-10)Tm-(0.05-2)Hf;
      • about Al-(4-25)Si-(0.1-15)Yb-(0.05-2)Hf;
      • about Al-(4-25)Si-(0.1-12)Lu-(0.05-2)Hf;
      • about Al-(4-25)Si-(0.1-0.5)Sc-(0.05-1)Nb;
      • about Al-(4-25)Si-(0.1-6)Er-(0.05-1)Nb;
      • about Al-(4-25)Si-(0.1-10)Tm-(0.05-1)Nb;
      • about Al-(4-25)Si-(0.1-15)Yb-(0.05-1)Nb; and
      • about Al-(4-25)Si-(0.1-12)Lu-(0.05-1)Nb.
    • [0018]
      Examples of similar alloys to these are alloys with the addition of about 0.2 to about 3 weight percent Mg, more preferably alloys with the addition of about 0.3 to about 1.5 weight percent Mg, and even more preferably alloys with the addition of about 0.5 to about 1.5 weight percent Mg; and alloys with the addition of about 0.5 to about 5 weight percent Cu, more preferably alloys with the addition of about 1 to about 4 weight percent Cu, and even more preferably alloys with the addition of about 2 to about 4 weight percent Cu. In one embodiment, the alloy comprises about 0.2 to about 3.0 weight percent magnesium and about 0.5 to about 5.0 weight percent copper, more particularly about 0.3 to about 1.5 weight percent magnesium and about 1.0 to about 4.0 weight percent copper.
    • [0019]
      In the inventive aluminum based alloys disclosed herein, scandium, erbium, thulium, ytterbium, and lutetium are potent strengtheners that have low diffusivity and low solubility in aluminum. All these elements form equilibrium Al3X intermetallic dispersoids where X is at least one of scandium, erbium, ytterbium, lutetium, that have an L12 structure that is an ordered face centered cubic structure with the X atoms located at the corners and aluminum atoms located on the cube faces of the unit cell.
    • [0020]
      Scandium forms Al3Sc dispersoids that are fine and coherent with the aluminum matrix. Lattice parameters of aluminum and Al3Sc are very close (0.405nm and 0.410nm respectively), indicating that there is minimal or no driving force for causing growth of the Al3Sc dispersoids. This low interfacial energy makes the Al3Sc dispersoids thermally stable and resistant to coarsening up to temperatures as high as about 842°F (450°C). Addition of magnesium in solid solution in aluminum increases the lattice parameter of the aluminum matrix, and decreases the lattice parameter mismatch further increasing the resistance of the Al3Sc to coarsening. Addition of copper increases the strength of alloys through precipitation of Al2Cu (θ') and Al2CuMg (S') phases. In the alloys of this invention these Al3Sc dispersoids are made stronger and more resistant to coarsening at elevated temperatures by adding suitable alloying elements such as gadolinium, yttrium, zirconium, titanium, hafnium, niobium, or combinations thereof, that enter Al3Sc in solution.
    • [0021]
      Erbium forms Al3Er dispersoids in the aluminum matrix that are fine and coherent with the aluminum matrix. The lattice parameters of aluminum and Al3Er are close (0.405 nm and 0.417 nm respectively), indicating there is minimal driving force for causing growth of the Al3Er dispersoids. This low interfacial energy makes the Al3Er dispersoids thermally stable and resistant to coarsening up to temperatures as high as about 842°F (450°C). Addition of magnesium in solid solution in aluminum increases the lattice parameter of the aluminum matrix, and decreases the lattice parameter mismatch further increasing the resistance of the Al3Er to coarsening. Addition of copper increases the strength of alloys through precipitation of Al2Cu (θ') and Al2CuMg (S') phases. In the alloys of this invention, these Al3Er dispersoids are made stronger and more resistant to coarsening at elevated temperatures by adding suitable alloying elements such as gadolinium, yttrium, zirconium, titanium, hafnium, niobium, or combinations thereof that enter Al3Er in solution.
    • [0022]
      Thulium forms metastable Al3Tm dispersoids in the aluminum matrix that are fine and coherent with the aluminum matrix. The lattice parameters of aluminum and Al3Tm are close (0.405 nm and 0.420 nm respectively), indicating there is minimal driving force for causing growth of the Al3Tm dispersoids. This low interfacial energy makes the Al3Tm dispersoids thermally stable and resistant to coarsening up to temperatures as high as about 842°F (450°C). Addition of magnesium in solid solution in aluminum increases the lattice parameter of the aluminum matrix and decreases the lattice parameter mismatch further increasing the resistance to coarsening of the dispersoid. Addition of copper increases the strength of alloys through precipitation of Al2Cu (θ') and Al2CuMg (S') phases. In the alloys of this invention these Al3Tm dispersoids are made stronger and more resistant to coarsening at elevated temperatures by adding suitable alloying elements such as gadolinium, yttrium, zirconium, titanium, hafnium, niobium, or combinations thereof that enter Al3Tm in solution.
    • [0023]
      Ytterbium forms Al3Yb dispersoids in the aluminum matrix that are fme and coherent with the aluminum matrix. The lattice parameters of Al and Al3Yb are close (0.405 nm and 0.420 nm respectively), indicating there is minimal driving force for causing growth of the Al3Yb dispersoids. This low interfacial energy makes the Al3Yb dispersoids thermally stable and resistant to coarsening up to temperatures as high as about 842°F (450°C). Addition of magnesium in solid solution in aluminum increases the lattice parameter of the aluminum matrix and decreases the lattice parameter mismatch further increasing the resistance to coarsening of the Al3Yb. Addition of copper increases the strength of alloys through precipitation of Al2Cu (θ') and Al2CuMg (S') phases. In the alloys of this invention, these Al3Yb dispersoids are made stronger and more resistant to coarsening at elevated temperatures by adding suitable alloying elements such as gadolinium, yttrium, zirconium, titanium, hafnium, niobium, or combinations thereof that enter Al3Yb in solution.
    • [0024]
      Lutetium forms Al3Lu dispersoids in the aluminum matrix that are fine and coherent with the aluminum matrix. The lattice parameters of Al and Al3Lu are close (0.405 nm and 0.419 nm respectively), indicating there is minimal driving force for causing growth of the Al3Lu dispersoids. This low interfacial energy makes the Al3Lu dispersoids thermally stable and resistant to coarsening up to temperatures as high as about 842°F (450°C). Addition of magnesium in solid solution in aluminum increases the lattice parameter of the aluminum matrix and decreases the lattice parameter mismatch further increasing the resistance to coarsening of Al3Lu. Addition of copper increases the strength of alloys through precipitation of Al2Cu (θ') and Al2CuMg (S') phases. In the alloys of this invention, these Al3Lu dispersoids are made stronger and more resistant to coarsening at elevated temperatures by adding suitable alloying elements such as gadolinium, yttrium, zirconium, titanium, hafnium, niobium, or mixtures thereof that enter Al3Lu in solution.
    • [0025]
      Gadolinium forms metastable Al3Gd dispersoids in the aluminum matrix that have an L12 structure in the metastable condition. The Al3Gd dispersoids are stable up to temperatures as high as about 842°F (450°C) due to their low diffusivity in aluminum. The Al3Gd dispersoids have a D019 structure in the equilibrium condition. Despite its large atomic size, gadolinium has fairly high solubility in the Al3X intermetallic dispersoids (where X is scandium, erbium, thulium, ytterbium or lutetium). Gadolinium can substitute for the X atoms in Al3X intermetallic, thereby forming an ordered L12 phase which results in improved thermal and structural stability.
    • [0026]
      Yttrium forms metastable Al3Y dispersoids in the aluminum matrix that have an L12 structure in the metastable condition and a D019 structure in the equilibrium condition. The metastable Al3Y dispersoids have a low diffusion coefficient which makes them thermally stable and highly resistant to coarsening. Yttrium has a high solubility in the Al3X intermetallic dispersoids allowing large amounts of yttrium to substitute for X in the Al3X L12 dispersoids which results in improved thermal and structural stability.
    • [0027]
      Zirconium forms Al3Zr dispersoids in the aluminum matrix that have an L12 structure in the metastable condition and D023 structure in the equilibrium condition. The metastable Al3Zr dispersoids have a low diffusion coefficient which makes them thermally stable and highly resistant to coarsening. Zirconium has a high solubility in the Al3X dispersoids allowing large amounts of zirconium to substitute for X in the Al3X dispersoids, which results in improved thermal and structural stability.
    • [0028]
      Titanium forms Al3Ti dispersoids in the aluminum matrix that have an Ll2 structure in the metastable condition and D022 structure in the equilibrium condition. The metastable Al3Ti dispersoids have a low diffusion coefficient which makes them thermally stable and highly resistant to coarsening. Titanium has a high solubility in the Al3X dispersoids allowing large amounts of titanium to substitute for X in the Al3X dispersoids, which results in improved thermal and structural stability.
    • [0029]
      Hafnium forms metastable Al3Hf dispersoids in the aluminum matrix that have an L12 structure in the metastable condition and a D023 structure in the equilibrium condition. The Al3Hf dispersoids have a low diffusion coefficient, which makes them thermally stable and highly resistant to coarsening. Hafnium has a high solubility in the Al3X dispersoids allowing large amounts of hafnium to substitute for scandium, erbium, thulium, ytterbium, and lutetium in the above mentioned Al3X dispersoids, which results in stronger and more thermally stable dispersoids.
    • [0030]
      Niobium forms metastable Al3Nb dispersoids in the aluminum matrix that have an L12 structure in the metastable condition and a D022 structure in the equilibrium condition. Niobium has a lower solubility in the Al3X dispersoids than hafnium or yttrium, allowing relatively lower amounts of niobium than hafnium or yttrium to substitute for X in the Al3X dispersoids. Nonetheless, niobium can be very effective in slowing down the coarsening kinetics of the Al3X dispersoids because the Al3Nb dispersoids are thermally stable. The substitution of niobium for X in the above mentioned Al3X dispersoids results in stronger and more thermally stable dispersoids.
    • [0031]
      Al3X L12 precipitates improve elevated temperature mechanical properties in aluminum alloys for two reasons. First, the precipitates are ordered intermetallic compounds. As a result, when the particles are sheared by glide dislocations during deformation, the dislocations separate into two partial dislocations separated by an anti-phase boundary on the glide plane. The energy to create the anti-phase boundary is the origin of the strengthening. Second, the cubic L12 crystal structure and lattice parameter of the precipitates are closely matched to the aluminum solid solution matrix. This results in a lattice coherency at the precipitate/matrix boundary that resists coarsening. The lack of an interphase boundary results in a low driving force for particle growth and resulting elevated temperature stability. Alloying elements in solid solution in the dispersed strengthening particles and in the aluminum matrix that tend to decrease the lattice mismatch between the matrix and particles will tend to increase the strengthening and elevated temperature stability of the alloy.
    • [0032]
      The amount of scandium present in the alloys of this invention, if any, may vary from about 0.1 to about 0.5 weight percent, more preferably from about 0.1 to about 0.35 weight percent, and even more preferably from about 0.1 to about 0.25 weight percent. The Al-Sc phase diagram shown in FIG. 2 indicates a eutectic reaction at about 0.5 weight percent scandium at about 1219°F (659°C) resulting in a solid solution of scandium and aluminum and Al3Sc dispersoids. Aluminum alloys with less than 0.5 weight percent scandium can be quenched from the melt to retain scandium in solid solution that may precipitate as dispersed L12 intermetallic Al3Sc following an aging treatment. Alloys with scandium in excess of the eutectic composition (hypereutectic alloys) can only retain scandium in solid solution by rapid solidification processing (RSP) where cooling rates are in excess of about 103°C/second.
    • [0033]
      The amount of erbium present in the alloys of this invention, if any, may vary from about 0.1 to about 6.0 weight percent, more preferably from about 0.1 to about 4 weight percent, and even more preferably from about 0.2 to 2 weight percent. The Al-Er phase diagram shown in FIG. 3 indicates a eutectic reaction at about 6 weight percent erbium at about 1211°F (655°C). Aluminum alloys with less than about 6 weight percent erbium can be quenched from the melt to retain erbium in solid solutions that may precipitate as dispersed L12 intermetallic Al3Er following an aging treatment. Alloys with erbium in excess of the eutectic composition can only retain erbium in solid solution by rapid solidification processing (RSP) where cooling rates are in excess of about 103°C/second. Alloys with erbium in excess of the eutectic composition (hypereutectic alloys) cooled normally will have a microstructure consisting of relatively large Al3Er dispersoid in a finely divided aluminum-Al3Er eutectic phase matrix.
    • [0034]
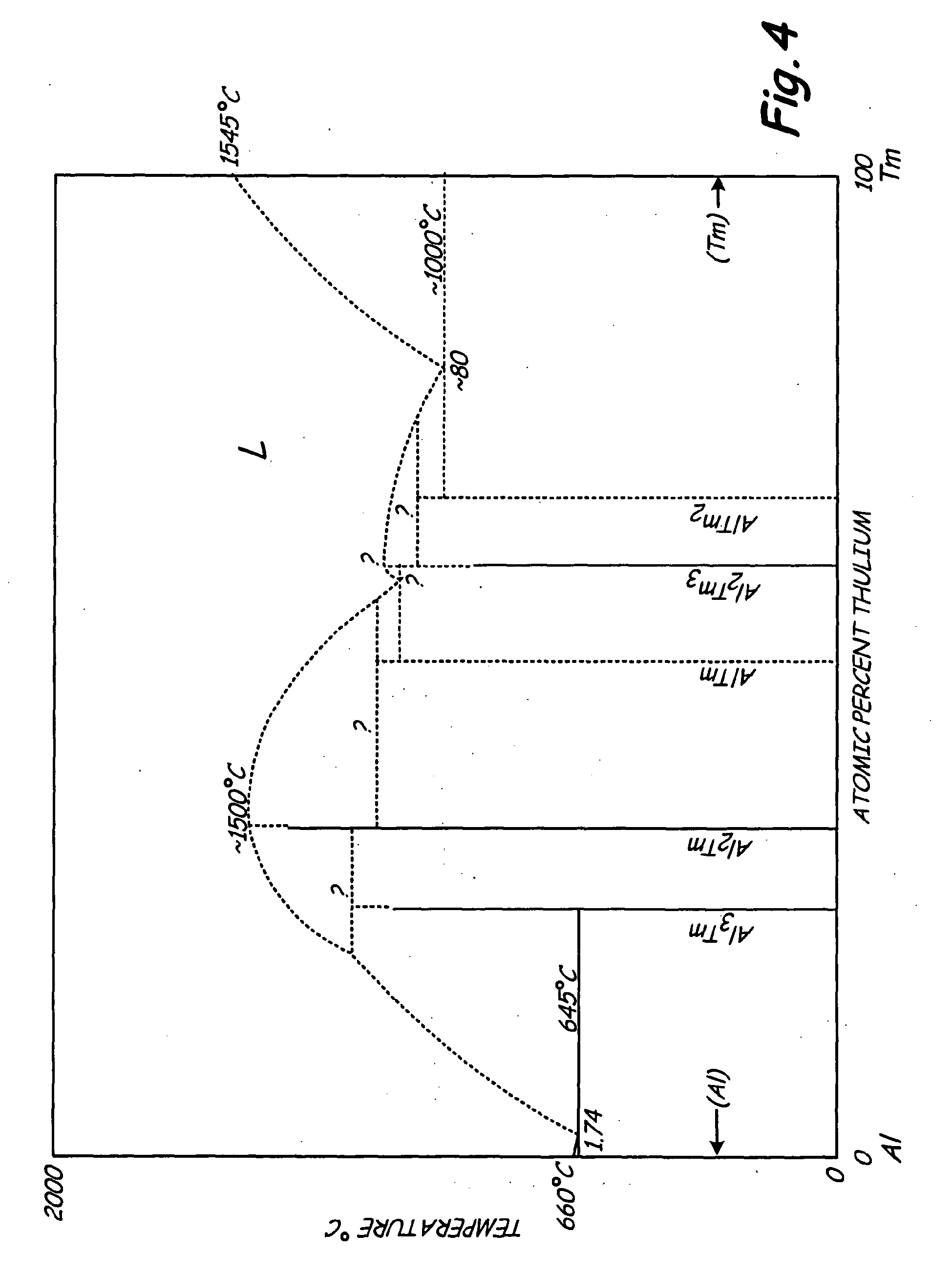
      The amount of thulium present in the alloys of this invention, if any, may vary from about 0.1 to about 10 weight percent, more preferably from about 0.2 to about 6 weight percent, and even more preferably from about 0.2 to about 4 weight percent. The Al-Tm phase diagram shown in FIG. 4 indicates a eutectic reaction at about 10 weight percent thulium at about 1193°F (645°C). Thulium forms metastable Al3Tm dispersoids in the aluminum matrix that have an L12 structure in the equilibrium condition. The Al3Tm dispersoids have a low diffusion coefficient which makes them thermally stable and highly resistant to coarsening. Aluminum alloys with less than 10 weight percent thulium can be quenched from the melt to retain thulium in solid solution that may precipitate as dispersed metastable L12 intermetallic Al3Tm following an aging treatment. Alloys with thulium in excess of the eutectic composition can only retain Tm in solid solution by rapid solidification processing (RSP) where cooling rates are in excess of about 103°C/second.
    • [0035]
      The amount of ytterbium present in the alloys of this invention, if any, may vary from about 0.1 to about 15 weight percent more preferably from about 0.2 to about 8 weight percent, and even more preferably from about 0.2 to about 4 weight percent. The Al-Yb phase diagram shown in FIG. 5 indicates a eutectic reaction at about 21 weight percent ytterbium at about 1157°F (625°C). Aluminum alloys with less than about 21 weight percent ytterbium can be quenched from the melt to retain ytterbium in solid solution that may precipitate as dispersed L12 intermetallic Al3Yb following an aging treatment. Alloys with ytterbium in excess of the eutectic composition can only retain ytterbium in solid solution by rapid solidification processing (RSP) where cooling rates are in excess of about 103°C/second.
    • [0036]
      The amount of lutetium present in the alloys of this invention, if any, may vary from about 0.1 to about 12 weight percent, more preferably from 0.2 to about 8 weight percent, and even more preferably from about 0.2 to about 4 weight percent. The Al-Lu phase diagram shown in FIG. 6 indicates a eutectic reaction at about 11.7 weight percent Lu at about 1202 °F (650°C). Aluminum alloys with less than about 11.7 weight percent lutetium can be quenched from the melt to retain Lu in solid solution that may precipitate as dispersed L12 intermetallic Al3Lu following an aging treatment. Alloys with Lu in excess of the eutectic composition can only retain Lu in solid solution by rapid solidification processing (RSP) where cooling rates are in excess of about 103°C/second.
    • [0037]
      The amount of gadolinium present in the alloys of this invention, if any, may vary from about 0.1 to about 4 weight percent, more preferably from 0.2 to about 2 weight percent, and even more preferably from about 0.5 to about 2 weight percent.
    • [0038]
      The amount of yttrium present in the alloys of this invention, if any, may vary from about 0.1 to about 4 weight percent, more preferably from 0.2 to about 2 weight percent, and even more preferably from about 0.5 to about 2 weight percent.
    • [0039]
      The amount of zirconium present in the alloys of this invention, if any, may vary from about 0.05 to about 1 weight percent, more preferably from 0.1 to about 0.75 weight percent, and even more preferably from about 0.1 to about 0.5 weight percent.
    • [0040]
      The amount of titanium present in the alloys of this invention, if any, may vary from about 0.05 to 2 about weight percent, more preferably from 0.1 to about 1 weight percent, and even more preferably from about 0.1 to about 0.5 weight percent.
    • [0041]
      The amount of hafnium present in the alloys of this invention, if any, may vary from about 0.05 to about 2 weight percent, more preferably from 0.1 to about 1 weight percent, and even more preferably from about 0.1 to about 0.5 weight percent.
    • [0042]
      The amount of niobium present in the alloys of this invention, if any, may vary from about 0.05 to about 1 weight percent, more preferably from 0.1 to about 0.75 weight percent, and even more preferably from about 0.1 to about 0.5 weight percent.
    • [0043]
      In order to have the best properties for the alloys of this invention, it is desirable to limit the amount of other elements. Specific elements that should be reduced or eliminated include no more than about 0.1 weight percent iron, 0.1 weight percent chromium, 0.1 weight percent manganese, 0.1 weight percent vanadium, 0.1 weight percent cobalt, and 0.1 weight percent nickel. The total quantity of additional elements should not exceed about 1% by weight, including the above listed elements.
    • [0044]
      Other additions in the inventive alloys include at least one of about 0.001 weight percent to about 0.10 weight percent sodium, about 0.001 weight percent to about 0.10 weight percent calcium, about 0.001 to about 0.10 weight percent strontium, about 0.001 to about 0.10 weight percent antimony, 0.001 to 0.10 weight percent barium and about 0.001 to about 0.10 weight percent phosphorus. These are added to refine the microstructure of the eutectic phase and the primary silicon particle morphology and size.
    • [0045]
      These aluminum alloys may be made by any and all consolidation and fabrication processes known to those in the art such as casting (without further deformation), deformation processing (wrought processing), rapid solidification processing, forging, extrusion, rolling, die forging, powder metallurgy and others. The rapid solidification process should have a cooling rate greater that about 103°C/second including but not limited to powder processing, atomization, melt spinning, splat quenching, spray deposition, cold spray, plasma spray, laser melting and deposition, ball milling and cryomilling.
    • [0046]
      Preferred exemplary aluminum alloys of this invention include, but are not limited to (in weight percent):
      • about Al-(4-18)Si-(0.1-0.35)Sc-(0.2-2)Gd;
      • about Al-(4-18)Si-(0.1-4)Er-(0.2-2)Gd;
      • about Al-(4-18)Si-(0.2-6)Tm-(0.2-2)Gd;
      • about Al-(4-18)Si-(0.2-8)Yb-(0.2-2)Gd;
      • about Al-(4-18)Si-(0.2-8)Lu-(0.2-2)Gd;
      • about Al-(4-18)Si-(0.1-0.35)Sc-(0.2-2)Y;
      • about Al-(4-18)Si-(0.1-4)Er-(0.2-2)Y;
      • about Al-(4-18)Si-(0.2-6)Tm-(0.2-2)Y;
      • about Al-(4-18)Si-(0.2-8)Yb-(0.2-2)Y;
      • about Al-(4-18)Si-(0.2-8)Lu-(0.2-2)Y;
      • about Al-(4-18)Si-(0.1-0.35)Sc-(0.1-0.75)Zr;
      • about Al-(4-18)Si-(0.1-4)Er-(0.1-0.75)Zr;
      • about Al-(4-18)Si-(0.2-6)Tm-(0.1-0.75)Zr;
      • about Al-(4-18)Si-(0.2-8)Yb-(0.1-0.75)Zr;
      • about Al-(4-18)Si-(0.2-8)Lu-(0.1-0.75)Zr;
      • about Al-(4-18)Si-(0.1-0.35)Sc-(0.1-1)Ti;
      • about Al-(4-18)Si-(0.1-4)Er-(0.1-1)Ti;
      • about Al-(4-18)Si-(0.2-6)Tm-(0.1-1)Ti;
      • about Al-(4-18)Si-(0.2-8)Yb-(0.1-1)Ti;
      • about Al-(4-18)Si-(0.2-8)Lu-(0.1-1)Ti;
      • about Al-(4-18)Si-(0.1-0.35)Sc-(0.1-1)Hf;;
      • about Al-(4-18)Si-(0.1-4)Er-(0.1-1)Hf;
      • about Al-(4-18)Si-(0.2-6)Tm-(0.1-1)Hf;
      • about Al-(4-18)Si-(0.2-8)Yb-(0.1-1)Hf;
      • about Al-(4-18)Si-(0.2-8)Lu-(0.1-1)Hf;
      • about Al-(4-18)Si-(0.1-0.35)Sc-(0.1-0.75)Nb;
      • about Al-(4-18)Si-(0.2-2)Er-(0.1-0.75)Nb;
      • about Al-(4-18)Si-(0.2-6)Tm-(0.1-0.75)Nb;
      • about Al-(4-18)Si-(0.2-8)Yb-(0.1-0.75)Nb; and
      • about Al-(4-18)Si-(0.2-8)Lu-(0.1-0.75)Nb.
    • [0047]
      Examples of similar alloys to these are alloys with the addition of about 0.2-3 weight percent Mg, more preferably alloys with the addition of about 0.3-1.5 weight percent Mg, and even more preferably alloys with the addition of about 0.5-1.5 weight percent Mg; and alloys with the addition of about 0.5-5 weight percent Cu, more preferably alloys with the addition of about 1-4 weight percent Cu, and even more preferably alloys with the addition of about 2-4 weight percent Cu.
    • [0048]
      Even more preferred exemplary aluminum alloys of this invention include, but are not limited to (in weight percent):
      • about Al-(5-11)Si-(0.1-0.25)Sc-(0.5-2)Gd;
      • about Al-(5-11)Si-(0.2-2)Er-(0.5-2)Gd;
      • about Al-(5-11)Si-(0.2-4)Tm-(0.5-2)Gd;
      • about Al-(5-11)Si-(0.2-4)Yb-(0.5-2)Gd;
      • about Al-(5-11)Si-(0.2-4)Lu-(0.5-2)Gd;
      • about Al-(5-11)Si-(0.1-0.25)Sc-(0.5-2)Y;
      • about Al-(5-11)Si-(0.2-2)Er-(0.5-2)Y;
      • about Al-(5-11)Si-(0.2-4)Tm-(0.5-2)Y;
      • about Al-(5-11)Si-(0.2-4)Yb-(0.5-2)Y;
      • about Al-(5-11)Si-(0.2-4)Lu-(0.5-2)Y;
      • about Al-(5-11)Si-(0.1-0.25)Sc-(0.1-0.5)Zr;
      • about Al-(5-11)Si-(0.2-2)Er-(0.1-0.5)Zr;
      • about Al-(5-11)Si-(0.2-4)Tm-(0.1-0.5)Zr;
      • about Al-(5-11)Si-(0.2-4)Yb-(0.1-0.5)Zr;
      • about Al-(5-11)Si-(0.2-4)Lu-(0.1-0.5)Zr;
      • about Al-(5-11)Si-(0.1-0.25)Sc-(0.1-0.5)Ti;
      • about Al-(5-11)Si-(0.2-2)Er-(0.1-0.5)Ti;
      • about Al-(5-11)Si-(0.2-4)Tm-(0.1-0.5)Ti;
      • about Al-(5-11)Si-(0.2-4)Yb-(0.1-0.5)Ti;
      • about Al-(5-11)Si-(0.2-4)Lu-(0.1-0.5)Ti;
      • about Al-(5-11)Si-(0.1-0.25)Sc-(0.1-0.5)Hf;
      • about Al-(5-11)Si-(0.2-2)Er-(0.1-0.5)Hf;
      • about Al-(5-11)Si-(0.2-4)Tm-(0.1-0.5)Hf;
      • about Al-(5-11)Si-(0.2-4)Yb-(0.1-0.5)Hf;
      • about Al-(5-11)Si-(0.2-4)Lu-(0.1-0.5)Hf;
      • about Al-(5-11)Si-(0.1-0.25)Sc-(0.1-0.5)Nb;
      • about Al-(5-11)Si-(0.2-2)Er-(0.1-0.5)Nb;
      • about Al-(5-11)Si-(0.2-4)Tm-(0.1-0.5)Nb;
      • about Al-(5-11)Si-(0.2-4)Yb-(0.1-0.5)Nb; and
      • about Al-(5-11)Si-(0.2-4)Lu-(0.1-0.5)Nb.
    • [0049]
      Examples of similar alloys to these are alloys with the addition of about 0.2-3 weight percent Mg, more preferably alloys with the addition of about 0.3-1.5 weight percent Mg, and even more preferably alloys with the addition of about 0.5-1.5 weight percent Mg; and alloys with the addition of about 0.5-5 weight percent Cu, more preferably alloys with the addition of about 1-4 weight percent Cu, and even more preferably alloys with the addition of about 2-4 weight percent Cu.
    • [0050]
      Although the present invention has been described with reference to preferred embodiments, workers skilled in the art will recognize that changes may be made in form and detail without departing from the scope of the invention.
    Patent Citations
    Cited PatentFiling datePublication dateApplicantTitle
    EP0208631A1 *Jun 25, 1986Jan 14, 1987Cegedur Societe De Transformation De L'aluminium PechineyAluminium alloys with a high lithium and silicon content, and process for their manufacture
    EP1439239A1 *Jan 15, 2004Jul 21, 2004United TechnologiesAn aluminium based alloy
    JPH11156584A * Title not available
    US4874440 *Aug 14, 1987Oct 17, 1989Aluminum Company Of AmericaSuperplastic aluminum products and alloys
    US6248453Dec 22, 1999Jun 19, 2001United Technologies CorporationHigh strength aluminum alloy
    US20060269437May 31, 2005Nov 30, 2006Pandey Awadh BHigh temperature aluminum alloys
    WO1995032074A2 *May 24, 1995Nov 30, 1995Ashurst CorporationAluminum-scandium alloys and uses thereof
    WO1996010099A1 *Sep 25, 1995Apr 4, 1996Ashurst Technology Corporation (Ireland) LimitedHigh strength aluminum casting alloys for structural applications
    WO2005047554A1 *Nov 3, 2004May 26, 2005Eads Deutschland GmbhAl/mg/si cast aluminium alloy containing scandium
    Non-Patent Citations
    Reference
    1 *RIDDLE, Y. W. ET AL: "A study of coarsening, recrystallization, and morphology of microstructure in Al-Sc-(Zr)-(Mg) alloys", METALLURGICAL AND MATERIALS TRANSACTIONS A: PHYSICAL METALLURGY AND MATERIALS SCIENCE , VOLUME DATE 2004, 35A(1), 341-350 CODEN: MMTAEB; ISSN: 1073-5623, 2003, XP002528950
    Referenced by
    Citing PatentFiling datePublication dateApplicantTitle
    EP2251447A1 *Mar 31, 2010Nov 17, 2010United Technologies CorporationSpray deposition of L12 aluminum alloys
    EP3019291A4 *Jul 9, 2014Mar 1, 2017Alcoa IncMethods for producing forged products and other worked products
    CN103370429A *Feb 10, 2012Oct 23, 2013布鲁内尔大学Method of refining metal alloys
    CN103370429B *Feb 10, 2012Nov 23, 2016布鲁内尔大学细化金属合金的方法
    CN104651673A *Mar 9, 2015May 27, 2015苏州圣谱拉新材料科技有限公司Stretch-proof nickel-aluminum alloy material and preparation method thereof
    WO2012110788A3 *Feb 10, 2012Oct 26, 2012Brunel UniversityMethod of refining metal alloys
    WO2012171552A1 *Jun 14, 2011Dec 20, 2012Federal-Mogul Nürnberg GmbHPiston for an internal combustion engine, method for producing a piston and use of an alloy for casting a piston
    WO2015166167A1 *Apr 22, 2015Nov 5, 2015Saint Jean IndustriesMethod for the production of parts made from metal or metal matrix composite and resulting from additive manufacturing followed by an operation involving the forging of said parts
    Classifications
    International ClassificationC22C21/04, C22F1/043
    Cooperative ClassificationC22C21/02, B21B1/46, B21C23/002, C22C21/04, B21J5/00, C22C1/026, C22F1/043
    European ClassificationC22C21/04, C22F1/043
    Legal Events
    DateCodeEventDescription
    Oct 28, 2009AKDesignated contracting states:
    Kind code of ref document: A1
    Designated state(s): AT BE BG CH CY CZ DE DK EE ES FI FR GB GR HR HU IE IS IT LI LT LU LV MC MK MT NL NO PL PT RO SE SI SK TR
    Oct 28, 2009AXRequest for extension of the european patent to
    Countries concerned: ALBARS
    Mar 17, 201017PRequest for examination filed
    Effective date: 20100203
    Mar 31, 201017QFirst examination report
    Effective date: 20100302
    Jul 7, 2010AKXPayment of designation fees
    Designated state(s): DE GB
    Mar 30, 201618DDeemed to be withdrawn
    Effective date: 20151020