Account Options

  1. Sign in
    Screen reader users: click this link for accessible mode. Accessible mode has the same essential features but works better with your reader.

    Patents

    1. Advanced Patent Search
    Publication numberEP2277686 A2
    Publication typeApplication
    Application numberEP20100181371
    Publication dateJan 26, 2011
    Filing dateMar 13, 2001
    Priority dateMar 13, 2000
    Also published asDE60123595D1, DE60123595T2, EP1274551A2, EP1274551A4, EP1274551B1, EP2277686A3, EP2277686B1, EP2298540A2, EP2298540A3, EP2298540B1, US6569373, US20020008333, WO2001068375A2, WO2001068375A3
    Publication number10181371, 10181371.5, 2010181371, EP 2277686 A2, EP 2277686A2, EP-A2-2277686, EP10181371, EP20100181371, EP2277686 A2, EP2277686A2
    InventorsEduardo Napadensky, Hanan Gothait
    ApplicantObjet Geometries Ltd.
    Export CitationBiBTeX, EndNote, RefMan
    External Links: Espacenet, EP Register
    Compositions and methods for use in three dimensional model printing
    EP 2277686 A2
    Abstract
    Compositions for use in the manufacture of 3-D objects including compositions for use as a support and/or release material in the manufacture of said 3-D objects are provided. The compositions for use in the manufacture of 3-D objects comprise at least one reactive component, at least one photo-initiator, at least one surface-active agent and at least one stabilizer. The compositions for use as a support and/or release material comprise at least one nonreactive and low-toxicity compound, at least one surface-active agent, at least one stabilizer and optionally at least one reactive component and at least one photo-initiator. Methods for manufacturing a 3-D object using the compositions of the present invention are also provided.
    Images(2)
    Previous page
    Next page
    Claims(9)
    1. A composition comprising:
      a combination of at least one acrylic oligomer and least one acrylic monomer;
      at least one photo-initiator;
      at least one surface-active agent; and
      at least one stabilizer;
      wherein said composition has a first viscosity between 80 and 300 mPa·s (cps) at room temperature, and a second viscosity lower than 20 mPa·s (cps) at a second temperature higher than room temperature, after radiation the composition results in a solid material and the composition is for use in the manufacture of three-dimensional objects by a method of selective dispensing.
    2. The composition according to claim 1, wherein the combination is a modeling material for three-dimensional inkjet printing.
    3. The composition according to claim 1 or 2, further comprising at least one of a molecule having one or more epoxy substituents, a molecule having one or more vinyl ether substituents, vinylcaprolactam, vinylpyrolidone, or any combination thereof.
    4. The composition according to any preceding claim, further comprising an acrylic crosslinker.
    5. The composition according to any preceding claim, wherein said composition further comprises a molecule having one or more epoxy substitutents, a molecule having one or more vinyl ether substituents, vinylcaprolactam, vinylpyrolidone, or any combination thereof.
    6. The composition according to any one of claims 1 to 4, further comprising vinylcaprolactam.
    7. The composition according to any preceding claim, wherein said photo-initiator is a free radical photo-initiator, a cationic photo-initiator, or any combination thereof.
    8. The composition according to any preceding claim, further comprising at least one pigment and at least one dispersant.
    9. The composition according to any preceding claim, wherein said second viscosity is 11 mPa·s (cps) and wherein said second temperature is about 85°C.
    Description
      FIELD OF THE INVENTION
    • [0001]
      The present invention relates to three-dimensional (3-D) modeling in general and to methods and compositions for use in 3-D printing of complex structures in particular.
    • BACKGROUND OF THE INVENTION
    • [0002]
      3-D printing, which works by building parts in layers, is a process used for the building up of 3-D models. 3-D printing is relatively speedy and flexible, allowing for the production of prototype parts and tooling directly from a CAD model, for example.
    • [0003]
      3-D printing enables the manufacturer to obtain a full 3-D model of any proposed product before tooling, thereby possibly substantially reducing the cost of tooling and leading to a better synchronization between design and manufacturing. A lower product cost and improved product quality can also be obtained.
    • [0004]
      Various systems have been developed for computerized 3-D printing. In US Patent No. 6,259,962 to the Assignees of the present application, and incorporated herein by reference, there is described an apparatus and a method for 3-D model printing. U.S. Patent No. 6,259,962 describes apparatus including a printing head having a plurality of nozzles, a dispenser connected to the printing head for selectively dispensing interface material in layers, and curing means for optionally curing each of the layers deposited. The depth of each deposited layer is controllable by selectively adjusting the output from each of the plurality of nozzles.
    • [0005]
      In US Patent Application No: 09/412,618 to the Assignees of the present invention, and incorporated herein by reference, there is described an apparatus and a method for 3-D model printing. U.S. Patent Application 09/412,618 describes a system and a method for printing complex 3-D models by using interface materials having different hardness or elasticity and mixing the interface material from each of the printing heads to control the hardness of the material forming the 3-D model. The construction layers of the model are formed from interface material having a different (harder) modulus of elasticity than the material used to form the release (and support) layers, thereby allowing for the forming of complex shapes.
    • [0006]
      Radiation curable inks are disclosed in U.S. Patent Nos. 4,303,924 , 5,889,084 , and 5,270,368 . U.S. Patent No. 4,303,924 discloses radiation curable compositions for jet-drop printing containing multifunctional ethylenically unsaturated material, monofunctional ethylenically unsaturated material, a reactive synergist, a dye colorant and an oil soluble salt. U.S. Patent No. 5,889,084 discloses a radiation curable ink composition for ink-jet printing which comprises a cationically photoreactive epoxy or vinyl ether monomer or oligomer, a cationic photo-initiator and a coloring agent. U.S. Patent No. 5,270,368 discloses a UV curable ink composition for ink-jet printing comprising a resin formulation having at least two acrylate components, a photo-initiator and an organic carrier.
    • [0007]
      The ink compositions disclosed in these references are formulated for use in ink-jet printing. Compositions for ink-jet printing are formulated differently from compositions for building 3-D models, and thus have different properties. For example, high viscosity at room temperature is a desirable property for 3-D objects, and thus compositions for building 3-D models are designed to have a high viscosity at room temperature. In contrast, compositions for ink-jet printing are designed to have low viscosity at room temperature in order to function well in the printing process. None of the above-mentioned references disclose compositions that are especially formulated for 3-D printing. Radiation curable inks for 3-D objects are disclosed in U.S. Patent No. 5,705,316 . U.S. 5,705,316 discloses compounds having at least one vinyl ether group, which also contain in the molecule at least one other functional group such as an epoxy or an acrylate group; compositions comprising these compounds; and methods of producing 3-D objects using these compositions. The compounds of U.S. 5,705,316 are complex molecules that are not readily available and thus need to be especially synthesized, which incurs additional time and costs.
    • [0008]
      None of the above mentioned references provides simple, easily obtainable curable compositions that are suitable for use in 3-D printing. In addition, the above mentioned references do not provide compositions for use in supporting and/or releasing a 3-D model during construction. Finally, the above mentioned references do not provide methods for 3-D printing, by using interface materials having different hardness or elasticity and by mixing the interface materials to control the hardness of the material forming the 3-D model.
    • [0009]
      Thus, there is a need for simple, easily obtainable curable compositions, that are specially formulated to construct a 3-D model. There is further a need for simple, easily obtainable curable compositions, that are specially formulated to provide support to a 3-D, by forming support/and or release layers around a 3-D object during construction. Lastly, there is a need for methods of constructing a 3-D model by using the above mentioned compositions.
    • SUMMARY OF THE INVENTION
    • [0010]
      The present invention relates to compositions for use in the manufacture of 3-D objects. The present invention further relates to compositions for use as support and/or release material in the manufacture of said 3-D objects. The present invention further relates to a method for the preparation of a 3-D object by 3-D printing, and to a 3-D object obtained by said method.
    • [0011]
      There is thus provided, in accordance with an embodiment of the present invention, a method for the preparation of a three dimensional object by three dimensional printing. The method comprises the steps of:
      • dispensing a first interface material from a dispenser, the first interface material comprising:
        • at least one reactive component;
        • at least one photo-initiator;
        • at least one surface-active agent; and
        • at least one stabilizer;
      • dispensing a second interface material from a dispenser,
      • the second interface material comprising:
        • at least one non-reactive and low toxicity compound;
        • at least one surface-active agent; and
        • at least one stabilizer; and
      • combining the first interface material and the second interface material in pre-determined proportions;
      • curing the first interface materials resulting in a solid form; and irradiating or curing the second interface materials resulting in a liquid or a semi-solid form;
      • whereby producing a multiplicity of construction layers for forming a three dimensional object.
    • [0012]
      Furthermore, in accordance with an embodiment of the present invention, the reactive component of the first interface material is an acrylic component, a molecule having one or more epoxy substituents, a molecule having one or more vinyl ether substituents, vinylpyrolidone, vinylcaprolactam, or any combination thereof.
    • [0013]
      Furthermore, in accordance with an embodiment of the present invention, the photo-initiator of the first interface material is a free radical photo-initiator, a cationic photo-initiator or any combination thereof.
    • [0014]
      Furthermore, in accordance with an embodiment of the present invention, the first interface material further comprises at least one pigment and at least one dispersant. In one embodiment, the first interface material further comprises a dye.
    • [0015]
      Furthermore, in accordance with an embodiment of the present invention, the second interface material further comprises at least one reactive component and at least one photo-initiator. The reactive component is at least one of an acrylic component, a molecule having one or more vinyl ether substituents, or the reactive component is a water miscible component that is, after curing, capable of swelling upon exposure to water or to an alkaline or acidic water solution or any combination thereof.
    • [0016]
      Furthermore, in accordance with an embodiment of the present invention, the non-reactive component is polyethylene glycol, methoxy polyethylene glycol, glycerol, ethoxylated polyol, or propylene glycol or any combination thereof.
    • [0017]
      Furthermore, in accordance with an embodiment of the present invention, the first interface material and the second interface material have a different modulus of elasticity and a different strength. In one embodiment, the first interface material has a higher modulus of elasticity and a higher strength than the second interface material.
    • [0018]
      Furthermore, in accordance with an embodiment of the present invention, the method further comprises the step of forming a multiplicity of support layers for supporting the object. In one embodiment, the support layers are formed by combining the first interface material and the second interface material in pre-determined proportions. In one embodiment, the support layers have the same modulus of elasticity and the same strength as the construction layers. In another embodiment, the support layers have a lower modulus of elasticity and a lower strength than the construction layers.
    • [0019]
      Furthermore, in accordance with an embodiment of the present invention, the method further comprises the step of combining the first interface material and the second interface material in pre-determined proportions to form a multiplicity of release layers for releasing the support layers from the object. In one embodiment, the release layers have a lower modulus of elasticity and a lower strength than the construction layers and the support layers.
    • [0020]
      Furthermore, in accordance with an embodiment of the present invention, the first interface material and said second interface material each have a first viscosity at room temperature, and a second viscosity compatible with ink-jet printers at a second temperature, which may be the same or different, wherein said second temperature is higher than room temperature.
    • [0021]
      In addition, there is thus provided, in accordance with another embodiment of the present invention, a three dimensional object comprised of a core consisting of a multiplicity of construction layers. The construction layers are prepared by combining pre-determined proportions of the first interface material and the second interface material, described hereinabove.
    • [0022]
      Furthermore, in accordance with an embodiment of the present invention, the object further comprises a multiplicity of support layers for supporting the core. In one embodiment, the support layers are prepared by combining pre-determined proportions of the first interface material and a second interface material. In one embodiment, the support layers have the same modulus of elasticity and the same strength as the construction layers. In another embodiment, the support layers have a lower modulus of elasticity and a lower strength than the construction layers.
    • [0023]
      Furthermore, in accordance with a preferred embodiment of the present invention, the object further comprises a multiplicity of release layers for releasing the support layers from the core. In one embodiment, the release layers are positioned between the support layers and the construction layers. The release layers are prepared by combining pre-determined proportions of the first interface material and a second interface material. In one embodiment, the release layers have a lower modulus of elasticity and a lower strength than the construction layers and the support layers.
    • [0024]
      In addition, there is thus provided, in accordance with an embodiment of the present invention, a first interface material composition suitable for building of three-dimensional objects by a method of selective dispensing. The composition comprises:
      • at least one reactive (meth)acrylic component;
      • at least one photo-initiator;
      • at least one surface-active agent; and
      • at least one stabilizer;
    • [0025]
      The composition has a first viscosity above 50 cps at room temperature, and a second viscosity compatible with ink-jet printers at a second temperature, wherein the second temperature is higher than room temperature;
      The composition is cured resulting in a solid form.
    • [0026]
      In accordance with an embodiment of the present invention, the reactive component further comprises a molecule having one or more epoxy substituents, a molecule having one or more vinyl ether substituents, vinylcaprolactam, vinylpyrolidone, or any combination thereof.
    • [0027]
      Furthermore, in accordance with an embodiment of the present invention, the photo-initiator is a free radical photo-initiator, a cationic photo-initiator, or any combination thereof.
    • [0028]
      Furthermore, in accordance with an embodiment of the present invention, the composition further comprises at least one pigment and at least one dispersant. In one embodiment, the composition further comprises a dye.
    • [0029]
      Furthermore, in accordance with an embodiment of the present invention, the first viscosity of the composition is greater than 80 cps. In one embodiment, the first viscosity is between 80 and 300 cps. In another embodiment, the first viscosity is around 300 cps.
    • [0030]
      Furthermore, in accordance with an embodiment of the present invention, the second viscosity of the composition is lower than 20 cps at a second temperature, which is greater than 60°C. Preferably, the second viscosity is between 8 and 15 cps at the second temperature, which is greater than 60°C.
    • [0031]
      In one embodiment, the second viscosity is about 11 cps at a temperature around 85°C.
    • [0032]
      In addition, in accordance with another embodiment of the present invention, there is thus provided a second interface material composition suitable for use in support layers for three-dimensional objects by a method of selective dispensing. The composition comprises:
      • at least one (meth)acrylic reactive component;
      • at least one non-reactive and low toxicity component;
      wherein the non-reactive component is not reactive with the (meth)acrylic reactive component,
      • at least one free radical photo-initiator;
      • at least one surface-active agent; and
      • at least one stabilizer;
    • [0033]
      The composition has a first viscosity above 50 cps at room temperature, and a second viscosity compatible with ink-jet printers at a second temperature, wherein said second temperature is higher than room temperature;
      The composition is irradiated or cured resulting in a semi-solid form.
    • [0034]
      In accordance with an embodiment of the present invention, the composition further comprises a molecule having one or more vinyl ether substituents, a water miscible component that is, after curing, capable of swelling upon exposure to water or to an alkaline or acidic water solution, or a combination thereof. In another embodiment, the water miscible component is a (meth)acrylated urethane oligomer derivative of polyethylene glycol, a partially (meth)acrylated polyol oligomer, a (meth)acrylated oligomer having hydrophilic substituents, polyethylene glycol mono or di (meth)acrylated, or any combination thereof.
    • [0035]
      Furthermore, in accordance with an embodiment of the present invention, the non-reactive component is polyethylene glycol, methoxy polyethylene glycol, glycerol, ethoxylated polyol, or propylene glycol or any combination thereof.
    • [0036]
      Furthermore, in accordance with an embodiment of the present invention, the first viscosity of the composition is greater than 80 cps. In one embodiment, the first viscosity is between 80 and 300 cps. In another embodiment, the first viscosity is around 200 cps.
    • [0037]
      Furthermore, in accordance with an embodiment of the present invention, the second viscosity of the composition is lower than 20 cps at a second temperature, which is greater than 60°C. In another embodiment, the second viscosity is between 8 and 15 cps at the second temperature, which is greater than 60°C. In another embodiment, the second viscosity is about 11 cps at a temperature around 85°C.
    • [0038]
      Furthermore, in accordance with an embodiment of the present invention, the second interface composition further comprising a component able to produce gas upon exposure to water or to an alkaline or acidic solution. In another embodiment, the component able to produce gas upon exposure to water or to an alkaline or acidic solution is sodium bicarbonate.
    • BRIEF DESCRIPTION OF THE DRAWINGS
    • [0039]
      The present invention will be understood and appreciated more fully from the following detailed description taken in conjunction with the appended drawings in which:
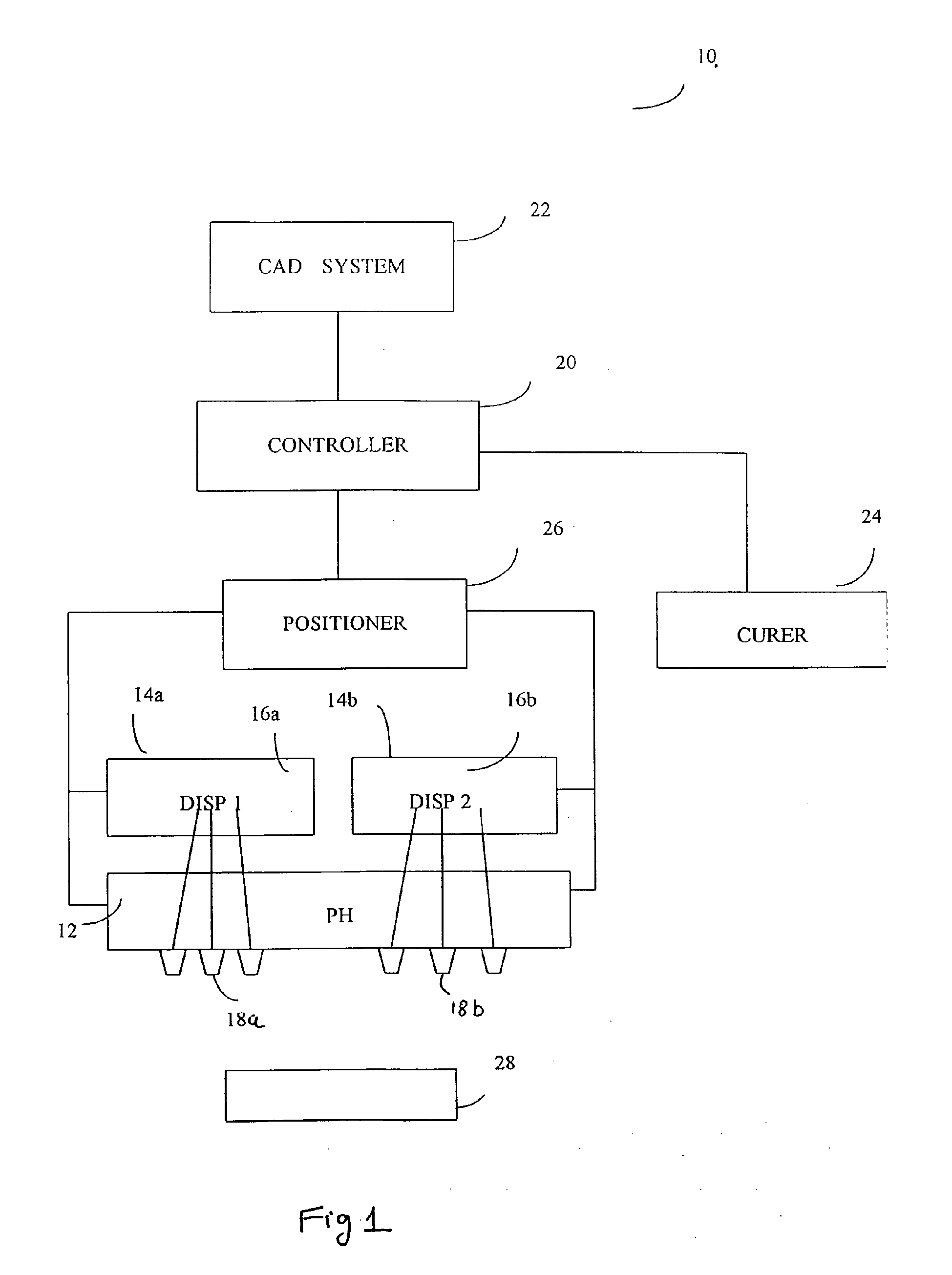
      • Fig. 1 is a schematic illustration of an embodiment of a 3-D printing system, described in US Patent Application No: 09/412,618 , assigned to the Assignees of the present application; and
      • Fig. 2 is an elevational view of a 3-D object, constructed in accordance with an embodiment of the present invention.
    • DETAILED DESCRIPTION OF THE PRESENT INVENTION
    • [0040]
      The present invention relates to compositions for use in the manufacture of 3-D objects, and to compositions for use as a support and/release material in the manufacture of 3-D objects. The present invention further relates to a method for the preparation of a 3-D object by 3-D printing, using the above-mentioned compositions, and to a 3-D object obtained by said method.
    • [0041]
      The composition for use in the manufacture of the 3-D objects comprises at least one reactive component, at least one photo-initiator, at least one surface-active agent and at least one stabilizer. The composition is formulated so as to be compatible for use with ink-jet printers and to have a viscosity at room temperature above 50 cps.
    • [0042]
      The composition for use as a support and/or second interface material in the manufacture of the 3-D objects comprises at least one non-reactive and low-toxicity component, at least one surface-active agent and at least one stabilizer. The composition may further contain at least one reactive component and at least one photo-initiator. The composition is formulated so as to be compatible for use with ink-jet printers and to have a viscosity at room temperature above 50 cps.
    • [0043]
      The compositions will be described in further detail below.
    • [0044]
      The 3-D object of the present invention can be built using a 3-D printing system similar to the one described in US Patent Application No. 09/412,618 , assigned to the Assignees of the present application and incorporated herein by reference. The 3-D printing system is shown in Fig 1, to which reference is now made. Fig 1 is an illustration of a 3-D printing system, generally designated 10, which includes one or more printing heads, referenced 12, and at least two dispensers generally referenced 14 and individually referenced 14a and 14b, containing interface materials, generally referenced 16 and individually referenced 16a and 16b, respectively.
    • [0045]
      Printing head 12 has a plurality of ink-jet type nozzles 18, through which interface materials 16a and 16b are jetted. In one embodiment, first dispenser 14a is connected to a first set of nozzles, referenced 18a, and second dispenser 14b is connected to a second set of nozzles, referenced 18b. Thus first interface material 16a is jetted through nozzles 18a, and second interface material 16b is jetted through nozzles 18b. Alternatively, in another embodiment (not shown), the 3-D printing system may comprise at least two printing heads. The first printing head is connected to first dispenser 14a and is used to jet first interface material 16a; and the second printing head is connected to second dispenser 14b is used to jet second interface material 16b.
    • [0046]
      The 3-D printing system 10 further includes a controller 20, a Computer Aided Design (CAD) system 22, curing unit 24, and optionally a positioning apparatus 26. The controller 20 is coupled to the CAD system 22, curing unit 24, positioning apparatus 26, printing head 12 and each of the dispensers 14.
    • [0047]
      The 3-D object being produced (28) is built in layers, the depth of each layer being controllable by selectively adjusting the output from each of the ink-jet nozzles 18.
    • [0048]
      By combining or mixing materials from each of the dispensers, wherein each dispenser contains interface material having a different hardness, it is possible to adjust and control the hardness of the material forming the 3-D object being produced. Thus, by combining the interface material being output from each of the dispensers, different parts of the 3-D object having a different modulus of elasticity and a different strength can be produced.
    • [0049]
      As used hereinafter, the term "strength" is used as a relative term to indicate the difference in modulus of elasticity among interface materials. The strength of a material may be described by reference to its modulus of elasticity, which may be defined as: "the ratio of stress to its corresponding strain under given conditions of load, for materials that deform elastically, according to Hooke's law".
    • [0050]
      In accordance with one embodiment of the present invention, the first dispenser 14a contains a first interface material 16a, referred to hereinafter as the "first interface material", and the second dispenser 14b contains a second interface material 16b, referred to hereinafter as the "second interface material". The first interface material has a different (harder) modulus of elasticity and a greater strength than the second interface material. By combining the first interface material and the second interface material, different layers of the 3-D object having a different modulus of elasticity and a different strength can be produced, such as, for example, a construction layer, a support layer and a release layer, as defined hereinbelow.
    • [0051]
      For example, combining the first interface material and the second interface material forms a multiplicity of construction layers, which are defined as the layers constituting the 3-D object. Multiplicity, as used hereinafter, refers to a number which is one or greater.
    • [0052]
      Further, combining the first interface material and the second interface material forms a multiplicity of support layers, which are defined as the layers supporting the 3-D object, and not constituting the 3-D object.
    • [0053]
      Further, combining the first interface material and the second interface material forms a multiplicity of release layers, which are defined as the layers (not constituting the 3-D object) for separating the 3-D object layer from layers such as the support layers. The release layers have a lower modulus of elasticity and a lower strength than the construction layers and the support layers.
    • [0054]
      In one embodiment, the support layers are designed exactly as the construction layers, and thus have the same modulus of elasticity and the same strength as the construction layers. In this way, the construction layers form a core, and the support layers look like the negative printing of the core. The release layers are positioned between the construction layers and the support layers, and are used to separate the construction layers from the support layers.
    • [0055]
      In another embodiment, the support layers have a lower modulus of elasticity and a lower strength than the construction layers. The support layers may be separated from the construction layers by taking advantage of their weaker properties, as will be explained in detail below. Alternatively, the support layers may be separated from the construction layers by positioning release layers between the construction layers and the support layers.
    • [0056]
      In order to more clearly define the present invention, reference is now made to Fig 2, which is a 3-D model of a wineglass, generally referenced 30. This 3-D model is printed using the ink-jet type printing system of Fig 1. Combining the first interface material and the second interface material form a multiplicity of construction layers 32 which make up wine glass 30.
    • [0057]
      The construction layers 32 of wineglass 30 need to be supported externally, such as in the area referenced 34. Furthermore, an internal void, referenced 36, needs to be formed during printing. Thus a multiplicity of support layers 38, formed by combining the first interface material and the second interface material, are printed.
    • [0058]
      Furthermore, combination of the first interface material and the second interface material forms a multiplicity of release layers 40. In one embodiment, release layers 40 are positioned between construction layers 32 and support layers 38. Generally, release layers 40 have a different (lower) modulus of elasticity than support layers 38 and construction layers 32. Thus release layers 40 can be used to separate support layers 38 from construction layers 32.
    • [0059]
      The present invention, which will now be described in detail, provides compositions suitable for use as the first interface and as the second interface material.
    • [0060]
      The first interface material and second interface material of the present invention are especially designed and formulated for building a 3-D object using 3-D printing. Accordingly, the first and the second interface materials are designed to have increased viscosity at room temperature, which is defined as about 20-30C. Preferably, the first and second interface material have a viscosity greater than 50 cps at room temperature, more preferably between 80 and 300 cps. In a preferred embodiment, the first and the second interface material have a viscosity of around 300 cps at room temperature,
    • [0061]
      Further, the first interface material and the second interface material have a second viscosity compatible with ink-jet printing, at a second temperature which is higher than room temperature. A composition compatible with ink-jet printing has low viscosity, preferably below 20 cps at the printing temperature, in order to function property in the printing process. The first interface material and the second interface material, upon heating, have a viscosity preferably below 20 cps, enabling the construction of the 3-D object under heat. The temperature typically used to build the 3-D model of the present invention is higher than 60C, preferably about 85C. In one embodiment, the first and second interface materials have a viscosity of 8-15 cps at a temperature greater than 60C. In another embodiment, the first and second interface materials have a viscosity of 11 cps at a temperature of about 85C.
    • [0062]
      Having this viscosity, the first and second interface material are distinguished from prior art formulations designed for ink-jet printing, which have low viscosity at room temperature, the temperature at which the printing is conducted. High viscosity at room temperature is a desirable property for 3-D objects, a feature that is lacking in the prior art formulations.
    • FIRST INTERFACE MATERIAL
    • [0063]
      The first interface material is formulated to give, after curing, a solid material with mechanical properties that permit the building and handling of 3-D models. The first interface material of the present invention comprises:
      • at least one reactive component;
      • at least one photo-initiator;
      • at least one surface-active agent; and
      • at least one stabilizer.
    • [0064]
      The term "reactive" refers to compounds that can undergo a curing process initiated by irradiation, which curing process functions via a radical, cathionic or other chemical polymerization mechanism.
    • [0065]
      In one embodiment, the reactive component is an acrylic component, a molecule having one or more epoxy substituents, a molecule having one or more vinyl ether substituents, vinylpyrolidone, vinylcaprolactam, or any combination thereof. The acrylic component is an acrylic monomer, an acrylic oligomer, an acrylic crosslinker, or any combination thereof.
    • [0066]
      An acrylic monomer is a monofunctional acrylated molecule which can be, for example, esters of acrylic acid and methacrylic acid. An example of an acrylic monomer for the present invention is phenoxyethyl acrylate, marketed by Sartomer under the trade name SR-339. Another example of an acrylic monomer is marketed by Sartomer under trade name SR-9003.
    • [0067]
      An acrylic oligomer is a polyfunctional acrylated molecule which can be for example polyesters of acrylic acid and methacrylic acid and a polyhydric alcohol, such as polyacrylates and polymethacrylates of trimethylolpropane, pentaerythritol, ethylene glycol, propylene glycol and the like. Examples of acrylic oligomers are the classes of urethane acrylates and urethane methacrylates. Urethane-acrylates are manufactured from aliphatic or cycloaliphatic diisocyanates or polyisocyanates and hydroxyl-containing acrylic acid esters. An example is a urethane-acrylate oligomer marketed by Cognis under the trade name Photomer-6010.
    • [0068]
      An acrylic crosslinker is a molecule which provides enhanced crosslinking. Examples of such resins are 1,4-butanediol diacrylate, 1,4-butanediol dimethacrylate, 1,6-hexamethylene glycol diacrylate, neopentyl glycol dimethacrylate, trimethylol propane trimethacrylate, pentaerythritol triacrylate, penta-erythritol trimethacrylate triethylene glycol triacrylate, triethylene glycol trimethacrylate, and the like. An example of an acrylic crosslinker for the present invention is trimethylol propane triacrylate, marketed by Sartomer under the trade name SR-351. Another example of a crosslinker is UVM-45, marketed by CRODA.
    • [0069]
      The reactive component in the first interface material can also be a molecule having one or more vinyl ether substituents. Conventional vinyl ether monomers and oligomers which have at least vinyl ether group are suitable. Examples of vinyl ethers are ethyl vinyl ether, propyl vinyl ether, isobutyl vinyl ether, cyclohexyl vinyl ether, 2-ethylhexyl vinyl ether, butyl vinyl ether, ethyleneglycol monovinyl ether, diethyleneglycol divinyl ether, butane diol divinyl ether, hexane diol divinyl ether, cyclohexane dimethanol monovinyl ether and the like. An example of a vinyl ether for the present invention is 1,4 cyclohexane dimethanol divinyl ether, marketed by ISP under the trade name CHVE.
    • [0070]
      The reactive component in the first interface material can also be a molecule having one or more epoxy substituents. Conventional epoxy monomers and oligomers which have at least one oxirane moiety are preferred. Suitable epoxy containing molecules are displayed in Table 1 below: Table 1: Examples of epoxy-containing reactive component
      Trade Name Type of Material Supplier
      ERL-4299 or UVR- 6128 Bis-(3,4 cyclohexylmethyl) adipate Union Carbide
      UVR-6105 and UVR-6110 3,4-epoxy cyclohexylmethyl- 3,4-epoxycyclohexyl carboxylate Union Carbide
      D.E.R 732 Aliphatic epoxy, Polyglycol diglycidyl ether Dow chemicals
      Vinylcyclohexene Monoxide 1,2 epoxy-4-vinylcyclohexane Union Carbide
      D.E.N. 431 Epoxy novolac resin Dow corning
      UVR-6216 1,2-epoxy hexadecane Union Carbide
      UVI-6100 Cycloaliphatic epoxide diluent Union Carbide
      Vikoflex 7170 Fullyl epoxidized soy bean oil Elf Atochem, INC.
      ERL-4221 D 3,4-epoxy cyclohexylmethyl 3,4-epoxy cyclohexane carboxylate Union Carbide
    • [0071]
      The reactive component of the first interface material can comprise any combination of an acrylic component as defined hereinabove, a molecule having one or more epoxy substituents as defined hereinabove, a molecule having one or more vinyl ether substituents as defined hereinabove, vinylcaprolactam and vinylpyrolidone.
    • [0072]
      In one embodiment, the reactive component of the first interface material comprises an acrylic monomer, an acrylic oligomer, an acrylic crosslinker and vinylcaprolactam. In another embodiment, the reactive component comprises an acrylic component as defined hereinabove and a molecule having one or more epoxy substituents as defined hereinabove. In another embodiment, the reactive component of the first interface material comprises an acrylic component as defined hereinabove and a molecule having one or more vinyl ether substituents as defined hereinabove. In another embodiment, the reactive component in the first interface material comprises a molecule having one or more vinyl ether substituents as defined hereinabove, and a molecule having one or more epoxy substituents as defined hereinabove.
    • [0073]
      The photo-initiator of the first interface material and of the second interface material may be the same or different. The photo-initiator of the second interface material is a radical photo-initiator. The photo-initiator of the first interface material may be a free radical photo-initiator, a cationic photo-initiator, or any combination thereof.
    • [0074]
      The free radical photo-initiator can be any compound that produces a free radical on exposure to radiation such as ultraviolet or visible radiation and thereby initiates a polymerization reaction. Examples of some suitable photo-initiators include benzophenones (aromatic ketones) such as benzophenone, methyl benzophenone, Michler's ketone and xanthones; acylphosphine oxide type photo-initiators such as 2,4,6-trimethylbenzolydiphenyl phosphine oxide (TMPO), 2,4,6-trimethylbenzoylethoxyphenyl phosphine oxide (TEPO), and bisacylphosphine oxides (BAPO's); benzoins and bezoin alkyl ethers such as benzoin, benzoin methyl ether and benzoin isopropyl ether and the like. Examples of photo-initiators are alpha-amino ketone, marketed by Ciba Specialties Chemicals Inc. (Ciba) under the trade name Irgacure 907, and bisacylphosphine oxide (BAPO's), marketed by Ciba under the trade name I-819.
    • [0075]
      The free-radical photo-initiator can be used alone or in combination with a co-initiator. Co-initiators are used with initiators that need a second molecule to produce a radical that is active in the UV-systems. Benzophenone is an example of a photoinitiator that requires a second molecule, such as an amine, to produce a reactive radical. After absorbing radiation, benzophenone reacts with a ternary amine by hydrogen abstraction, to generate an alpha-amino radical which initiates polymerization of acrylates. An example of a class of co-initiators are alkanolamines such as triethylamine, methyldiethanolamine and triethanolamine.
    • [0076]
      Suitable cationic photo-initiators for the present invention include compounds which form aprotic acids or Bronstead acids upon exposure to ultraviolet and/or visible light sufficient to initiate polymerization. The photo-initiator used may be a single compound, a mixture of two or more active compounds, or a combination of two or more different compounds, i.e. co-initiators. Examples of suitable cationic photo-initiators are aryldiazonium salts, diaryliodonium salts, triarylsulphonium salts, triarylselenonium salts and the like. A preferred cationic photo-initiator for the present invention is a mixture of triarylsolfonium hexafluoroantimonate salts marketed by Union Carbide as UVI-6974.
    • [0077]
      Other components of the first interface material and the second interface material of the present invention are surface-active agents and inhibitors (thermal stabilizers). A surface-active agent is used to reduce the surface tension of the formulation to the value required for jetting, which is typically around 30 dyne/cm. An example of a surface-active agent for the present invention is silicone surface additive, marketed by Byk Chemie under the trade name Byk 307. Inhibitors are employed in the formulations of the first interface material and the second interface material to permit the use of the formulation at high temperature, preferably around 85C, without causing thermal polymerization.
    • [0078]
      In one embodiment of the present invention, the first interface material further comprises at least one pigment and at least one dispersant. The pigment is a white pigment, an organic pigment, an inorganic pigment, a metal pigment or a combination thereof. An example of a white pigment for the present invention is organic treated titanium dioxide, marketed by Kemira Pigments under the trade name UV TITAN M160 VEG. An example of an organic pigment for the present invention is an organic pigment marketed by Elementis Specialities under the trade name Tint Aid PC 9703. Examples of dispersants for the present invention are dispersants comprising a copolymer with acidic groups marketed by Byk Chemie under the trade name Disperbyk 110, and a dispersant comprising a high molecular weight block copolymer with pigment affinic groups, marketed by Byk Chemie under the trade name Disperbyk 163. Furthermore, in one embodiment of the present invention, combinations of white pigments and dyes are used to prepare colored resins. In such combinations, the white pigment has a double task: 1) to impart opacity; and 2) to shield the dye from UV radiation, to prevent bleaching of the resin. Thus, in accordance with one embodiment of the present invention, the first interface material further comprises a dye. The dye is chosen so as not to interfere with the curing efficiency of the formulation of the first interface material. The dye may be any of a broad class of solvent soluble dyes. Some examples are azo dyes which are yellow, orange, brown and red; anthraquinone and triarylmethane dyes which are green and blue; and azine dye which is black. An example of a dye for the present invention is Solvent Red 127, marketed by Spectra Colors Corp. under the trade name Spectrasol RED BLG.
    • [0079]
      The relative proportions of the different components of the first interface material can vary. In one embodiment, the first interface material comprises the following components: 50% acrylic oligomer(s), 30% acrylic monomer(s), 15% acrylic crosslinker, 2% photoinitiator, surface active agent, pigments, dispersants; and stabilizers.
    • [0080]
      Examples of preferred formulations of the first interface material are provided hereinbelow in Tables 2-4, to which reference is now made. Tables 2 and 3 illustrate examples of possible formulations of the first interface material.
    • [0081]
      Table 4 illustrates examples of colored formulations, which comprise pigments, dispersants and dyes, as defined hereinabove. To any of the examples in Tables 2 and 3 may be added the combination of the colorants of Table 4. Table 2: Examples of Characteristic Formulation Components of First Interface Material
      # Trade Name Chemical Type Function in the formulation Supplier
      A Photomer- 6010 Urethane Acrylate Oligomer Oligomer Cognis
      B SR-339 Phenoxy ethyl Acrylate monomer Sartomer
      C SR -351 Trimethylol propane triacrylate Cross-linker Sartomer
      D Irgacure 907 alpha-Amino Ketone Free radical photo-initiator Ciba Specialties Chemical Inc.
      E BP Benzophenone Free radical photo-initiator Satomer
      F Triethanol Amine Ternary Amine Free radical Coinitiator Sigma
      G Byk 307 Silicone Surface Additive Surface agent Byk Chemie
      H MEHQ 4-Methoxy phenol Inhibitor Sigma
      I Cyracure UVR-6110 3,4 Epoxycyclohexylmethyl- 3,4-epoxycyclohexylcarboxylate Epoxy oligomer Union Carbide
      J UVI-6974 Mixed Triarylsulfonium Hexafluoroantimonate Salts Cationic photo-initiator Union Carbide
      K CHVE 1,4-cyclohexane dimethanol divinyl ether Vinyl Ether Monomer ISP
      L UV TITAN M160 VEG Organic Treated Titanium Dioxide White pigment KEMIRA PIGMENT S
      M Disperbyk 110 Copolimer with acidic groups Pigment Dispersant Byk Chemie
      N Spectrasol RED BLG Solvent Red 127 Dye Spectra Colors Corp.
      O Tint Aid PC 9703 Organic pigment Organic pigment Elementis Specialties
      P Disperbyk 163 High molecular weight block copolymer with pigment affinic groups Pigment Dispersant Byk Chemie
      Q V-Cap Vinylcaprolactam Monomer ISP
      R V-Pyrol Vinylpyrolidone Monomer ISP
      Table 3: Examples of Possible Formulation Compositions of First Interface Material
      Example A B C D E F G H I J K Q R
      1 X X X X X X
      2 X X X X X
      3 X X X X X
      4 X X X X X
      5 X X X X X X X
      6 X X X X X X
      7 X X X X X X
      8 X X X X X X
      9 X X X X X X
      10 X X X X X X X
      11 X X X X X
      12 X X X X X X X
      13 X X X X X X X X X X X
      14 X X X X X X X
      15 X X X X X X X
      Table 4: Examples of colored formulations of first interface material
      Example L M N O P
      16 X X
      17 X X X
      18 X X X X
      19 X X
      20 X X X
    • [0082]
      A particularly preferred formulation of the first interface material is presented in entry No. 14 of Table No. 3. According to this particularly preferred embodiment of the present invention, the first interface material comprises
      an acrylic oligomer, which can be any acrylic oligomer as defined hereinabove, and which is preferably a urethane acrylate oligomer;
      an acrylic monomer, which can be any acrylic monomer as defined hereinabove, and which is preferably phenoxy ethyl acrylate;
      an acrylic crosslinker, which can be any acrylic crosslinker as defined hereinabove, and which is preferably trimethylol propane triacrylate;
      a radical photo-initiator, which can be any radical photo-initiator as defined hereinabove, and which is preferably alpha-amino ketone;
      a surface agent, which is preferably a silicone surface additive;
      an inhibitor, which is preferably 4-methoxyphenol; and vinylcaprolactam.
    • SECOND INTERFACE MATERIAL
    • [0083]
      The second interface material is formulated to form a release layer to permit a manual easy cleaning of the 3-D model from its support. The second interface material may be one of two different principle kinds: 1) a liquid material lacking any curable groups that remains liquid even after irradiation.
    • [0084]
      In one embodiment, the liquid is water miscible and is easily washed out by water; and 2) a solid or semi-solid material that is formulated as a very weak, curable material that, when cured, is capable of swelling in water or in alkaline or acidic water. Thus, when cured, the second interface material swells and almost breaks upon exposure to water, with minimum manual work required, i.e. a semi-solid form material. In both cases the second interface material is formulated so as to permit fast, easy and efficient removal of the support and release construction layers and cleaning of the 3-D model.
    • [0085]
      The second interface material of the present invention comprises:
      • at least one non-reactive and low toxicity compound;
      • at least one surface-active agent; and
      • at least one stabilizer.
    • [0086]
      The non-reactive component of the second interface material is a non-reactive and low toxicity compound, preferably a water miscible one.
    • [0087]
      The term "non-reactive" refers to compounds of the second interface composition that do not undergo a curing process, therefor remain in a liquid form after irradiation. The non-reactive component is chosen to reduce the mechanical strength of the second interface material and/or enhance its water-swelling rate.. High water diffusion rate is desirable in order to minimize the time needed for the water cleaning process of the 3-D model. Examples of non-reactive components for the present invention are polyethylene glycol marketed by Aldrich under the trade name PEG 400, methoxypolyethylene glycol marketed by Aldrich under the trade name methoxycarbowax 500 and 1000, and propylene glycol. Other examples are ethoxylated polyols and glycerol.
    • [0088]
      In one embodiment, the second interface material is formulated as a liquid. The liquid formulation is a non-curable composition that remains liquid even after radiation exposure. Thus, the liquid formulation comprises only non-reactive components and does not comprise reactive components that are capable upon solidifying upon curing. Preferably, the material is water miscible, and can be easily washed out with water.
    • [0089]
      However, the second interface material is not limited to a liquid and non-reactive formulation. In another embodiment of the present invention, the second interface material further comprises at least one reactive component and at least one photo-initiator. According to this embodiment, the second interface material is formulated as a curable composition that is capable of solidifying upon radiation exposure. The reactive components may be similar to those used in the first interface material, but may be chosen specifically to give a hydrophillic cured resin, with very weak mechanical properties. Thus, upon curing, a solid composition is formed that is very weak and can be easily pulverized by hand or using water.
    • [0090]
      The reactive component is at least one of an acrylic component, a molecule having one or more vinyl ether substituents, or a water miscible component that is, after curing, capable of swelling upon exposure to water or to an alkaline or acidic water solution.
    • [0091]
      The acrylic component is an acrylic monomer or an acrylic oligomer, and may be any one of the examples defined hereinabove. Examples of acrylic components for use in the second interface material of the present invention are polyethylene glycol monoacrylate, marketed by Laporte under the trade name Bisomer PEA6, and polyethylene glycol diacrylate, marketed by Sartomer under the trade name SR-610, methoxypolyethyleneglycole 550 monomethacrylate, and the like.
    • [0092]
      The reactive component of the second interface material can also be a water miscible component that is, after curing, capable of swelling upon exposure to water or to an alkaline or acidic water solution. Examples of water miscible components for the present invention are an acrylated urethane oligomer derivative of polyethylene glycol - polyethylene glycol urethane diacrylate, a partially acrylated polyol oligomer, an acrylated oligomer having hydrophillic substituents, or any combination thereof. The hydrophilic substituents are acidic substituents, amino substituents, hydroxy substituents, or any combination thereof. An example of an acrylated monomer with hydrophillic substituents is betha-carboxyethyl acrylate, which contains acidic substituents. The reactive component of the second interface material can also be a molecule having one or more vinyl ether substituents, which may be any of the compounds as defined hereinabove. An example of vinyl ether for the second interface material is 1,4-cyclohexane dimethanol divinyl ether, marketed by ISP under the trade name CHVE.
    • [0093]
      In one embodiment, the reactive component of the second interface material is an acrylic oligomer. In another embodiment, the reactive component of the second interface material is a combination of an acrylic component as defined hereinabove and a water miscible component as defined hereinabove. In another embodiment, the reactive component of the present invention is a combination of an acrylic component as defined hereinabove and a molecule having one or more vinyl ether substituents, as defined hereinabove. In another embodiment, the reactive component of the present invention is a combination of a water miscible component as defined hereinabove, and a molecule having one or more vinyl ether substituents, as defined hereinabove. When the second interface material comprises a reactive material, the second interface material further comprises a photo-initiator. The photo-initiator can be any photo-initiator, as defined above.
    • [0094]
      Besides swelling, another characteristic of the solid support upon exposure to water or to an alkaline or acidic water solution may be the ability to break down during exposure to water or to an alkaline or acidic water solution. Because the second interface material is made of hydrophillic components, during the swelling process, internal forces appear and cause fractures and breakdown of the cured second interface material.
    • [0095]
      In addition, the second interface material may be at least partially water-soluble. At least part of the second interface material is completely water soluble/miscible. During the removal of the support and/or release layers, the water soluble/miscible components are extracted out with water.
    • [0096]
      In addition, in one embodiment, the second interface material liberates bubbles upon exposure to water or to an alkaline water or acidic water solution. The bubbles are intended to help in the process of removal of the support and/or release layers from the construction layers.
    • [0097]
      In one embodiment, the bubbles may be liberated by a bubble releasing substance (BRS) that is present in the water solution that is used to clean out the 3-D object. Such a substance may be a carbonate or bicarbonate, for example sodium bicarbonate (SBC). During the swelling process, at least part of the SBC is introduced or absorbed into the second interface material, where it is transformed into carbon dioxide gas (CO2) and a water-soluble salt. The trigger for the production of CO2 may be the reaction of the SBC with an acid functionality present in the second interface material. Such acid functionality may be introduced as part of the second interface material formulation or introduced later, after curing, using an acid water solution. For example, the first step may be to put the 3-D object with its support in a water solution containing a SBC, then to place the same object in an acidic solution. The acid will start to decompose the SBC and product gas (bubbles).
    • [0098]
      In another embodiment, the substance that liberates gas is already present in the formulation of the second interface material. For example, the second interface material may contain calcium bicarbonate as a solid pigment. In that case, the trigger is the introduction of the second interface material in a water or acidic solution.
    • [0099]
      It should be clear that a BRS is not limited to a sodium bicarbonate or calcium bicarbonate and an acidic water solution. Other chemical reagents and reactions may be used to achieve the same result - the production of bubbles inside the matrix of the second interface material. For example, the SBC may be any alkaline metal or alkaline earth metal carbonate or bicarbonate. Examples of preferred formulations of the second interface material are provided hereinbelow in Table 5 and Table 6, to which reference is now made.
    • [0100]
      Tables 5 and 6 display various formulations that are suitable for use as the second interface material. Table 5: Examples of Characteristic Formulation Components of Second Interface Material
      # Trade Name Chemical Type Function in the formulation Supplier
      A SR-610 Polyethylene Glycole (600) Diacrylate Oligomer Sartomer
      B Bisomer PEA6 Polyethylene Glycole monoacrylate Water swelling/ sensitive Oligomer Laport
      C PEG 400 Polyethylene Glycole 400 Polymer (hydrophilic and palsticizer) Aldrich
      D Irgacure 907 alpha-Amino Ketone Free radical photo-initiator Type I Ciba Specialties Chemical Inc.
      E BP Benzophenone Free radical photo-initiator Type II Satomer
      F Triethanol Amine Ternary Amine Free radical Coinitiator for Type II photo-initiator Aldrich
      G Byk 307 Silicone Surface Additive Surface agent Byk Chemie
      H MEHQ 4-Methoxy phenol Inhibitor (thermal stabilizer) Sigma
      I PEG UA Polyethylene glycol urethane diacrylate Water swelling/sensiti ve oligomer Home made
      J AP Partially acrylated polyol Water swelling/ sensitive oligomer Home made
      K Betha-CEA Betha-caboxyethyl acrylate Acidic monomer
      M CHVE 1,4-Cyclohexane dimethanol divinyl ether Vinyl ether monomer ISP
      N Tone polyol 0301 Caprolactone polyol Polyol (plasticizer) Union Cabide
      P methoxycarbo wax 500 and 1000 methoxypolyethylene glycol Polymer (hydrophilic and palsticizer)
      Table 6: Examples of Possible Formulation Compositions of Second Interface Material
      Example A B C D E F G H I J K L M N
      1 X X X X X
      2 X X X X X X
      3 X X X X X
      4 X X X X X X
      5 X X X X X X
      6 X X X X X X X
      7 X X X X
      8 X X X X X
      9 X X X X X X
      10 X X X X X
      11 X X X X
      12 X X X X X X
      13 X X X X X X
      14 X X X X X X X X X X
    • [0101]
      A particularly preferred formulation of the second interface material is presented in entry No. 3 of Table 6. According to this particularly preferred embodiment of the present invention, the second interface material comprises: a water swelling oligomer, which can be any water swelling oligomer as defined hereinabove, and which is preferably polyethylene glycole monoacrylate;
      a non-reactive component, which can be any non-reactive component as defined hereinabove, and which is preferably polyethylene glycole;
      a radical photo-initiator, which can be any radical photo-initiator as defined hereinabove, and which is preferably alpha-amino ketone;
      a surface agent, which is preferably a silicone surface additive; and an inhibitor, which is preferably 4-methoxyphenol.
    • [0102]
      Another particularly preferred formulation of the second interface material is presented in entry No. 4 of Table 6. According to this particularly preferred embodiment of the present invention, the second interface material comprises: a water swelling oligomer, which can be any water swelling oligomer as defined hereinabove, and which is preferably polyethylene glycole monoacrylate;
    • [0103]
      a non-reactive component, which can be any non-reactive component as defined hereinabove, and which is preferably polyethylene glycole;
      a radical photo-initiator, which can be any radical photo-initiator as defined hereinabove, and which is preferably benzophenone;
      a co-initiator, which can be any co-initiator as defined hereinabove, and which is preferably triethanolamine;
      a surface agent, which is preferably a silicone surface additive; and an inhibitor, which is preferably 4-methoxyphenol.
    • [0104]
      The first interface material and the second interface material are suitable for use in the method for 3-D printing which is described in U.S. Patent Application 09/412,618 , assigned to the Assignees of the present application and is incorporated herein by reference.
    • [0105]
      Briefly, the method comprises:
      • dispensing a first interface material from a printing head;
      • dispensing a second interface material from said printing head; and combining the first interface material and the second interface material in pre-determined proportions to a produce a multiplicity of construction layers for forming the three-dimensional model.
    • [0106]
      In accordance with one embodiment of the present invention, the method further comprises the step of curing the first interface material. Further, when the second interface material comprises a reactive component, the method may further comprise the step of curing the second interface material. Curing may be carried out as described in U.S. Patent Application 09/412,618 . For example, the curing method is by radiation, such as Ultraviolet (UV) and/or Visible (Vis) and/or Infra Red (IR) and/or UV-Vis radiation. Preferably the curing method is UV-Vis radiation.
    • [0107]
      In operation, in order to obtain layers of different modulus of elasticity and a different strength, the first interface material and the second interface material are combined in pre-determined proportions. For example, in order to obtain layers having a higher modulus of elasticity and a higher strength such as the construction layers, a suitable combination that contains mostly the first interface material is used. Further, in order to obtain layers having a lower modulus of elasticity and a lower strength such as the release layers, a suitable combination that includes mostly the second interface material is used.
    • [0108]
      By way of example, in order to produce the construction layers and/or the support layers, a combination that includes 90-100% of the first interface material and 0-10% of the second interface material is used. Further, in order to produce the release layers, a combination that includes 0-10% of the first interface material and 90-100% of the second interface material is used. In another embodiment, in order to produce support layers that have a lower modulus of elasticity and a lower strength than the construction layers, a combination that includes 30-70% of the first interface material and 70-30% of the second interface material is used.
    • [0109]
      Thus a 3-D object is produced which is comprised of a core consisting of a multiplicity of construction layers. The construction layers are formed by combining predetermined proportions of the first interface material and the second interface material.
    • [0110]
      In one embodiment of the present invention, the 3-D object further comprises a multiplicity of support layers for supporting the core. The support layers are prepared by combining pre-determined proportions of the first interface material and the second interface material. The support layers may be designed exactly like to construction layers, or may be designed to-be weaker (lower modulus of elasticity) than the construction layers.
    • [0111]
      In one embodiment of the present invention, the 3-D object further comprises a multiplicity of release layers for releasing the support layers from the construction layers. Preferably, the release layers are positioned between the support layers and the construction layers. The release layers are prepared by combining pre-determined proportions of the first interface material and the second interface material.
    • [0112]
      It will be appreciated by persons skilled in the art that the present invention is not limited by what has been particularly shown and described herein above and that numerous modifications, all of which fall within the scope of the present invention, exist. Rather, the scope of the invention is defined by the claims which follow:
    Patent Citations
    Cited PatentFiling datePublication dateApplicantTitle
    US4303924Dec 26, 1978Dec 1, 1981The Mead CorporationJet drop printing process utilizing a radiation curable ink
    US5270368Jul 15, 1992Dec 14, 1993Videojet Systems International, Inc.Etch-resistant jet ink and process
    US5705316Nov 9, 1995Jan 6, 1998Ciba Specialty Chemicals CorporationVinyl ether compounds having additional functional groups other than vinyl ether groups and the use thereof in the formulation of curable compositions
    US5889084Jan 30, 1997Mar 30, 1999Ncr CorporationUV or visible light initiated cationic cured ink for ink jet printing
    US6259962Mar 1, 1999Jul 10, 2001Objet Geometries Ltd.Apparatus and method for three dimensional model printing
    US41261899 Title not available
    Referenced by
    Citing PatentFiling datePublication dateApplicantTitle
    US8801418Jan 30, 2012Aug 12, 2014Global Filtration SystemsMethod and apparatus for making three-dimensional objects from multiple solidifiable materials
    US9457520Jun 11, 2015Oct 4, 2016Applied Materials, Inc.Apparatus for printing a chemical mechanical polishing pad
    US9527244Feb 10, 2014Dec 27, 2016Global Filtration SystemsApparatus and method for forming three-dimensional objects from solidifiable paste
    US9527992Nov 10, 2014Dec 27, 2016Creopop Pte. Ltd.Composition for 3D printing
    Classifications
    International ClassificationC08F2/46, B41M3/00, G03C9/08, C08F2/50, B29C67/00
    Cooperative ClassificationB33Y70/00, B33Y10/00, G03F7/027, G03F7/0037, B41M3/006, B33Y30/00, B29C67/0092
    European ClassificationB41M3/00P, B29C67/00R8D, G03F7/00S, G03F7/027
    Legal Events
    DateCodeEventDescription
    Jan 26, 2011ACDivisional application (art. 76) of:
    Ref document number: 1741545
    Country of ref document: EP
    Kind code of ref document: P
    Ref document number: 1274551
    Country of ref document: EP
    Kind code of ref document: P
    Jan 26, 2011AKDesignated contracting states:
    Kind code of ref document: A2
    Designated state(s): AT BE CH CY DE DK ES FI FR GB GR IE IT LI LU MC NL PT SE TR
    Mar 30, 2012REGReference to a national code
    Ref country code: HK
    Ref legal event code: DE
    Ref document number: 1153431
    Country of ref document: HK
    Jul 18, 2012RIC1Classification (correction)
    Ipc: B29C 67/00 20060101AFI20120612BHEP
    Jul 18, 2012AKDesignated contracting states:
    Kind code of ref document: A3
    Designated state(s): AT BE CH CY DE DK ES FI FR GB GR IE IT LI LU MC NL PT SE TR
    Oct 3, 201217PRequest for examination filed
    Effective date: 20120827
    Oct 31, 201217QFirst examination report
    Effective date: 20121001
    Mar 20, 2013RAP1Transfer of rights of an ep published application
    Owner name: STRATASYS LTD.
    Jul 31, 2013AKDesignated contracting states:
    Kind code of ref document: B1
    Designated state(s): AT BE CH CY DE DK ES FI FR GB GR IE IT LI LU MC NL PT SE TR
    Jul 31, 2013ACDivisional application (art. 76) of:
    Ref document number: 1274551
    Country of ref document: EP
    Kind code of ref document: P
    Ref document number: 1741545
    Country of ref document: EP
    Kind code of ref document: P
    Jul 31, 2013REGReference to a national code
    Ref country code: GB
    Ref legal event code: FG4D
    Ref country code: CH
    Ref legal event code: EP
    Aug 15, 2013REGReference to a national code
    Ref country code: AT
    Ref legal event code: REF
    Ref document number: 624347
    Country of ref document: AT
    Kind code of ref document: T
    Effective date: 20130815
    Aug 28, 2013REGReference to a national code
    Ref country code: IE
    Ref legal event code: FG4D
    Sep 26, 2013REGReference to a national code
    Ref country code: DE
    Ref legal event code: R096
    Ref document number: 60148212
    Country of ref document: DE
    Effective date: 20130926
    Nov 4, 2013REGReference to a national code
    Ref country code: DK
    Ref legal event code: T3
    Effective date: 20131030
    Nov 5, 2013REGReference to a national code
    Ref country code: SE
    Ref legal event code: TRGR
    Nov 22, 2013REGReference to a national code
    Ref country code: HK
    Ref legal event code: GR
    Ref document number: 1153431
    Country of ref document: HK
    Nov 27, 2013REGReference to a national code
    Ref country code: NL
    Ref legal event code: T3
    Dec 4, 2013REGReference to a national code
    Ref country code: ES
    Ref legal event code: FG2A
    Ref document number: 2432645
    Country of ref document: ES
    Kind code of ref document: T3
    Effective date: 20131204
    Jan 14, 2014REGReference to a national code
    Ref country code: GR
    Ref legal event code: EP
    Ref document number: 20130402204
    Country of ref document: GR
    Effective date: 20131118
    Jan 31, 2014PG25Lapsed in a contracting state announced via postgrant inform. from nat. office to epo
    Ref country code: PT
    Free format text: LAPSE BECAUSE OF FAILURE TO SUBMIT A TRANSLATION OF THE DESCRIPTION OR TO PAY THE FEE WITHIN THE PRESCRIBED TIME-LIMIT
    Effective date: 20131202
    Ref country code: CY
    Free format text: LAPSE BECAUSE OF FAILURE TO SUBMIT A TRANSLATION OF THE DESCRIPTION OR TO PAY THE FEE WITHIN THE PRESCRIBED TIME-LIMIT
    Effective date: 20130918
    Mar 31, 2014PG25Lapsed in a contracting state announced via postgrant inform. from nat. office to epo
    Ref country code: CY
    Free format text: LAPSE BECAUSE OF FAILURE TO SUBMIT A TRANSLATION OF THE DESCRIPTION OR TO PAY THE FEE WITHIN THE PRESCRIBED TIME-LIMIT
    Effective date: 20130731
    Jul 9, 201426NNo opposition filed
    Effective date: 20140502
    Aug 14, 2014REGReference to a national code
    Ref country code: DE
    Ref legal event code: R097
    Ref document number: 60148212
    Country of ref document: DE
    Effective date: 20140502
    Feb 19, 2016REGReference to a national code
    Ref country code: FR
    Ref legal event code: PLFP
    Year of fee payment: 16
    Jul 29, 2016PG25Lapsed in a contracting state announced via postgrant inform. from nat. office to epo
    Ref country code: TR
    Free format text: LAPSE BECAUSE OF FAILURE TO SUBMIT A TRANSLATION OF THE DESCRIPTION OR TO PAY THE FEE WITHIN THE PRESCRIBED TIME-LIMIT
    Effective date: 20130731
    Nov 29, 2016REGReference to a national code
    Ref country code: DE
    Ref legal event code: R079
    Ref document number: 60148212
    Country of ref document: DE
    Free format text: PREVIOUS MAIN CLASS: B29C0067000000
    Ipc: B29C0064106000
    Feb 21, 2017REGReference to a national code
    Ref country code: FR
    Ref legal event code: PLFP
    Year of fee payment: 17
    Apr 28, 2017PGFPPostgrant: annual fees paid to national office
    Ref country code: FI
    Payment date: 20170222
    Year of fee payment: 17
    Ref country code: FR
    Payment date: 20170221
    Year of fee payment: 17
    Ref country code: GR
    Payment date: 20170222
    Year of fee payment: 17
    Ref country code: MC
    Payment date: 20170223
    Year of fee payment: 17
    Ref country code: SE
    Payment date: 20170224
    Year of fee payment: 17
    Ref country code: DE
    Payment date: 20170222
    Year of fee payment: 17
    Ref country code: CH
    Payment date: 20170227
    Year of fee payment: 17
    May 31, 2017PGFPPostgrant: annual fees paid to national office
    Ref country code: LU
    Payment date: 20170222
    Year of fee payment: 17
    Ref country code: BE
    Payment date: 20170223
    Year of fee payment: 17
    Ref country code: AT
    Payment date: 20170222
    Year of fee payment: 17
    Ref country code: IE
    Payment date: 20170222
    Year of fee payment: 17
    Ref country code: DK
    Payment date: 20170222
    Year of fee payment: 17
    Ref country code: NL
    Payment date: 20170221
    Year of fee payment: 17
    Ref country code: GB
    Payment date: 20170224
    Year of fee payment: 17
    Jun 30, 2017PGFPPostgrant: annual fees paid to national office
    Ref country code: IT
    Payment date: 20170221
    Year of fee payment: 17
    Ref country code: ES
    Payment date: 20170222
    Year of fee payment: 17