Account Options

  1. Sign in
    Screen reader users: click this link for accessible mode. Accessible mode has the same essential features but works better with your reader.

    Patents

    1. Advanced Patent Search
    Publication numberUS20040194261 A1
    Publication typeApplication
    Application numberUS 10/826,200
    Publication dateOct 7, 2004
    Filing dateApr 15, 2004
    Priority dateOct 19, 2002
    Also published asUS7020938, US7430788, US20060168780
    Publication number10826200, 826200, US 2004/0194261 A1, US 2004/194261 A1, US 20040194261 A1, US 20040194261A1, US 2004194261 A1, US 2004194261A1, US-A1-20040194261, US-A1-2004194261, US2004/0194261A1, US2004/194261A1, US20040194261 A1, US20040194261A1, US2004194261 A1, US2004194261A1
    InventorsRobert Ottaviani, John Ulicny, Mark Golden
    Original AssigneeGeneral Motors Corporation
    Export CitationBiBTeX, EndNote, RefMan
    External Links: USPTO, USPTO Assignment, Espacenet
    Magnetorheological nanocomposite elastomer for releasable attachment applications
    US 20040194261 A1
    Abstract
    A releasable fastener system comprises a loop portion and a hook portion. The loop portion includes a support and a loop material disposed on one side thereof whereas the hook portion includes a support and a plurality of closely spaced upstanding hook elements extending from one side thereof. When the hook portion and loop portion are pressed together they interlock to form a releasable engagement. The resulting joint created by the engagement is relatively resistant to shear and pull forces and weak in peel strength forces. The hook elements are formed of a magnetorheological elastomer that provides a change in shape orientation and/or flexural modulus of the hook elements. In this manner, the shape orientation and/or flexural modulus of the hook elements can be remotely changed to provide a reduction or magnification in the shear and/or pull-off forces in addition to providing variable damping capabilities to the fastener system.
    Images(4)
    Previous page
    Next page
    Claims(5)
    1-17. (Canceled)
    18. A hook portion for a releasable fastener system comprising:
    a support and
    a plurality of hook elements disposed on a surface of the support, wherein the plurality of hook elements comprise a magnetorheological elastomer adapted to change a shape orientation and/or a flexural modulus upon receipt of a magnetic signal.
    19. The hook portion according to claim 1, wherein the support comprises a metal, a plastic, a fabric, or a combination comprising at least one of the foregoing materials.
    20. The hook portion according to claim 1, wherein the hook elements comprise a shape comprising a J-shaped orientation, an L-shape, a mushroom shape, a knob shape, a multi-tined anchor shape, a T-shape, a spiral shape, and combinations comprising at least one of the foregoing shapes.
    21. A releasable fastener system comprising:
    a loop portion comprising a support and a loop material disposed on a surface thereon;
    a hook portion comprising a support and a plurality of hook elements disposed on a surface, wherein the plurality of hook elements comprises a magnetorheological elastomer adapted to change a shape orientation and/or flexural modulus; and
    means for changing the shape orientation and/or flexural modulus to reduce a shear force and/or a pull-off force of an engaged hook and loop portion and to provide a variable damping capability to the fastener system.
    Description
      CROSS-REFERENCE TO RELATED APPLICATIONS
    • [0001]
      This application is a continuation-in-part of U.S. application Ser. No. 10/273,691 filed Oct. 19, 2002, which is incorporated by reference herein in its entirety.
    • BACKGROUND
    • [0002]
      This disclosure relates to releasable attachment devices of the type used to fasten, retain, or latch together components of an apparatus or a structure that are to be separated or released under controlled conditions. This disclosure further relates to releasable attachment devices that provide variable damping capabilities.
    • [0003]
      Hook and loop type separable fasteners are well known and are used to join two members detachably to each other. These types of fasteners generally have two components disposed on opposing member surfaces. One component typically includes a plurality of resilient hooks while the other component typically includes a plurality of loops. When the two components are pressed together they interlock to form a releasable engagement. The resulting joint created by the engagement is relatively resistant to shear and pull forces, and weak in peel strength forces. As such, peeling one component from the other component can be used to separate the components with a minimal applied force. As used herein, the term “shear” refers to an action or stress resulting from applied forces that causes or tends to cause two contiguous parts of a body to slide relatively to each other in a direction parallel to their plane of contact. The term “pull force” refers to an action or stress resulting from applied forces that causes or tends to cause two contiguous parts of a body to move relative to each other in a direction perpendicular to their plane of contact.
    • [0004]
      Magnetorheological (MR) elastomers are known as “smart” materials whose rheological properties are rapidly changed upon application of a magnetic field. MR elastomers are suspensions of micrometer- or nanometer-sized, magnetically polarizable particulates embedded in an elastomeric polymer or rubber. The stiffness of the MR elastomer structure is accomplished by changing the shear and compression/tension moduli by varying the strength of the applied magnetic field. The stronger the magnetic field, the stiffer the MR elastomer will be. The MR elastomer typically develops structure when exposed to a magnetic field in as little as a few milliseconds. Discontinuing the exposure of the MR elastomer to the magnetic field reverses the process and the MR elastomer returns to its lower modulus state. Because of the ability to vary the modulus or stiffness of the MR elastomer on demand, MR elastomers have found use as components in damping devices.
    • BRIEF SUMMARY
    • [0005]
      Disclosed herein is a releasable fastener system that provides for a controlled release or separation of a joint in a shear and/or pull-off direction, while providing active or variable damping properties when the fastener is engaged. A releasable fastener system comprises a loop portion comprising a support and a loop material disposed on a surface thereon; a hook portion comprising a support and a plurality of hook elements disposed on a surface, wherein the plurality of hook elements comprises a magnetorheological elastomer adapted to change a shape orientation and/or flexural modulus of the hook elements upon receipt of a magnetic signal; and an activation device coupled to the plurality of hook elements, the activation device being operable to selectively provide the magnetic signal to the hook elements and effectuate a change in the shape orientation and/or flexural modulus of the hook elements to reduce or increase a shear force and/or a pull-off force, and wherein the change in the flexural modulus of the hook elements provides a damping capability to the fastener system.
    • [0006]
      A process for operating a releasable fastener system comprises contacting a loop portion to a hook portion to form a releasable engagement, wherein the loop portion comprises a support and a loop material disposed on a surface thereon, and wherein the hook portion comprises a support and a plurality of hook elements disposed on a surface, wherein the plurality of hook elements comprises a magnetorheological elastomer adapted to change a shape orientation and/or flexural modulus upon receipt of an magnetic signal, wherein the change in the flexural modulus of the hook elements provides a damping capability to the fastener system; maintaining constant shear and pull-off forces in the releasable engagement; selectively introducing the magnetic signal to the hook elements, wherein the magnetic signal is effective to change a shape orientation and/or flexural modulus; and reducing or increasing shear and/or pull-off forces in the releasable engagement.
    • [0007]
      A hook portion for a releasable fastener system comprises a support and a plurality of hook elements disposed on a surface of the support, wherein the plurality of hook elements comprise a magnetorheological elastomer adapted to change a shape orientation and/or a flexural modulus upon receipt of a magnetic signal, wherein the change in the flexural modulus of the hook elements provides a damping capability.
    • [0008]
      An engine mount comprising the releasable fastener is also disclosed.
    • [0009]
      The above described and other features are exemplified by the following figures and detailed description.
    • BRIEF DESCRIPTION OF THE DRAWINGS
    • [0010]
      Referring now to the figures, which are exemplary embodiments and wherein the like elements are numbered alike:
    • [0011]
      [0011]FIG. 1 is a cross sectional view of a releasable fastening system;
    • [0012]
      [0012]FIG. 2 is a cross sectional view of the releasable fastening system of FIG. 2, wherein the releasable fastening system is engaged;
    • [0013]
      [0013]FIG. 3 is a cross sectional view of the releasable fastening system of FIG. 2, wherein the releasable fastening system is disengaged; and
    • [0014]
      [0014]FIG. 4 is a cross sectional view of an exemplary MR elastomer hook.
    • DETAILED DESCRIPTION
    • [0015]
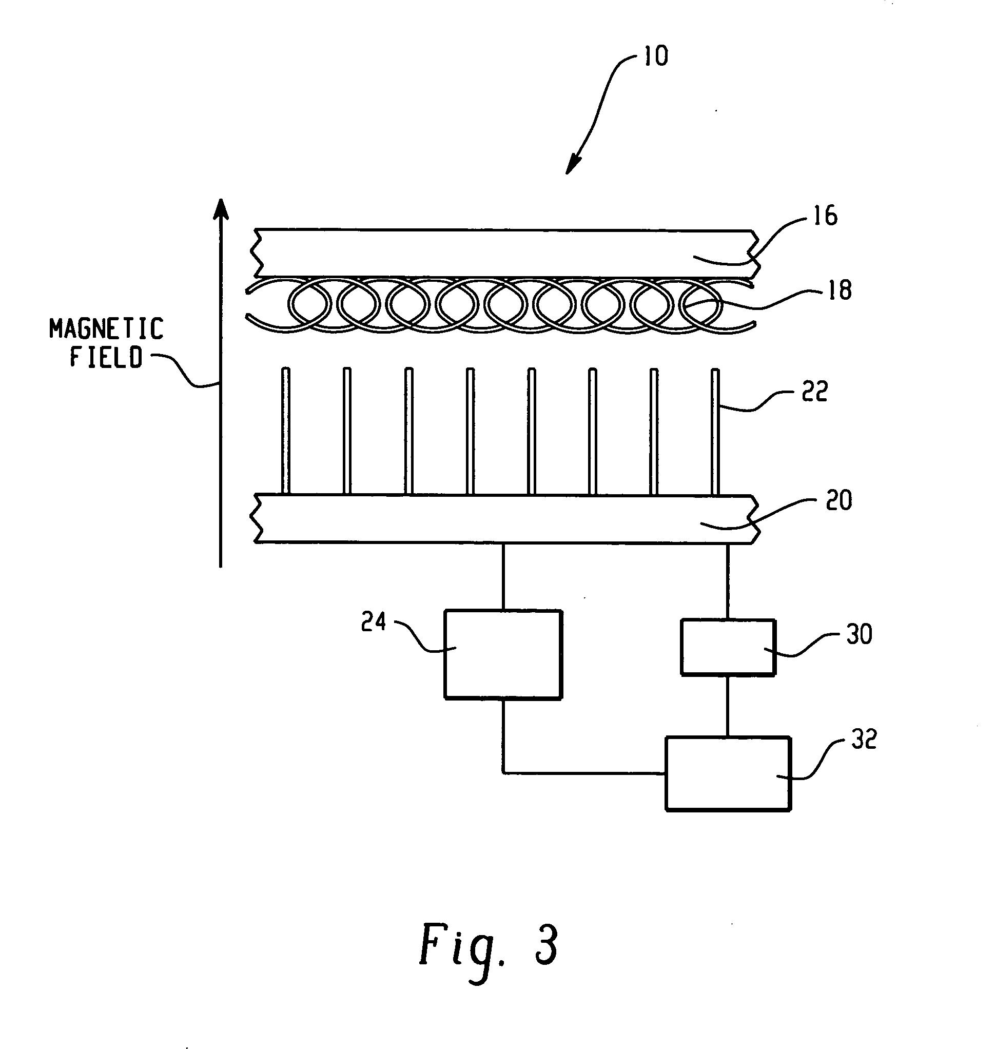
      As shown in FIG. 1, a releasable fastener system, generally indicated as 10, comprises a loop portion 12 and a hook portion 14. The loop portion 12 includes a support 16 and a loop material 18 disposed on one side thereof whereas the hook portion 14 includes a support 20 and a plurality of closely spaced upstanding hook elements 22 extending from one side thereof. The hook elements 22 are formed of a magnetorheological elastomer that provides a shape changing and/or flexural modulus capability to the hook elements 22 as will be described in greater detail.
    • [0016]
      Coupled to and in operative communication with the hook elements 22 is an activation device 24. The activation device 24, on demand, provides a magnetic activation signal to the hook elements 22 to change the shape orientation and/or flexural modulus property of the hook elements 22. The change in shape orientation and/or flexural modulus property generally remains for the duration of the applied activation signal. Upon discontinuation of the magnetic activation signal, the hook elements 22 revert substantially to a relaxed or unpowered shape. The illustrated releasable fastener system 10 is exemplary only and is not intended to be limited to any particular shape, size, configuration, number or shape of hook elements 22, shape of loop material 18, or the like.
    • [0017]
      During engagement, the two portions 12 and 14 are pressed together to create a joint that is relatively strong in shear and pull-off directions, and weak in a peel direction. For example, when the two portions 12 and 14 are pressed into face-to-face engagement, the hook elements 22 become engaged with the loop material 18 and the close spacing of the hook elements 22 resists substantial lateral movement when subjected to shearing forces in the plane of engagement. Similarly, when the engaged joint is subjected to a force perpendicular to this plane, (i.e., pull-off forces), the hook elements 22 resist substantial separation of the two portions 12 and 14. However, when the hook elements 22 are subjected to a peeling force, the hook elements 22 can become disengaged from the loop material 18. It should be noted that separating the two portions 12 and 14 using the peeling force generally requires that one or both of the supports forming the hook portion and loop portion be flexible.
    • [0018]
      To reduce shear and pull-off forces resulting from the engagement, the shape orientation and/or flexural modulus of the hook elements 22 is altered upon receipt of the activation signal from the activation device 24 to provide a remote releasing mechanism of the engaged joint. As a result of changing the shape orientation and/or flexural modulus of the hook elements 22, a marked reduction in shear and pull-off forces is observed, thereby allowing the joint to separate in directions normally associated with pull-off and shear. That is, the change in shape orientation reduces the shearing forces in the plane of engagement, and reduces the pull-off forces perpendicular to the plane of engagement. For example, as shown in FIGS. 2 and 3, the plurality of hook elements 22 can have inverted J-shaped orientations that are changed, upon demand, to substantially straightened shape orientations upon receiving an activation signal from the activation device 24. The substantially straightened shape relative to the J-shaped orientation provides the joint with marked reductions in shear and pull-off forces.
    • [0019]
      In the alternative, to increase shear and pull-off forces resulting from the engagement, the shape orientation of the hook elements 22 is altered upon receipt of the activation signal from the activation device 24 to provide a remote mechanism of enhancing the engaged joint. As a result of changing the shape orientation and/or flexural modulus of the hook elements 22, a marked enhancement in shear and pull-off forces is observed, thereby increasing the force required to separate the joint in directions associated with pull-off and shear. That is, the change in shape orientation increases the shearing forces in the plane of engagement, and increases the pull-off forces perpendicular to the plane of engagement. For example, the plurality of hook elements can have inverted J-shaped orientations that are changed, upon demand, to hook elements having an increased flexural modulus (stiffness) upon receiving an activation signal from the activation device. The increased stiffness of the J-shaped hook relative to stiffness in the unpowered state provides the joint with marked increases in shear and pull-off forces. It will be understood that the magnetic field must be in an appropriate direction and of a sufficient strength to effectuate either a reduction in shear and pull-off forces or an increase in shear and pull-off forces.
    • [0020]
      In addition to providing a reduction or increase in shear and/or pull-off forces, the MR elastomer hook elements provide active damping capabilities to the fastener system. As shown in FIG. 1, a sensor device 30 is preferably attached to the hook support 20 and measures the vibrations occurring in the fastener system. Optionally, the sensor 30 may be attached to the loop support 16. The sensor 30 is in operative communication with a computer 32, which is in operative communication with the activation device 24. The computer 32 receives an input signal from the sensor 30, and then calculates the amount of damping required. The computer 32 then sends and output signal to the activation device 24, which provides a magnetic signal of the required strength, direction, and duration to the hook elements 22. The hook elements 22 in turn have an increase in flexural modulus in proportion to the strength of the magnetic signal. A continuously variable control of the flexural modulus of the hook elements allows for effective damping of the fastener system. An alternative fastener system can have the loop material 18 as well as the hook elements 22 fabricated from a MR elastomer to further increase the damping capabilities of the fastener system 10.
    • [0021]
      Referring now to FIG. 4, an exemplary magnetorheological hook 22 comprises an elastomeric material 26 and magnetic particulates 28 disposed within the elastomeric material 26. Preferably, the elastomeric material 26 employed is resilient and flexible.
    • [0022]
      The hook elements 22 may be formed integrally with support 20, or more preferably, may be attached to the support 20. In practice, spacing between adjacent hook elements 22 is an amount effective to provide sufficient damping properties and shear and pull-off resistance desired for the particular application during engagement with the loop material 18. Depending on the desired application, the damping or the amount of shear and pull-off force required for effective engagement can vary significantly. Generally, the closer the spacing and the greater the number of hook elements 22 employed will result in increased shear and pull-off forces upon engagement. The hook elements 22 preferably have a shape configured to become engaged with the loop material 18 upon pressing contact of the loop portion 12 with the hook portion 14, and vice versa. In this engaged mode, the hook elements 22 can have an inverted J-shaped orientation, an inverted L-shape, a mushroom shape, a knob shape, a multi-tined anchor, T-shape, spirals, or any other mechanical form of a hook-like element used for separable hook and loop fasteners. Such elements are referred to herein as “hook-like”, “hook-type”, or “hook” elements whether or not they are in the shape of a hook. Likewise, the loop material may comprise a plurality of loops or pile, a shape complementary to the hook element (e.g., a key and lock type engagement), or any other mechanical form of a loop-like element used for separable hook and loop fasteners.
    • [0023]
      Suitable MR elastomer materials include, but are not intended to be limited to, ferromagnetic or paramagnetic particulates suspended in an elastomeric polymer matrix. Suitable polymer matrices include, but are not limited to, poly-alpha-olefins, natural rubber, silicone, polybutadiene, polyethylene, polyisoprene, polyurethane, and the like.
    • [0024]
      Suitable ferromagnetic or paramagnetic particulates include compounds comprising oxides, chlorides, sulfates, sulfides, hydrates, and other organic or inorganic compounds of cerium, chromium, cobalt, dysprosium, erbium, europium, gadolinium, holmium, iron, manganese, neodymium, nickel, praesodymium, samarium, terbium, titanium, uranium, vanadium, and yttrium. Preferred particulates include alloys of iron, nickel, manganese, and cobalt, with or without other nonmagnetic elements; alloys of iron, nickel, manganese, and cobalt with gadolinium; and the like. Other preferred particulates include magnetite (Fe3O4) and other compounds of iron and oxygen, and a third metallic component.
    • [0025]
      The preferred particulates are nanoparticles. Suitable diameter sizes for the particulates can be less than or equal to about 500 nanometers, with less than or equal to about 250 nanometers preferred, and less than or equal to about 100 nanometers more preferred. Also preferred is a particulate diameter of greater than or equal to about 1.0 nanometer, with greater than or equal to about 10 nanometers more preferred, and greater than or equal to about 50 nanometers especially preferred. The particulates preferably have an aspect ratio of about 0.25 to about 4, where the aspect ratio is defined as the ratio of the length to the equivalent circular diameter. The particulates are preferably present in an amount between about 5 to about 50 percent by volume of the total MR elastomer composition. Alternatively, the particles can be larger, e.g., micron sized particles, to be effective in altering the modulus properties of the material in a magnetic field. However, the nanometer-sized particles are more preferred because the modulus properties of the particle/elastomer composite can be more readily tailored by the choice of particle size, particle size distribution and particle concentration when the nanometer-sized particles are used.
    • [0026]
      The MR elastomer can be formed into hook elements using techniques well known in the art, such as extrusion into fibers or rods, injection molding, compression molding, and the like.
    • [0027]
      The activation device 24 can be configured to deliver an activation signal to the hook elements 22, wherein the activation signal comprises a magnetic signal. The magnetic signal is preferably in the form of a magnetic field. The magnetic field may be generated by a permanent magnet, an electromagnet, or combinations of the foregoing. The strength and direction of the magnetic field employed is primarily dependent on the particular MR elastomer employed for fabricating the hook element and the use to which the assembly will be put. The magnitude and duration of the applied field strength preferred is an amount suitable to change a shape orientation and/or flexural modulus of the hooks to reduce or increase a shear force and/or pull-off force, as well as to provide variable damping properties to the engaged fastener system. A non-limiting example for reduction in shear force and/or pull-off force is a change in a hook shape from an inverted J-shaped orientation to a substantially straightened orientation (As shown in FIGS. 2 and 3). The magnitude of the applied field strength for damping properties varies depending upon the strength of the vibration being damped. A non-limiting example for damping is to increase the flexural modulus of the hook shape to substantially damp the vibration force(s) in the fastener system.
    • [0028]
      Suitable magnetic field strengths for the hook elements (or in the appropriate circumstance the loop elements) comprised of MR elastomers range from greater than about 0 to about 1 Tesla (T).
    • [0029]
      The loop material 18 generally comprises a random looped pattern or pile of a material. The loop material is often referred to as the “soft”, the “fuzzy”, the “pile”, the “female”, or the “carpet”. Suitable loop materials are commercially available under the trademark VELCRO from the Velcro Industries B.V. Materials suitable for manufacturing the loop material include metals, and thermoplastics such as polypropylene, polyethylene, polyamide, polyester, polystyrene, polyvinyl chloride, acetal, acrylic, polycarbonate, polyphenylene oxide, polyurethane, polysulfone, and the like. For added damping capabilities, the loop material may also comprise MR elastomers. The loop material 18 may be integrated with the support or may be attached to the support.
    • [0030]
      The supports 16 (loop portion 12) or 20 (hook portion 14) may be rigid or flexible depending on the intended application. Suitable materials for fabricating the support include plastics, fabrics, metals, and the like. For example, suitable plastics include thermoplastics such as for example polypropylene, polyethylene, polyamide, polyester, polystyrene, polyvinyl chloride, acetal, acrylic, polycarbonate, polyphenylene oxide, polyurethane, polysulfone, and other like thermoplastic polymers. An adhesive may be applied to the backside surface of the support (the surface free from the hook elements 22 or loop material) for application of the releasable fastener system to an apparatus or structure. Alternatively, the releasable fastener system 10 may be secured to an apparatus or structure by bolts, by welding, or any other mechanical securement means. It should be noted that, unlike traditional hook and loop fasteners, both supports 16 and 20 could be fabricated from a rigid or inflexible material in view of the remote releasing capability provided. Traditional hook and loop fasteners typically require at least one support to be flexible so that a peeling force can be applied for separation of the hook and loop fastener.
    • [0031]
      The support 20 may also comprise the activation device 24 for providing the activating signal to the hook elements. For example, the support 20 may be an electromagnet for providing a magnetic signal.
    • [0032]
      In one embodiment, the flexural modulus property of the hook elements 22, in the absence of a magnetic signal, is preferably unable to maintain a given load and cannot form an engaged fastener system. By applying a magnetic signal to the hook elements, the flexural modulus property of the hook elements 22 would be sufficient to maintain the fastener system in an engaged position, and therefore maintain the load. Upon removal of the magnetic signal, the releasable fastener system disengages due to the decrease in the flexural modulus property of the hook elements. Thus, in this embodiment, the degree of attachment force can be controlled by the applied magnetic field strength. In addition to the hold characteristics, the flexural modulus of the hook elements can variably changed to provide damping properties to the fastener system and still maintain engagement.
    • [0033]
      In another embodiment, the flexural modulus property of the hook elements 22, in the absence of a magnetic signal, is preferably able to maintain a given load when the fastener is engaged, as well as to provide variable damping capabilities. In the presence of a sufficiently high magnetic field, the flexural modulus property of the hook elements 22 increases resulting in hook elements 22 prone to brittle fracture when subjected to a high shear force. In this embodiment, controlling the fracture stiffness of the joint can control the breakaway shear force in the engaged fastener system joint. The fracture stiffness of the joint is in turn controlled by the applied magnetic field strength.
    • [0034]
      It will be appreciated that any number of different products or structural elements can be disassembled and damped using these techniques. In a particularly preferred application, the attachment is an engine mount between a vehicle frame and an engine, which is selectively releasable during a catastrophic event, such as a collision or impact. The release could occur, for example, either by reducing the shear and/or pull-off force, or increasing the flexural modulus of the hook elements to break away through brittle fracture of the hook elements. Prior to disassembly on demand, varying the flexural modulus of the hook elements provides active damping of vibrations.
    • [0035]
      While the disclosure has been described with reference to an exemplary embodiment, it will be understood by those skilled in the art that various changes may be made and equivalents may be substituted for elements thereof without departing from the scope of the disclosure. In addition, many modifications may be made to adapt a particular situation or material to the teachings of the disclosure without departing from the essential scope thereof. Therefore, it is intended that the disclosure not be limited to the particular embodiment disclosed as the best mode contemplated for carrying out this disclosure, but that the disclosure will include all embodiments falling within the scope of the appended claims.
    Patent Citations
    Cited PatentFiling datePublication dateApplicantTitle
    US2717427 *Aug 6, 1953Sep 13, 1955Us Rubber CoRub apron
    US2994117 *Jan 31, 1958Aug 1, 1961Mcmullin Harold BrenimanOpening closure means
    US3101517 *Nov 28, 1960Aug 27, 1963Marvin FoxFastener
    US3128514 *Apr 3, 1959Apr 14, 1964Parker Pen CoWriting instrument releasable securing means
    US3138749 *Mar 5, 1962Jun 23, 1964Stibitz George RIncremental feed mechanisms
    US3176364 *Oct 6, 1959Apr 6, 1965Dritz ArthurSeparable fastener
    US3292019 *Nov 1, 1963Dec 13, 1966Bendix CorpTransducer
    US3365757 *Mar 2, 1965Jan 30, 1968Jean BillarantFlexible band fitted with hooked elements of the filament type
    US3490107 *Oct 16, 1967Jan 20, 1970Brumlik George CHook-like fastening assembly
    US3808648 *Dec 1, 1971May 7, 1974Velcro FranceSeparable fastening sheet
    US4169303 *Nov 24, 1976Oct 2, 1979Lemelson Jerome HFastening materials
    US4382243 *Jun 17, 1981May 3, 1983Robert Bosch GmbhElectromagnetic positioning device with piezo-electric control
    US4391147 *Mar 11, 1981Jul 5, 1983Hans ListTransducer device for measuring mechanical values on hollow bodies
    US4634636 *Dec 7, 1984Jan 6, 1987Asahi Kasei Kogyo Kabushiki KaishaPolyacetylene composite
    US4637944 *Mar 19, 1985Jan 20, 1987Monsanto CompanyProcess and device for temporarily holding and releasing objects
    US4642254 *Mar 4, 1986Feb 10, 1987Monsanto CompanyProcess and device for temporarily holding and releasing objects
    US4693921 *Nov 30, 1984Sep 15, 1987AplixFastening tape designed to be attached to a molded article during molding, and its attaching method
    US4752537 *Apr 21, 1986Jun 21, 1988The Boeing CompanyMetal matrix composite fiber reinforced weld
    US4775310 *Apr 25, 1986Oct 4, 1988Velcro Industries B.V.Apparatus for making a separable fastener
    US4794028 *May 15, 1986Dec 27, 1988Velcro Industries B.V.Method for continuously producing a multi-hook fastner member and product of the method
    US4931344 *Dec 15, 1988Jun 5, 1990Kuraray Company, Ltd.Fastener component
    US5017363 *Jul 25, 1990May 21, 1991Gillette Canada, Inc.Stabilized stannous fluoride toothpaste
    US5037178 *Jan 12, 1990Aug 6, 1991Kingston Technologies, L.P.Amorphous memory polymer alignment device
    US5133112 *Apr 25, 1991Jul 28, 1992Gomez Acevedo Hector HClosure device
    US5136201 *Apr 15, 1991Aug 4, 1992Rockwell International CorporationPiezoelectric robotic articulation
    US5182484 *Jun 10, 1991Jan 26, 1993Rockwell International CorporationReleasing linear actuator
    US5191166 *Jun 10, 1991Mar 2, 1993Foster-Miller, Inc.Survivability enhancement
    US5212855 *Aug 5, 1991May 25, 1993Mcganty Leo FMultiple button closure-fastener
    US5284330 *Jun 18, 1992Feb 8, 1994Lord CorporationMagnetorheological fluid devices
    US5312456 *Jan 31, 1991May 17, 1994Carnegie Mellon UniversityMicromechanical barb and method for making the same
    US5319257 *Jul 13, 1992Jun 7, 1994Martin Marietta Energy Systems, Inc.Unitaxial constant velocity microactuator
    US5328337 *Aug 17, 1990Jul 12, 1994Kunta Norbert JGuided vanes hydraulic power system
    US5474227 *Apr 25, 1994Dec 12, 1995The Idod TrustMethod of forming seamed metal tube
    US5486676 *Nov 14, 1994Jan 23, 1996General Electric CompanyCoaxial single point powder feed nozzle
    US5492534 *May 20, 1994Feb 20, 1996Pharmetrix CorporationControlled release portable pump
    US5611122 *Jul 19, 1994Mar 18, 1997Minnesota Mining And ManufacturingInterengaging fastener having reduced noise generation
    US5656351 *Jan 16, 1996Aug 12, 1997Velcro Industries B.V.Hook and loop fastener including an epoxy binder
    US5657516 *Oct 12, 1995Aug 19, 1997Minnesota Mining And Manufacturing CompanyDual structured fastener elements
    US5669120 *Oct 17, 1996Sep 23, 1997Ykk CorporationMolded surface fastener
    US5671498 *Apr 4, 1995Sep 30, 1997Martin; Timothy J.Scrubbing device
    US5712524 *Dec 26, 1995Jan 27, 1998Nec CorporationPiezoelectric rotation driving apparatus
    US5797170 *Feb 28, 1997Aug 25, 1998Ykk CorporationSynthetic resin molded surface fastener
    US5798188 *Jun 25, 1997Aug 25, 1998E. I. Dupont De Nemours And CompanyPolymer electrolyte membrane fuel cell with bipolar plate having molded polymer projections
    US5816587 *Jul 23, 1996Oct 6, 1998Ford Global Technologies, Inc.Method and apparatus for reducing brake shudder
    US5817380 *Apr 10, 1997Oct 6, 1998Idemitsu Petrochemical Co., Ltd.Snap-zipper and bag with the same
    US5885652 *Oct 11, 1996Mar 23, 1999Corning IncorporatedMethod and apparatus for coating optical fibers
    US5974856 *May 27, 1997Nov 2, 1999Ford Global Technologies, Inc.Method for allowing rapid evaluation of chassis elastomeric devices in motor vehicles
    US5979744 *Mar 25, 1998Nov 9, 1999Brigleb; Mary BethObject wrapping and method of wrapping an object
    US5983467 *Dec 29, 1997Nov 16, 1999Duffy; Leonard A.Interlocking device
    US6086599 *Feb 8, 1999Jul 11, 2000The Regents Of The University Of CaliforniaMicro devices using shape memory polymer patches for mated connections
    US6102912 *May 28, 1998Aug 15, 2000Sofamor S.N.C.Vertebral rod of constant section for spinal osteosynthesis instrumentations
    US6102933 *Feb 5, 1999Aug 15, 2000The Regents Of The University Of CaliforniaRelease mechanism utilizing shape memory polymer material
    US6129970 *Jul 30, 1999Oct 10, 2000Velcro Industries B.V.Touch fastener with magnetic attractant and molded article containing same
    US6156842 *Mar 10, 1999Dec 5, 2000The Dow Chemical CompanyStructures and fabricated articles having shape memory made from α-olefin/vinyl or vinylidene aromatic and/or hindered aliphatic vinyl or vinylidene interpolymers
    US6203717 *Jul 1, 1999Mar 20, 2001Lord CorporationStable magnetorheological fluids
    US6257133 *Mar 15, 1999Jul 10, 2001International PaperMethod and apparatus for controlling cross directional nip dynamics
    US6388043 *Feb 23, 1999May 14, 2002Mnemoscience GmbhShape memory polymers
    US6454923 *Nov 10, 1998Sep 24, 2002Central Research Laboratories LimitedGas sensor
    US6460230 *Jan 2, 2001Oct 8, 2002Kuraray Co., Ltd.Mold-in fastening member and production of molded resin article having mold-in fastening member
    US6502290 *Jul 19, 2001Jan 7, 2003Taiwan Paiho LimitedHook tape fabrication method
    US6544245 *May 10, 2001Apr 8, 2003Velcro Industries B.V.Bi-stable fastening
    US6593540 *Feb 8, 2002Jul 15, 2003Honeywell International, Inc.Hand held powder-fed laser fusion welding torch
    US6605795 *Nov 6, 2000Aug 12, 2003Mts Systems CorporationControl system for depositing powder to a molten puddle
    US6628542 *Jan 5, 2001Sep 30, 2003Sharp Kabushiki KaishaMagnetoresistive device and magnetic memory using the same
    US6681849 *Aug 22, 2001Jan 27, 2004Baker Hughes IncorporatedDownhole packer system utilizing electroactive polymers
    US6740094 *Jan 16, 2001May 25, 2004The Regents Of The University Of CaliforniaShape memory polymer actuator and catheter
    US20020007884 *Jun 28, 2001Jan 24, 2002Andreas SchusterSemifinished product made from a shape memory alloy having a two-way effect and method for manufacturing the same
    US20020050045 *Nov 26, 2001May 2, 2002Chiodo Joseph DavidMethod for disassembling different elements
    US20020062547 *Dec 9, 1997May 30, 2002Joseph David ChiodoMethod for disassembling different elements
    US20020142119 *Mar 27, 2001Oct 3, 2002The Regents Of The University Of CaliforniaShape memory alloy/shape memory polymer tools
    US20030120300 *Dec 20, 2001Jun 26, 2003Scimed Life Systems, Inc.Detachable device with electrically responsive element
    US20040025639 *Aug 9, 2002Feb 12, 2004Dr. Mohsen ShahinpoorNovel electrically active ionic polymer metal composites and novel methods of manufacturing them
    US20040033336 *Dec 5, 2001Feb 19, 2004Axel SchulteHook-and-loop fastener produced from a shape memory plastic material
    Referenced by
    Citing PatentFiling datePublication dateApplicantTitle
    US20050263668 *Jun 1, 2004Dec 1, 2005Baker Hughes, IncorporatedMethod and apparatus for isolating against mechanical dynamics
    US20100080951 *Oct 10, 2007Apr 1, 2010Max-Planck-Gesellschaft Zur Forderung Der Wissenschaften E.V., A Corporation Of GermanyStructured surface with adjustable adhesion
    US20120266417 *Jun 29, 2012Oct 25, 2012GM Global Technology Operations LLCActive material based fasteners including cable ties and twist ties
    EP1753994A1 *Jun 1, 2005Feb 21, 2007Baker Hughes IncorporatedMechanical dynamics damping system for a device
    EP1753994A4 *Jun 1, 2005Jul 18, 2007Baker Hughes IncMechanical dynamics damping system for a device
    WO2008049517A1 *Oct 10, 2007May 2, 2008Max-Planck-Gesellschaft zur Förderung der Wissenschaft e.V.Structured surface with adjustable attachability
    WO2009010160A2 *Jun 25, 2008Jan 22, 2009Parador Gmbh & Co. KgComponent having magnetic or magnetisable functional layer and use thereof
    WO2009010160A3 *Jun 25, 2008Aug 13, 2009Parador Gmbh & Co KgComponent having magnetic or magnetisable functional layer and use thereof
    WO2009010161A1 *Jun 25, 2008Jan 22, 2009Parador Gmbh & Co. KgComponent having nano-scale functional coating and use thereof
    Classifications
    U.S. Classification24/442
    International ClassificationF16F1/36, F16B1/00, A44B18/00, A44B99/00
    Cooperative ClassificationF16B2001/0028, A44B18/0003, Y10T428/24017, F16F2224/045, F16F1/3605, A44B18/0096, C08L2201/12, F16B1/0014, A44D2203/00, Y10T24/27
    European ClassificationA44B18/00G14, A44B18/00C, F16F1/36B, F16B1/00B
    Legal Events
    DateCodeEventDescription
    Jan 14, 2009ASAssignment
    Owner name: GM GLOBAL TECHNOLOGY OPERATIONS, INC., MICHIGAN
    Free format text: ASSIGNMENT OF ASSIGNORS INTEREST;ASSIGNOR:GENERAL MOTORS CORPORATION;REEL/FRAME:022117/0047
    Effective date: 20050119
    Owner name: GM GLOBAL TECHNOLOGY OPERATIONS, INC.,MICHIGAN
    Free format text: ASSIGNMENT OF ASSIGNORS INTEREST;ASSIGNOR:GENERAL MOTORS CORPORATION;REEL/FRAME:022117/0047
    Effective date: 20050119
    Feb 4, 2009ASAssignment
    Owner name: UNITED STATES DEPARTMENT OF THE TREASURY, DISTRICT
    Free format text: SECURITY AGREEMENT;ASSIGNOR:GM GLOBAL TECHNOLOGY OPERATIONS, INC.;REEL/FRAME:022201/0610
    Effective date: 20081231
    Owner name: UNITED STATES DEPARTMENT OF THE TREASURY,DISTRICT
    Free format text: SECURITY AGREEMENT;ASSIGNOR:GM GLOBAL TECHNOLOGY OPERATIONS, INC.;REEL/FRAME:022201/0610
    Effective date: 20081231
    Apr 16, 2009ASAssignment
    Owner name: CITICORP USA, INC. AS AGENT FOR BANK PRIORITY SECU
    Free format text: SECURITY AGREEMENT;ASSIGNOR:GM GLOBAL TECHNOLOGY OPERATIONS, INC.;REEL/FRAME:022553/0446
    Effective date: 20090409
    Owner name: CITICORP USA, INC. AS AGENT FOR HEDGE PRIORITY SEC
    Free format text: SECURITY AGREEMENT;ASSIGNOR:GM GLOBAL TECHNOLOGY OPERATIONS, INC.;REEL/FRAME:022553/0446
    Effective date: 20090409
    Aug 20, 2009ASAssignment
    Owner name: GM GLOBAL TECHNOLOGY OPERATIONS, INC., MICHIGAN
    Free format text: RELEASE BY SECURED PARTY;ASSIGNOR:UNITED STATES DEPARTMENT OF THE TREASURY;REEL/FRAME:023124/0429
    Effective date: 20090709
    Owner name: GM GLOBAL TECHNOLOGY OPERATIONS, INC.,MICHIGAN
    Free format text: RELEASE BY SECURED PARTY;ASSIGNOR:UNITED STATES DEPARTMENT OF THE TREASURY;REEL/FRAME:023124/0429
    Effective date: 20090709
    Aug 21, 2009ASAssignment
    Owner name: GM GLOBAL TECHNOLOGY OPERATIONS, INC., MICHIGAN
    Free format text: RELEASE BY SECURED PARTY;ASSIGNORS:CITICORP USA, INC. AS AGENT FOR BANK PRIORITY SECURED PARTIES;CITICORP USA, INC. AS AGENT FOR HEDGE PRIORITY SECURED PARTIES;REEL/FRAME:023127/0468
    Effective date: 20090814
    Owner name: GM GLOBAL TECHNOLOGY OPERATIONS, INC.,MICHIGAN
    Free format text: RELEASE BY SECURED PARTY;ASSIGNORS:CITICORP USA, INC. AS AGENT FOR BANK PRIORITY SECURED PARTIES;CITICORP USA, INC. AS AGENT FOR HEDGE PRIORITY SECURED PARTIES;REEL/FRAME:023127/0468
    Effective date: 20090814
    Aug 27, 2009ASAssignment
    Owner name: UNITED STATES DEPARTMENT OF THE TREASURY, DISTRICT
    Free format text: SECURITY AGREEMENT;ASSIGNOR:GM GLOBAL TECHNOLOGY OPERATIONS, INC.;REEL/FRAME:023156/0052
    Effective date: 20090710
    Owner name: UNITED STATES DEPARTMENT OF THE TREASURY,DISTRICT
    Free format text: SECURITY AGREEMENT;ASSIGNOR:GM GLOBAL TECHNOLOGY OPERATIONS, INC.;REEL/FRAME:023156/0052
    Effective date: 20090710
    Aug 28, 2009ASAssignment
    Owner name: UAW RETIREE MEDICAL BENEFITS TRUST, MICHIGAN
    Free format text: SECURITY AGREEMENT;ASSIGNOR:GM GLOBAL TECHNOLOGY OPERATIONS, INC.;REEL/FRAME:023162/0001
    Effective date: 20090710
    Owner name: UAW RETIREE MEDICAL BENEFITS TRUST,MICHIGAN
    Free format text: SECURITY AGREEMENT;ASSIGNOR:GM GLOBAL TECHNOLOGY OPERATIONS, INC.;REEL/FRAME:023162/0001
    Effective date: 20090710
    Sep 2, 2009FPAYFee payment
    Year of fee payment: 4
    Nov 4, 2010ASAssignment
    Owner name: GM GLOBAL TECHNOLOGY OPERATIONS, INC., MICHIGAN
    Free format text: RELEASE BY SECURED PARTY;ASSIGNOR:UAW RETIREE MEDICAL BENEFITS TRUST;REEL/FRAME:025311/0770
    Effective date: 20101026
    Owner name: GM GLOBAL TECHNOLOGY OPERATIONS, INC., MICHIGAN
    Free format text: RELEASE BY SECURED PARTY;ASSIGNOR:UNITED STATES DEPARTMENT OF THE TREASURY;REEL/FRAME:025245/0442
    Effective date: 20100420
    Nov 8, 2010ASAssignment
    Owner name: WILMINGTON TRUST COMPANY, DELAWARE
    Free format text: SECURITY AGREEMENT;ASSIGNOR:GM GLOBAL TECHNOLOGY OPERATIONS, INC.;REEL/FRAME:025327/0001
    Effective date: 20101027
    Feb 10, 2011ASAssignment
    Owner name: GM GLOBAL TECHNOLOGY OPERATIONS LLC, MICHIGAN
    Free format text: CHANGE OF NAME;ASSIGNOR:GM GLOBAL TECHNOLOGY OPERATIONS, INC.;REEL/FRAME:025780/0902
    Effective date: 20101202
    Nov 15, 2013REMIMaintenance fee reminder mailed
    Apr 4, 2014LAPSLapse for failure to pay maintenance fees
    May 27, 2014FPExpired due to failure to pay maintenance fee
    Effective date: 20140404