Hidden fields
Screen reader users: click this link for accessible mode. Accessible mode has the same essential features but works better with your reader.

Patents

  1. Advanced Patent Search
Publication numberUS3588112 A
Publication typeGrant
Publication dateJun 28, 1971
Filing dateAug 20, 1968
Priority dateAug 20, 1968
Publication numberUS 3588112 A, US 3588112A, US-A-3588112, US3588112 A, US3588112A
InventorsAnatol W Holt
Original AssigneeStelledar Inc
Export CitationBiBTeX, EndNote, RefMan
External Links: USPTO, USPTO Assignment, Espacenet
Board game involving the matching of a randomly arrayed group of pieces
US 3588112 A
Abstract  available in
Images(3)
Previous page
Next page
Claims  available in
Description  (OCR text may contain errors)

United States Patent 6/1902 Putnam 9/l928 Cahill 9/1960 Preston Primary ExaminerAnt0n O. Oechsle Attorney-Paul Maleson ABSTRACT: A playing board for holding game pieces in an array. The playing board provides easy automatic randomizing of the array, clear display of significant array patterns, easy insertion and removal of pieces without disturbing adjacent pieces, and stability of positioned pieces. It includes a plurality of shallow circular depressions, with contiguous depressions having specific separating wall height limitations. The combination of a game board having a rectangular array of positions with the corner positions deleted, and a plurality of pieces sufficient to just cover all the positions, with the pieces having a plurality of differing markings, and the method of play utilizing the game board and pieces involving reproducing certain elements of order of the pieces in the array by withdrawing pieces from the array and placing them on a construction surface.

a 1X a A OJMMOHU M T a M B M M N U J.\)m\ J c n n w (r \r. urxw /t N a a/M .l m\ I 6 S 3 .t c n QQQQ AP SQ if Mm m m T m E m m 1 W D: v E U m m 1 T N no a m 3 mAH H n l. D-m a a Nae m m sm {D- 1 .D. I b H n SE we 1m wmr m m rm .m ww m m m m mum wl ....ln. A m m 8 0 6 NRW n n d m 22Md IRN H n. DD 8 h H u RE i H Sign; mum 1 n4 AP-IAIJSP ALITW mm N8 GM m m Um I 0 06 m H 2* m N. am mw a I 8 w M m ANc wm plmmfi 0A3 3 Ch .l m AFPA BR! U be. 3 H HNH M H W N w 7 UUHH. U U UH U PATfiNIEU MN 2 8 I971 SHEET 1 BF 3 Fig: 3 INVENTOR.

ANATOL W. HOLT ATTORNEY PATENTED JUN28l9H $588,112

' sum 3 OF 3 INVENTOR. ANATOL w. HOLT EL $7M ATTORNEY BOARD GAME INVOLVING TI'IE MATCHING OF A RANDOMLY ARRAYED GROUP OF PIECES BACKGROUND OF THE INVENTION 1. Field of the Invention One aspect of this invention relates to board games. More particularly it relates to board games of the class involving the exercise of a high order of skill and the lack of the element of chance. An aspect of this invention relates to the physical structure of the surface of the game board. Another aspect of the invention lies in the combinatorial relationship of a game board having a plurality of positions thereon arranged in certain ways, with a plurality of pieces adapted to placed on the game board positions, where the plurality of pieces are marked differently in certain ways. Another aspect of the invention relates to the method of utilizing the pieces and the game board so as to provide a game or contest solely of skill, capable of being played by an individual against the physical conditions imposed by the plurality of pieces on the game board or by a plurality of individuals opposing each other. The structural elements and the method of using them results in providing a number of different starting conditions of a very large magnitude. The structural elements and the method of using them also permit the game to be played in a reasonable period of time to a definite conclusion.

2. Descriptionof the Prior Art It is not believed that this game has any close relationship in principle with any previously known game. Of the types of games with which it may be considered as a competitive board game are chess and the Japanese game known as Go. It not only partakes with these games the general function of being a competitive game of skill, it has in common with them the existence of a plurality of game pieces and a board on which these pieces may be positioned, together with a prescribed mode of placing, removing, or moving the pieces with respect to the board.

The structural elements involved in this invention include, in a very broad sense, a playing board having a particular array and configuration of positions, and a plurality of pieces, just sufficient to occupy all the designated positions on the playing surface. To this extent, the game has these elements in common with a great many other previously known common games, including, in addition to the games mentioned above, such games as checkers, and the game known as Chinese checkers. A broad description of the plurality of playing pieces in this game as being of a plurality of different markings does not distinguish from sets of playing pieces in many other games. However, the plurality of pieces provided as a structural element in the present game have certain broad requirements in principle as to the distribution of the different markings, and there are preferred distributions. The distinctive marking of pieces to meet the requirements of the principles of the present game are not believed to be known in prior games.

The diagrammatic arrangement of the playing surface, without regard to the structural details of the game board playing surface itself (which is another aspect of this invention) has certain nonarbitrary restrictions which are not matters of choice, and it is not believed that playing surfaces having exactly these restrictions have been known, although many arrangements of positions on playing surfaces for game pieces are of course known. I

Such patents as design U.S. Pat. Nos. 199,849; 191,316; 208,868; 206,811 and 198,629, have some measure of pertinence.

SUMMARY OF THE INVENTION One aspect of this invention relates to the construction of a game board. In particular, it relates to the structure of the playing surface of the game board. The game board comprises an array of a plurality of shallow circular depressions. The depressions are arranged to form a substantially rectangular array with the corner depressions omitted. The wall height between contiguous depressions horizontally and vertically are low, and the wall height between contiguous depressions along diagonals are relatively high. This permits easy automatic randomizing of the game pieces or stones in the depressions, clear display of significant (nondiagonal) array patterns, easy insertion and removal of pieces without disturbing adjacent pieces, and stability and automatic orderly appearance of pieces on the game board.

Another aspect of this invention is the combination of a playing surface having a substantially rectangular array of positions with the corner positions omitted and a number of game pieces corresponding to the number of positions. The game pieces are divided into a plurality of classes. The classes are distinguished by having all members of a given class having a common marking, differing from the markings of members not in that class. The markings are preferably different colors. The classes have different number of members.

Another aspect of the invention lies in the mode of using the combination of the playing surface and the game pieces. The game pieces are initially randomly distributed to fill all the positions on the playing surface. Pieces are withdrawn from the game board playing surface (and not replaced during the course of play) to form groups of pieces on a construction surface. The groups constructed on the construction surface represent groups remaining in the array on the game board, according to certain specific general principles of representation.

BRIEF DESCRIPTION OF THE DRAWINGS FIG. 1 is a plan view of the game board.

FIG. 2 is a cross-sectional view, taken along lines 2-2 of FIG. 1, showing the positioning of a game piece.

FIG. 3 is a plan view of a game board with all the game pieces in place thereon.

FIG. 4 is a plan view of an embodiment of a game board and cover, partially fragmented.

FIG. 5 is a bottom view of the game board and cover shown in FIG. 4.

FIG. 6 is a cross-sectional view taken along line 6-6 of FIG. 4.

FIG. 7 is an enlarged, fragmented, cross-sectional view taken along line 7-7 of FIG. 5.

FIG. 8 is a plan view of an embodiment of the game board and cover.

FIG. 9 is a plan view of the cover shown in FIG. 8.

FIG. 10 is a side view of the game board of FIG. 8 with game pieces on the upper surface thereof.

FIG. 11 is a cross-sectional view taken along the line 11-11 of FIG. 8.

DESCRIPTION OF THE PREFERRED EMBODIMENTS FIGS. 1 and 2 best show the structural aspects of the game board playing surface itself. The game board is generally designated 10. The exact embodiment illustrated is described. The game board is square in planar' configuration. In its simplest form, as illustrated in FIGS. 1 and 2, the game board 12 is substantially rigid, has a substantial depth, and is in a horizontal plane. Its surfaces have a generally flat configuration. Its upper'surface, however is provided with a plurality of shallow depressions 14. In FIG. 1, only representative ones of these depressions are numbered. Each depression, in plan view comprises a complete circle. In FIG. 1, it does not appear that these depressions are complete circles; they appear to be distorted where they touch adjacent circles. The limitations relating to the relative placement of these depressions 14 explain this showing. The depressions are arranged in a square grid or array having six depressions on a side, except that the four corner depressions are omitted. The relative position of the depressions are within the following limitations: the circumference of a given depression intersects the circumference of all depressions adjacent thereto either horizontally or vertically (as viewed in FIG. I, that is, in a row or column respectively). With respect to a diagonally adjacent depression, the circumference of each depression fails to intersect the circumference of the diagonally adjacent depression. The circumferences of the diagonally adjacent depressions may approach but not reach the limiting condition of having a common tangent at a point of contact. A less restrictive set of limitations on the relative positioning of the depressions may also be relied on to obtain much of the same functional value, and is described below after a description of the functional values of the interrelationship.

. A plurality of game pieces, stones, or markers 20 are provided. There are 32 depressions and an equal number of game pieces are provided. The game pieces are circular in plan view, as shown in FIG. 3. The upper and lower surfaces are convex and the upper surface arc and lower surface are intersect at the edges of the game piece, as is best shown in the cross-sectional views of the game pieces 20 in FIGS. 2 and 6. The edges of the pieces 20 are smoothed or rounded off. Thus, each game piece 20 presents a waferlike appearance, with all surfaces curvilinear. The plan view diameters of the game pieces are such relative to the diameters of the depressions 14 that game pieces lying in adjacent depressions have their edges closely approaching but not overlapping the adjacent vertical or horizontal game pieces. The condition of having such pieces with the edge touching is approached as a limit.

As shown in FIGS. 2, 6, l0, and'll, the depth of the shallow depressions 14 are such with respect to the thickness of the game pieces 20 that at least a portion of the upper surfaces of the game pieces lies above the uppermost surfaces of the game board itself. The contours of the depressions generally accommodate and receive the contours of the game pieces.

One of the principles of the mode of using the accommodation of game pieces and game board involves a stress on locating vertically and horizontally oriented patterns of pieces and disregarding diagonal patterns of pieces. It will now be apparent that the game board structure as described strongly emphasizes the vertical and horizontal lines of pieces and deemphasizes the diagonal arrangements. This is due more than to merely a natural result of arranging pieces in a rectangular array generally as shown. An important contribution to the required emphasis is the fact that the described limitations result in having a higher wall between adjacent pieces on the diagonal and lower wall" between pieces vertically or horizontally adjacent. The intersecting circumferences of the depressions necessarily lower the wall of material between the depressions across the region of intersection, and beyond the region of intersection, the height of the material rises to a preferably rounded point, as is clearly shown for example in FIGS. 2, 6 and 11. These rounded points have several effects. They tend to isolate the diagonally adjacent pieces, which is desirable. They also tend to stabilize the pieces in the depressions.

The above-described functions can also be obtained even if the depressions do not intersect. This can be accomplished by lowering the height of the material of the game board between vertically and horizontally adjacent depressions, and leaving the height of material higher between diagonally adjacent depressions. FIG. 4, which is somewhat diagrammatic in showing the array of depressions, nevertheless does show an array in which the depressions do not intersect. It is apparent that the surface of such a board can be molded or otherwise shaped so that the board is highest at the diagonal midpoints of adjacent depressions. Such an alternative arrangement is not quite as preferable because the sharp distinction between emphasized verticals and horizontals and deemphasized diagonals starts to be lost as the circumferences of adjacent circles are located further apart from each other. If the diameters of the pieces are made large enough so that when in such an alternative arrangement of the depressions, the pieces still approach a touching condition on their vertical and horizontal lines, it is apparent that their is not as large a nesting" or resting surface in the depressions with relation to the size of the pieces, and therefore, there is some decrease in stability and orderly and even array.

The structure as described, permits, in addition to the vertical-horizontal emphasis, several other advantages. The principles of the game require that there be a piece in every depression at the start of the game and that these pieces be arranged randomly. In practice, the pieces are dumped onto the surface of the game board 12 and are pushed around, or the game board is shaken. Most of the pieces settle randomly into one or another of the depressions and present an orderly array, emphasizing horizontals and verticals, without interfering with each other. Thus, with a minimum of additional handling and arrangement, the present structure provides for automatic randomizing of the pieces and automatic neat ordering of them. A given piece may now be removed from the array without disturbing adjacent pieces. The finger of a player can simply be inserted into the array along one of the diagonals and grasp the edge of the piece. If a piece is to be placed in a given depressions on the board for any reason, it is apparent that it can be so placed without disturbing adjacent pieces. The high points or raised portions lying between adjacent depressions are designated 16.

FIG. 3 shows a board and game pieces ready for play. The depressions 14 are all filled by game pieces 20. The 32 game pieces are divided into ll different classes, differentiated by being differently colored. In FIG. 3, the pieces belonging to the same class are marked with the same letter. It is understood that the manner in which the pieces of a given class are differentiated from those of another is not of theessence of this invention, but that differing colors are a convenient and preferable means. A pair of cloth or felt pads 30 are provided, as shown in FIG. 3, on opposite sides of the game board 10. The surfaces of the cloth pads 30 are playing surfaces utilized in the play of the game, in addition to the game board itself. The use of pads 30 is optional. It is apparent that the game board may be rested on any surface having sufficient area on opposite sides of the board to provide the necessary playing area, also called a construction surface, and the pads 30 as illustrated in FIG. 3 may be taken to represent the required additional playing area.

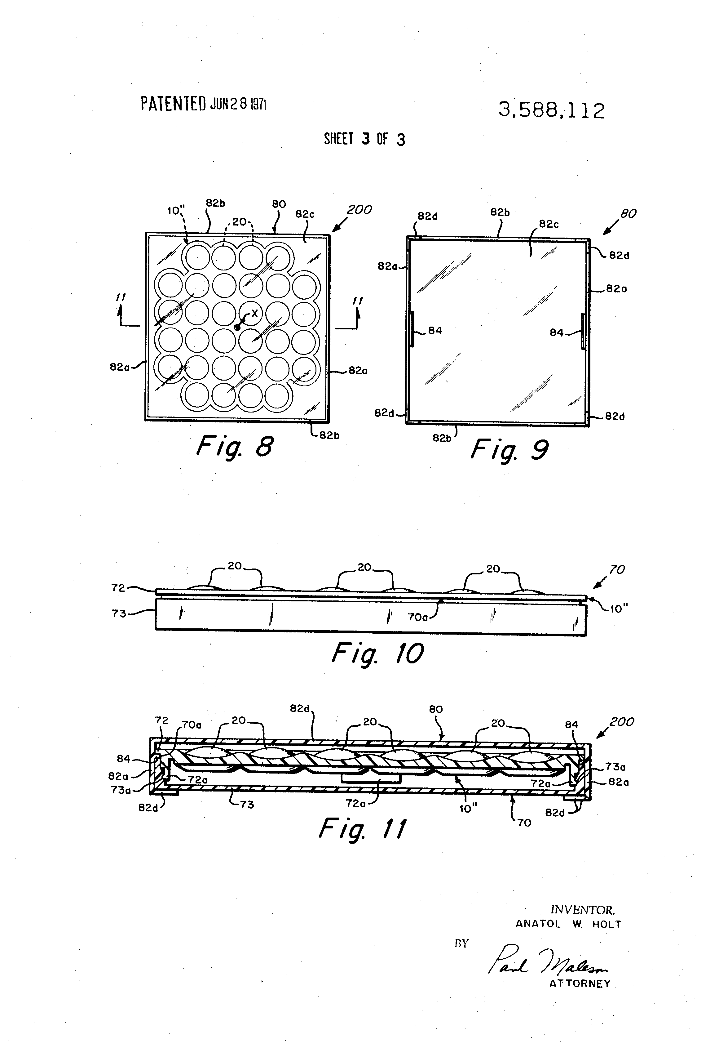
An embodiment of the structure including additional refinements is best understood in connection with FIGS. 8-11. The

game board itself is generally designated 70, the cover is generally designated 80, and the cover and game board, when assembled in the stored condition is generally designed 200. The game board and cover combination 200 may be generally designated the game package.

The cover is best initially described in connection with FIG. 9. It is rectangular in plan shape and of the same general plan dimensions as the game board with which it is adapted to coact. The cover 80 has a top 82c and a plurality of depending sides perpendicular thereto, 82a, and 8212.

At each of the corners, a leg 82d is provided. Each leg 82d extends lower than the extent of the remainder of the sides 82a and 82b. The legs 82d are provided by simply extending the vertical dimension of the sides at the corners, as is shown by reference to FIGS. 9 and 1 1.

On two opposing sides, 82a, a pair of tabs 84 are provided. One tab 84 is provided on each of the opposing sides 82a, approximately centered along the length of the side. By reference to FIG. 11, it is seen that the tabs 84 extend inwardly from the sides 82a and are positioned somewhat below the top surface 82:1. The tabs 84 act as detents in the cover's coaction with the game board 70.

The game board 70 is generally rectangular in its plan dimensions. When its own recess is closed, as is described below, the board has a height of a dimension which is minor but substantial compared to the length of the board s sides.

The game board 70 comprises a main body portion 73 and a top or playing surface portion 10''. The top portion 10" is provided with a laterally extending flange 72. Flange 72a is an extension laterally of the upper playing surface. Below the flange 72, the top portion 10 has a slightly reduced lateral dimension permitting it to fit within the open top of the main body portion 73. The main body portion 73 is in its general configuration a simple open rectangular box having a flat bottom surface and upstanding sidewalls. As best shown in FIG. 4, the upstanding sidewalls are provided with an internal step or seat below the upper edge thereof. The flange 72 has been described as having a downwardly extending portion of somewhat smaller lateral dimensions and this downwardly extending portion is dimensioned to seat on the step provided in the upstanding sides of the main body portion 73. The downwardly extending extensions of flange 72 is of such a length that when the top portion is placed on and in the main body portion 73, a slight peripheral groove or gap 70 a extends entirely around the game board. This groove lies between the upper edges of the upstanding sidewalls of the main body portions 73 and the lower surface of the flange 72.

It is understood that the seat on the upstanding sidewalls of portion 73, as described, extends entirely around the game board, and that the downwardly depending portion of the top game board portion 10" also extends entirely around the game board.

In addition, means are provided so that the top portion 10" will be held firmly in the main body portion 73 unless deliberately pried off as by inserting a fingernail or coin in the peripheral groove 700. These means include a plurality of tabs 72a on the top portion 10'. A downwardly depending tab 72a is provided on each side thereof, approximately in the middle. The location and extent of these tabs 72a is best shown in FIG. 11. Each tab 720 is provided with an outwardly extending ridge as shown in FIG. 4. Corresponding positions along the internal surface of the upstanding walls of main body portions 73, slots 73a are provided. These slots 73a receive the raised ridge portion on the corresponding tab 72a. Thus, tab 72a acts as a detent and engages the slot 730. This coacting combination of upper playing surface lit)" and main body portion 73 of the game board 70 together provides a game board having a recess therein. This recess is valuable for storing instructions or other written material. The instructions are thus kept in easy and close relationship to the game board, without the danger of being lost and yet are kept out of the way of the players unless required. The recess also provides a very convenient form of inclusion of the instructions or other written material during shipment, display, sale, and storage of the game.

The coaction of the cover 8ft and the game board 76 is now described. The inwardly extending tabs 84 and the sides 82a of the cover, as described, are positioned so that when the cover is placed over the top of the game board, the tabs 84 enter the peripheral groove or gap 700, and thus have a detent function in holding the cover on the game board. As is shown in FIG. 4, the vertical alignment and spacing of the tabs 84 and groove 70a is such that when the tabs enter the grooves, the legs 82d extend downwardly below the lower surface of the game board so that the entire game package rests on the legs 82d.

In the stored condition, the game pieces, 24) are positioned on the top surface ofthe playing portions 10'.

The top 82c of the cover 86) is at least somewhat deformable and elastic on the exertion of manual pressure on the center thereof. The symbol X in FIG. 8 designates the preferred point for exertion of manual pressure. When such pressure is exerted, the top 82d deforms downward and comes into contact with the upper surfaces of the nearest game pieces 20. The combined effect of this pressure is to exert a downward force on the game board 70 and a slightly flaring action on the sides 82a of the cover. This is sufficient to release the game board and the game pieces from engagement with the cover, and the game board 70 drops out of the cover so that it is not engaged by the detents on the cover and is not supported by the legs 82d. The playing surface is thus made accessible for use. The game board is restored to the stored or closed condition to form a game package by pressing it into the cover.

Typically, the parts as described can be molded of a plastic such as polystyrene. The game board and cover may be of square horizontal configuration having sides approximately 6 inches in length. The vertical dimension of the game board 70 is about one-half inch. The length of the legs 82d below the Another embodiment of the invention is shown in FIGS. d-

7. The game package is generally designated 100. The cover 50 includes a top 520 and downwardly extending sides 52b and 52c. A peripheral groove 2f is provided around the inside surface of the sidewalls of the cover 50 near the bottom thereof. Each corner of the cover 50 is provided with a stop 52d. This is a small triangular insertion in each internal upper corner of the cover and it has a spacing function. In other respects, the cover in this alternate embodiment is like that of the preferred embodiment.

The game board is generally designated 10". Game pieces 20 rest in the shallow recesses provided on the game board's upper surface. As best shown in FIG. 6, the game board 10' includes a top portion 42 with downwardly depending sidewalls. The top portion 12 is open at the bottom. Each of the sidewalls of the top portion 42 is provided with a peripheral snap lug 42a at the bottom thereof which extends around the entire game. As best shown in FIG. 7, the lug 42a, which acts as a detent, fits into the peripheral groove 52f in the cover 50. It is seen, particularly from FIGS. 6 and '7 that instead of having specific separate legs as in the preferred embodiment, the sides 52b and 520 of the cover extend downwardly below the groove 42a and thus provide a continuous leg which holds the game board it) off a generally supporting surface. It has been found advisable to provide a camming surface 52a in the cover below the groove 42a to facilitate the reinsertion of the game board into the cover.

The element which in one sense corresponds to the main body portion of the first-described embodiment is the bottom, generally designated 6%. This bottom 60 includes a body plate member 62a of generally rectangular configuration having a plan dimension and shape approximating that of the interior surfaces of the depending sidewalls of the top 42. On two opposed sides, the bottom plate 62 is provided with snap lugs 62a, which is best shown in FIG. 8, and are outwardly extending ridges or extensions of the bottom plate. The inner surfaces of the walls of the top &2 are provided with corresponding slots 42b positioned and adapted so as to receive the snap lugs 42a when the bottom plate 62 is pressed into place. It has been found that the insertion of the bottom plate 62 into the top portion of the game board 10 is facilitated if a sloping camming surface 42c is provided below the slot 42b. An aperture 62b is provided in the bottom plate 62 as shown in FIGS. 6 and 8. This is a finger hold and is used to facilitate the removal of the bottom 60 from the, top 42, thus rendering accessible the recess defined between these two elements in the game board it). The plurality of vertical braces 64 on the sides of the top 42 also have a spacing function in that they prevent the bottom 6% from being warped inwardly too far.

When the stones 20 are in their shallow recesses or depressions 44 on the top surface 42, and the cover 50 is placed over it and pressed down until it engages the detents 42a, the as sembly is in the form of a game package as has been designated MN). The stops 52d provide internal bracing and also prevent the cover from being forced accidentally too far onto the game board so that the detents are overridden. The game board is dropped from the cover by pressure exerted approximately at the symbol X.

It is not intended to patent the rules of play of the different games that may be played with this structure. Such rules are protected under the copyright laws. However, there are certain principles involving the interrelationship of the board and the pieces. These principles are common to the games which may be played with these elements. Certain aspects of the structure and of the basic principles are so closely interrelated that it may be said that particular restrictions in the structure have no meaning apart from their intended function which involves the principles of their use. Thus, in the absence of the principles of their interrelationship, the plan layout of the board, with its corner spaces missing, and the arrangement of the different classes of markers would appear to be arbitrary. This is not the case. Therefore, the basic and elementary functional relationship between the structural elements is described below. It is understood that this statement is not a statement of the rules of play of any complete game. The rules involve many other complexities.

The 32 markers 20 are divided into 11 classes, each class being preferably differentiated by differences in color. The distribution of the stones in the classes is as follows: 8, 7, 3, 3, 2, 2, 2, 2, l, l, 1. The game pieces are distributed randomly in the depressions 14 as has been described. It is understood, that for the reasons described above, the physical structure of the game board playing surface has important values in its use. It is also apparent however that considering the theoretical functional interrelationship of the gamepieces and the game board, the principles of the relationship can be carried out with a game board having a diagrammatic layout only; that is, not having a third dimensional aspect. Play on such a board would be inconvenient and not preferable, but can theoretically be accomplished.

When the pieces are randomly distributed, there are l possible starting combinations. The areas 3'9 as shown in FIG. 3, constitute construction surfaces, whereas the surface of game board is called a game board playing surface. All these surfaces together comprise the playing surface. The depressions 14 may be designated as comprising horizontal rows and vertical columns. By withdrawing pieces 14 from the game board 10, and placing them on a construction surface 30, the operation proceeds. By repeated withdrawals of a stone or stones from game board Ill, placing such withdrawn stones on a construction surface 30, a group of stones is provided on construction surface 30 that meets certain essential criteria. The group of stones constructed on construction surface 30 must match a group of stones that can be found in the array remaining on the game board 10. The constructed group matches a group which can be found among the stones in the array if the constructed group has the same shape and orientation as the group found in the array, and is constructed entirely of stones that are adjacent (without a space) to at least one other stone along at least one horizontal or vertical line, that is, in a row or column, (diagonal adjacencies are not significant), and if the relationship between the classes of pieces in the constructed group (without regard to the absolute class of a piece, but only with regard to its class relative to another piece) is identical with the relationship of the classes of the pieces in the group found in the array on the game board 10.

For example, consider the three top pieces in the lefthand row of FIG. 3, which are identified from top to bottom as D, A, F. These are a group in the array. Each piece in the group is adjacent to at least one other piece in a column and each piece is of a different class. A matching group constructed on construction surface must meet the foregoing criteria. Thus, three pieces, every one of which is adjacent to at least one other piece, arranged vertically, and consisting of pieces of three different classes, will match. For example, three stones arranged vertically as described, having the classes respectively B, F, A, will match.

A further example, is three consecutive pieces in the bottom row of FIG. 3, B, B, L, and the piece above the L, that is, A. A matching group constructed on a construction surface would be consecutive horizontally disposed pieces with a fourth piece above and adjacent to the right-hand member of the group of three. Furthermore, in order to match, the constructed group must have the first two left-hand pieces of the horizontal row of the same class, and the remaining two pieces of classes differing from each other and from the first two. Thus, a group of three stones horizontally and one stone vertically as described, consisting of pieces of the classes A, A, H, B respectively meet the criteria. The term "stone" and game pieces or piece" are used interchangeably.

The other essential principle, common to all the games, is that of not only providing a match between a group of stones in the array and a group of stones on the construction surface, but of providing what is here termed an isolated match. That is, a match between a group of stones on the construction surface, as described, with a group remaining on the game board, with the game board group 'being isolated from adjacent stones. Isolation for the purposes of this invention is defined as not being adjacent to any other stone either horizontally or vertically. Being adjacent diagonally does not interfere with the state of isolation. Thus, as an example, considering again the vertical stones D, A, F, in the left-hand column in FIG. 3, these stones are considered isolated if the following stones are removed from the game board: the three stones in the second leftmost column, immediately adjacent the group to be isolated, that is, stones identified from top to bottom as A, E, and C, and the bottommost stone in the left-hand column, that is, a stone labeled A. It will be noted that at the lower right, is a diagonally adjacent stone labeled K and at the upper right of the group, there is a diagonally adjacent stone labeled G. However, the presence of these stones does not interfere with the isolation.

The reason for the plan layout of the game board, and the distribution of classes can now be be understood.

It is of course desirable in such a game that the play not be trivialized, that the person moving first not always or too easily win or have too great an advantage, and that the play be reasonable in length. In the preferred arrangement as described above, where persons take individual turns in withdrawing single stones from the board and placing them on their own construction surface, and where a minimum of two stones is required to form a group, (as well as other rules of less basic significance being applied), it is found that games have an average length of the order of magnitude of 20 minutes to a half hour. It has been found that if a square array is provided with the comer positions left in the array, the play of the game tends to be trivialized and is much less interesting. The deletion of the corner locations greatly enhances the usefulness of the invention for its intended competitive purpose, as has been determined by repeated tests. The number of different classes and the distribution of the stones in the classes to provide the most interesting and varied play has largely been arrived at by emperical means. However, there are certain theoretical underlying aspects to the number of classes in the distribution. Having the number of classes equal one, or having each stone of a different class are physical limits which result in trivial uses. There should be a plurality of classes, and at least some of the classes should have numbers of members different from that of other classes. There should be a class having a low number of members (as one and a class having a number of members representing a substantial proportion of the total number of stones (as for example of the order of magnitude of 25 percent), and classes having numbers of members between these. The class having the largest number should have at least one other class having a number of members of the same order of magnitude. Thus, the preferred array includes two large classes having eight and seven members respectively, three small classes having single members, and intermediate classes as follows: two classes of three each and four classes of two each. It is preferable that there be more classes having a lower number of members than classes having a higher number of members. This type of broad distribution, leading to the most interesting type of play, has a relationship to general principles regarding distributions of classes and their memberships. Thus, it has some points of analogy with the distribution of frequency of use of long and short words in language. The theoretical basis involving such distributions have been discussed for example in Human Behavior and the Principle of Least Effort" by George K. Zipf, Adis and Wesly Press. Cambridge, 1944.

It has been found that this game is playable, but is progressively less desirable as a game, for the reasons discussed above, if the number of pieces, the number and size of the classes and the size and shape of the game board playing surface are departed from.

I claim: 7

1. A game board having a playing surface adapted to receive and position a plurality of game pieces in neatly aligned rows and columns in random distribution, emphasizing the contiguity of adjacent pieces along rows and columns, and minimizing contiguity along diagonals, comprising a plurality of shallow depressions, each said depression having a cur vilinear vertical contour and a substantially circular horizontal contour, said depressions being arranged to form a rectangular array, the game board height between adjacent depressions along columns and rows being less than the game board height between adjacent depressions along diagonals.

2. A game board as set forth in claim 1 wherein said substantially rectangular array has each of the comer depressions omitted and replaced with a smooth surface having substantially the same height as the height between said depressions along said diagonal.

3. A game board as set forth in claim 2 wherein said rectangular array forms a substantially square array having the same number of depressions along each side, departing from a square configuration by the deletion of the said corner depressions.

4. A game board as set forth in claim 3 wherein there are 32 said depressions, with the spacing between the horizontal centers of said depressions being regular and equal along columns and rows.

5. A game board as set forth in claim 1 wherein said depressions are so spaced with respect to all adjacent depressions in columns and rows so that the circumference of said substantially circular horizontal configuration of each said depression intersects the circumference of said substantially circular horizontal configuration of all other said depressions adjacent thereto in both a column and a row.

6. A combination of a playing surface and a plurality of game pieces for a game solely of skill, comprising:

a. a square playing surface comprising an array of positions arranged substantially rectangularly and over the whole surface of said square with an equal number of positions on each side of said square except that the corner position at each corner of said square is omitted; and

b. a plurality of game pieces, the number of game pieces being equal to the number of said positions on said playing surface and the size of said pieces being such that any piece can be placed within any said position on said playing surface, said pieces being divided into a plurality of classes, said classes being distinguished from each other by differing markings, all game pieces being members of a given class having the same markings, at least some of said classes having a different number of member than others of said classes, and each of all said game pieces being positioned in a different one of said positions in a random distribution.

7. A playing surface and a plurality of pieces as set forth in claim 6 wherein in said plurality of classes, there is at least one class having a number of members between the highest number of members in any class and the lowest number of members in any class. 1

8. A playing surface and plurality of pieces as set forth in claim 7 wherein at least some of said classes have at least one other class with the same number of members.

9. A playing surface and a plurality of pieces as set forth in claim 8 wherein the class having the greatest number of members has another class havinga number of members of at least the same order of magnitude, the sum of the pieces in the two largest two classes being of the order of magnitude of one-half of the total number of pieces.

10. A playing surface and plurality of pieces as set forth in claim 9 wherein the total number of pieces is 32, the total number of classes 11, and the number of pieces comprising the membership of each said class are as follows: 8, 7, 3, 3, 2, 2,2,2, 1, 1, l.

11. A method of mutually manipulating a playing surface comprising an array of positions arranged substantially rectangularly in columns and rows and a plain construction surface and a plurality of game pieces, the number of game pieces being equal to the number of said positions, said pieces being divided into a plurality of classes, at least some of said classes having a different number of members than others of said classes, comprising;

a. placing a different said game piece in each of said positions on said playing surface in a random distribution;

b. withdrawing game pieces serially from said playing surface and placing them on said construction surface to form a constructed group, said constructed group always meeting the following criteria:

1. all game pieces in said constructed group after the first said game piece in said constructed group being adjacent to at least one other game piece in at least one of a column or row, I

2. the constructed group having a shape and orientation identical with any group of said game pieces remaining in said array on said playing surface, and

3. the relationship of the classes of the game pieces comprising the constructed group being identical to the relationship of the classes of the pieces comprising the group remaining in the array on the playing surface.

12. The method as set forth in claim 11 wherein an isolated match is made between said constructed group and said group remaining in said array by applying the additional criteria that said group in said array is not adjacent any other game piece in a column or row.

13. A combination of a playing surface, a construction surface and a plurality of game pieces for a game solely of skill, comprising:

a. a square playing surface comprising an array of positions arranged substantially rectangularly and over the whole surface of said square with an equal number of positions on each side of said square except that the corner position at each corner of said square is omitted;

b. a plurality of game pieces, the number of game pieces being equal to the number of said positions on said playing surface and the size of said pieces being such that any piece can be placed within any said position on said playing surface, said pieces being divided into a plurality of classes, said classes being distinguished from each other by differing markings, all game pieces being members of a given class having the same markings, at least some of said classes having a different number of members than others of said classes, and each of all said game pieces being positioned in a different one of said positions in a random distribution; and

c. a construction surface, said construction surface being planar and plain, adjacent said playing surface, to receive and display in nonrandom order game pieces removable from said playing surface.

Referenced by
Citing PatentFiling datePublication dateApplicantTitle
US4512584 *Jun 24, 1983Apr 23, 1985Western Publishing Company, Inc.Improved game board with pieces cooperating for rotation
US4603863 *Dec 17, 1984Aug 5, 1986Meyer William DTiltable game pieces for use with board games
US4896889 *May 8, 1989Jan 30, 1990Kuhn James OWord game with board and playing pieces rotatably supported therein
US5833240 *Oct 17, 1997Nov 10, 1998Barbour; William P.Dexterity game board apparatus
US6065751 *Apr 30, 1998May 23, 2000Armstrong; David GarvinBoard game retainer for the game of go
US7677570Jan 12, 2007Mar 16, 2010Michael HohensteinCompetitive Sudoku board game
US20070176362 *Jan 12, 2007Aug 2, 2007Michael HohensteinBoard game
US20140265125 *Mar 15, 2013Sep 18, 2014David HowellGame Piece and Methods of Making and Using Same
US20140361487 *Jun 6, 2013Dec 11, 2014Pang-Ling HuMahjong game set
US20150306491 *Jul 6, 2015Oct 29, 2015Bradley UniversityUniversal learning system
EP0512453A1 *May 4, 1992Nov 11, 1992Osamu IemuraGame tool
WO2007089782A2 *Jan 30, 2007Aug 9, 2007Michael HohensteinBoard game
Classifications
U.S. Classification273/282.1, 273/236
International ClassificationA63F3/02
Cooperative ClassificationA63F2003/00406, A63F3/00574
European ClassificationA63F3/00B9