Account Options

  1. Sign in
    Screen reader users: click this link for accessible mode. Accessible mode has the same essential features but works better with your reader.

    Patents

    1. Advanced Patent Search
    Publication numberUS3658662 A
    Publication typeGrant
    Publication dateApr 25, 1972
    Filing dateJan 21, 1969
    Priority dateJan 21, 1969
    Also published asCA926335A, CA926335A1, DE2000227A1, DE2000227B2, DE2000227C3
    Publication numberUS 3658662 A, US 3658662A, US-A-3658662, US3658662 A, US3658662A
    InventorsCasson Edward A Jr, Gaul Albro T, Langlais Eugene L, Shadlen Gerald, Vanaver Eugene L
    Original AssigneeDurolith Corp
    Export CitationBiBTeX, EndNote, RefMan
    External Links: USPTO, USPTO Assignment, Espacenet
    Corrosion resistant metallic plates particularly useful as support members for photo-lithographic plates and the like
    US 3658662 A
    Abstract
    A process for electrolytically forming on a metallic element a protective layer or film in an electrolyte consisting of an aqueous solution of preferably sodium silicate or alternately of other salts rendering the electrolyte substantially basic, the metallic element constituting the anode in the process. The processed metallic element has particular usefulness as a support member for photolithographic printing plate, the electrolytically formed film acting as a barrier layer preventing deterioration of the light sensitive diazo resin, or the like, utilized as a photosensitive coating on lithographic plates.
    Images(2)
    Previous page
    Next page
    Claims  available in
    Description  (OCR text may contain errors)

    United States Patent Casson, Jr. et al.

    [151 3,658,662 51 Apr. 25, 1972 [54] CORROSION RESISTANT METALLIC PLATES PARTICULARLY USEFUL AS SUPPORT MEMBERS FOR PHOTO- LITI-IOGRAPHIC PLATES AND THE LIKE [72] inventors: Edward A. Casson, Jr., Easton, Md.; Albro T. Gaul, Matawan, N..i.; Eugene L. Langlais, Detroit, Mich.; Gerald Shadlen, Arnold, Md.; Eugene L. Vanaver, Dallas,

    Tex.

    [73] Assignee: Durolith Corporation, Easton, Md.

    [22] Filed: Jan. 21, 1969 211 Appl. No.: 811,267

    CURRENT DEIVS/ TY 1,865,213 Ruben ..204/58 X 1,933,301 10/1933 Auerbach ..204/58 2,951,025 8/1960 Nostovych et al. ..204/58 X 3,079,308 2/1963 Ramirez et al ..204/58 X 3,296,106 1/1967 Smith et a1. ..204/58 X 3,440,050 4/1969 Chu ..204/35 X 3,511,661 5/1970 Rauner et al ..204/58 X FOREIGN PATENTS OR APPLICATIONS 663,910 8/1938 Germany ..204/58 342,256 l/l93l Great Britain ..204/58 459,263 l/1937 Great Britain ..204/58 Primary Examiner-F. C. Edmundson Attorney-Hanke, Gifford & Patalidis [5 7] ABSTRACT I deterioration of the light sensitive diazo resin, or the like, utilized as a photosensitive coating on lithographic plates.

    5 Claims, 10 Drawing Figures TIME (saw/v05) Patentd April 25, 1972 3,658,662

    2 Sheets-Sheet l lmnl l lr FIG. I i

    1 flz FIG.2

    INVENTORS EDWARD A. CASSON, JR. ALBRO T. GAUL EUGENE L. LANGLAIS GERALD SHADLEN EUGENE L. VANAVER l 1 I j i v D 0 5 77ME( EjZ/VDS) a 0 KM ATTORNE Y5 CURRENT DENSITY Patented April 25, 1972 3,658,662

    2 Shuts-Sheet 2 4c 8- Pan/1? SUPPLY L 46 v N I -45 42 Pan M SUPPLY 5 t 43 f f p Pan 6,? sap/1y INVENTORS EDWARD A. CASSON,JR ALBRO T. GAUL EUGENE L. LANGLAIS GERALD SHADLEN EUGENE L. VANAVER ATTORNEYS BACKGROUND OF THE INVENTION 1. Field of the Invention The present invention belongs to the field of methods and processes for forming on the surface of metallic elements a protective layer which is corrosion resistant, which acts as a barrier layer preventing spontaneous interreaction between the material of the element and a coating disposed thereon, and which is endowed with specific physical characteristics or qualities different from those of the base material. Although products obtained by way of the present invention have a general usefulness as a result of being provided with a corrosion and electrical resistant surface film they are particularly useful as support members for photo-lithographic plates and the like.

    The protective surface layer is obtained by an anodic electrolytic process.

    2. Description of the Prior Art Photo-lithographic plates currently in use today often in clude a metallic support member, having, for example, aluminum as its principal component, a surface of which has been silicated by chemical methods to provide a barrier layer which prevents interreaction between the photosensitive diazonium salts, or other photosensitive and non-photosensitive coatings, placed upon the support member and the metal surface of thesupport member. Silication of the metal surface provides achemical pacification which increases the shelf life of the lithographic plate, facilitates the processing of the plate after exposure, and improves the length of the printing run and the quality of print. The barrier layer is obtained, according to the prior art, by subjecting the metallic surface to the action of a solution of one or several of a plurality of compounds, examples of which include hydrolized cellulose ester, sodium phosphate glass, alkali metal silicates, sodium metaborate, phosphomolybdate, sodium silicate, silicomolybdate, watersoluble alkylated methylomelamine formaldehyde, polyalkylene-polyamine-melamine-formaldehyde resins, urea-formaldehyde resin plus polyamide, polyacrylic acid, polymethacrylic acid, sodium salts of carboxymethylcellulose, carboxymethyl-hydroxyethyl-cellulose, zirconium hexafluoride, etc.

    An often used solution in the prior art is an aqueous solution of sodium silicate in which the metallic plate, forming the lithographic plate support member, is dipped, or which is applied to a surface of the plate. The solution is preferably heated before dipping the plate therein or before applying to the surface of the plate, and the plate surface is optionally washed with an acidic medium in order to harden the silicated surface and neutralize any alkali that may remain on the surface.

    ln addition to acting as a barrier layer between the metal of the metallic plate and the diazo resin, the silicated surface fonns a hydrophilic surface which partially acts as an initial water-carrying surface when the processed plate is placed in a printing press. The hydrophilic surface thus formed is desirably relatively insoluble in the fountain solutions used in a printing press in order to prevent undercutting or hydration of the image areas.

    It has been postulated that the following reactions take place during conventional silication of an aluminum surface:

    1. The aluminum and the aluminum oxide at the surface of the plate react with the solution according to the formulas:

    2. Silication, simultaneously or consecutively, takes place at the surface, according to the following formula:

    The aluminum silicate surface layer thus formed is substantially insoluble, although it may be dissolved to some extent in strong reagents, and it has been postulated that it is in the form of large super crystals having an endless chain-like structure as follows:

    However in addition to aluminum silicate, other compounds may be formed and included in the surface layer, which'often result in differences in the qualities of the surface layer. Some of the compounds that may be present in the film of aluminum silicate include A1 (OH) hydrated A1 0 and hydrated sodium aluminum silicate, such as, for example, Na O-Al,O -2SiO '6I-I O, could present varied degrees of solubility in fountain solutions used on printing presses. In addition, if varied cations such as Ca, Mg, etc., are present, they may also form complex double silicates with the aluminum, which may cause further loss in quality of the formed layer.

    Silication of aluminum plates by the processes of the prior art requires control of the purity of the solution and of the process variables as closely as feasible, such process variables being the pH of the solution, the concentration of silicate, the temperature of the solution, the duration of the operation, the amount of grain of the plate, the plate surface cleanliness, the degreasing or dismutting processes utilized, etc. If all the process variables are closely controlled in the prior art processes, it is possible to obtain silicated aluminum plates of acceptable quality for use as support members for photo-lithographic plates. The most important of the desirable qualities to be achieved consist in an adequate chemically inert surface layer which does not deteriorate with-age and is uniform and well bonded to the aluminum base material and which protects the aluminum surface in such manner that it is prevented from interreacting with the acidic diazo resin and will be only slowly etched by the acidic fountain solutions, and in providing an appropriate anchorage for the light exposed diazo resin which permits the developing lacquer to build up on the image areas and to supply long lasting oleophilicity of the image areas, thus insuring long runs of the plate in the printing press. Such qualities are difficult to obtain in a repetitive manner by way of the processes of the prior art.

    The present invention, by contrast, by utilizing an electrolytic process for fonning an improved functional surface on aluminum plates and other metallic elements permits to achieve consistent and repetitive quality in the surface and permits to obtain a surface greatly enhancing the quality of photo-lithographic plates as compared to what is achieved by prior art methods.

    SUMMARY OF THE INVENTION The present invention provides an electrolytic process for forming on the surface of a metallic plate, such as is generally used as a support member for a coating of diazonium salts or the like in photo-lithographic plates, a pacified, corrosion resistant, hydrophilic surface layer greatly enhancing lithographic and printing performances.

    Although silicaton obtained by prior art methods provides a barrier layer between the metallic plate and the diazonium salt compounds or the like utilized as the photosensitive coating in photo-lithographic plates, electrolytically formed surface layers according to the present invention provide barrier layers which are much improved as far as lithographic hardness, continuity and uniformity of the layers or films is concerned. The electrolytic process of the present invention also produce surface layers which are intimately bonded to the underlaying materials, which have high hydrophilic qualities and provide a practical improvement in the fine grain of the plate surface. In addition, the electrolytically formed surface layer has a much improved anchoring quality for adhesion of the diazo resin thus reducing any tendency to image failure and resulting in improved runs. The improved surface grain and the increase in bonding quality of the electrolytically treated surface also result in more retained diazo, more retained lacquer and a more oleophilic image, leading to longer running and higher quality press performances, as compared to conventional lithographic plates.

    Other advantages provided by surfaces obtained by the method of the present invention to photo-lithographic plates, cylinders, rollers, and other support members are less propensity to attack from the printing press fountain solutions, less soluble film remaining on the plate after rinsing, improved hydrophilic quality on the surface, and a more compact film resulting in a lithographically harder surface and less deterioration as a result of wear. The hard, compact surface film or layer obtained by the present invention on a metallic element, because of its corrosion resistant characteristics, its bonding and anchoring qualities with respect to a decorative or protective film which may subsequently be applied thereto and its increase in electrical resistivity as compared to the resistivity of the base material, results also in providing articles having general usefulness in the industry.

    These and other advantages and objects will become apparent to those skilled in the art when the accompanying description of some of the best modes contemplated for practicing the invention is read in conjunction with the accompanying drawings wherein like reference numerals refer to like or equivalent parts.

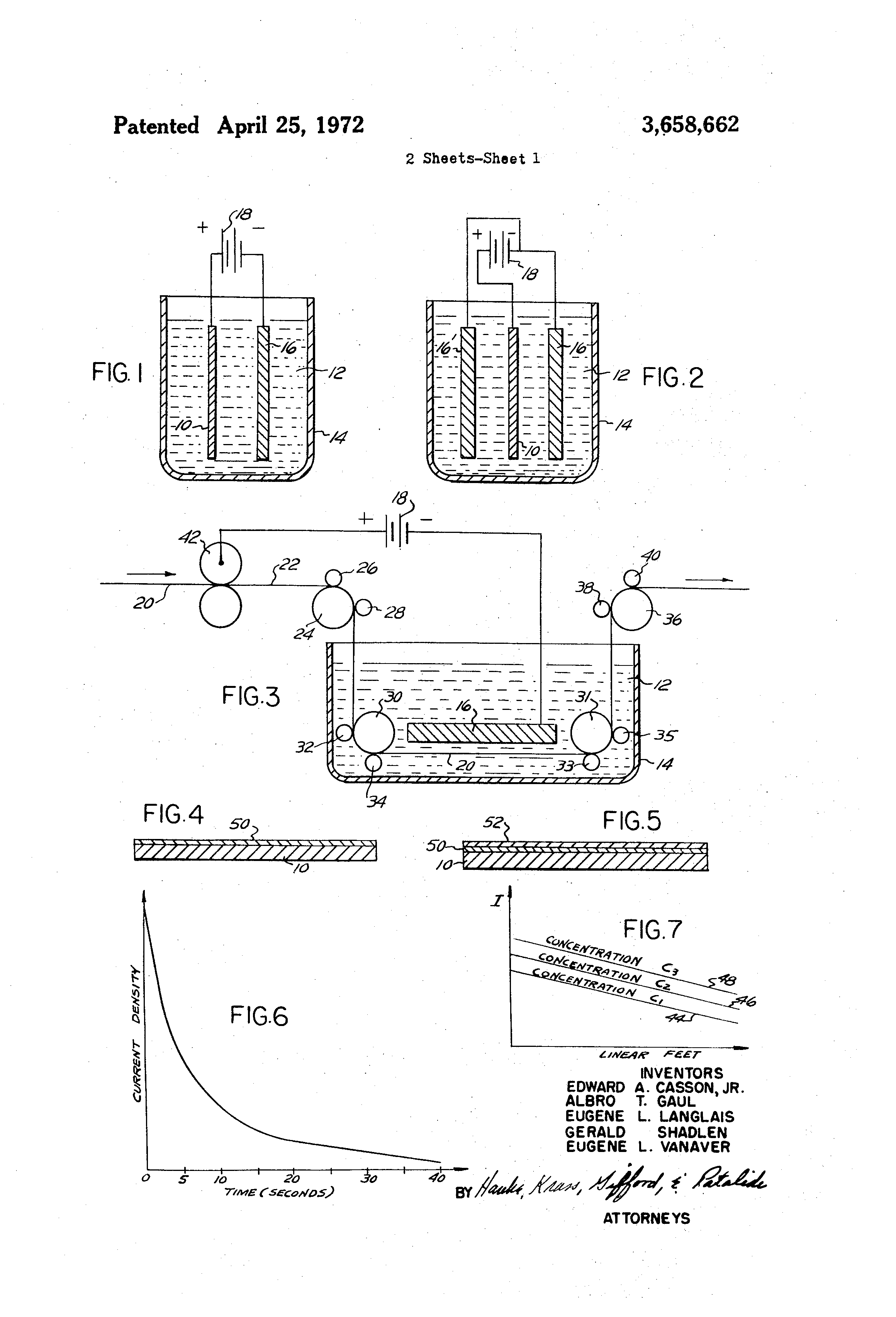
    BRIEF DESCRIPTION OF THE DRAWINGS FIG. 1 is a schematic representation of an example of arrangement for practicing the electrolytic process of the present invention;

    FIG. 2 is a schematic representation of a modification of the arrangement of FIG. 1;

    FIG. 3 is a schematic representation of a further modification of the arrangement of FIG. 1, illustrating a continuous line process;

    FIG. 4 is a schematic sectional view of a metallic plate having been subjected to the process of the invention;

    FIG. 5 is a schematic sectional view of the metallic plate of FIG. 4 provided with a coating of photo-sensitive material such as a diazo resin or the like;

    FIG. 6 is a chart representing the current flow as a function of time in a typical example of operation according to the electrolytic process of the present invention;

    FIG. 7 is a chart representing a family of curves of the current flow, at diverse electroyte concentrations, as a function of the linear feet of metallic plate strip electrolytically processed according to the arrangement of FIG. 3;

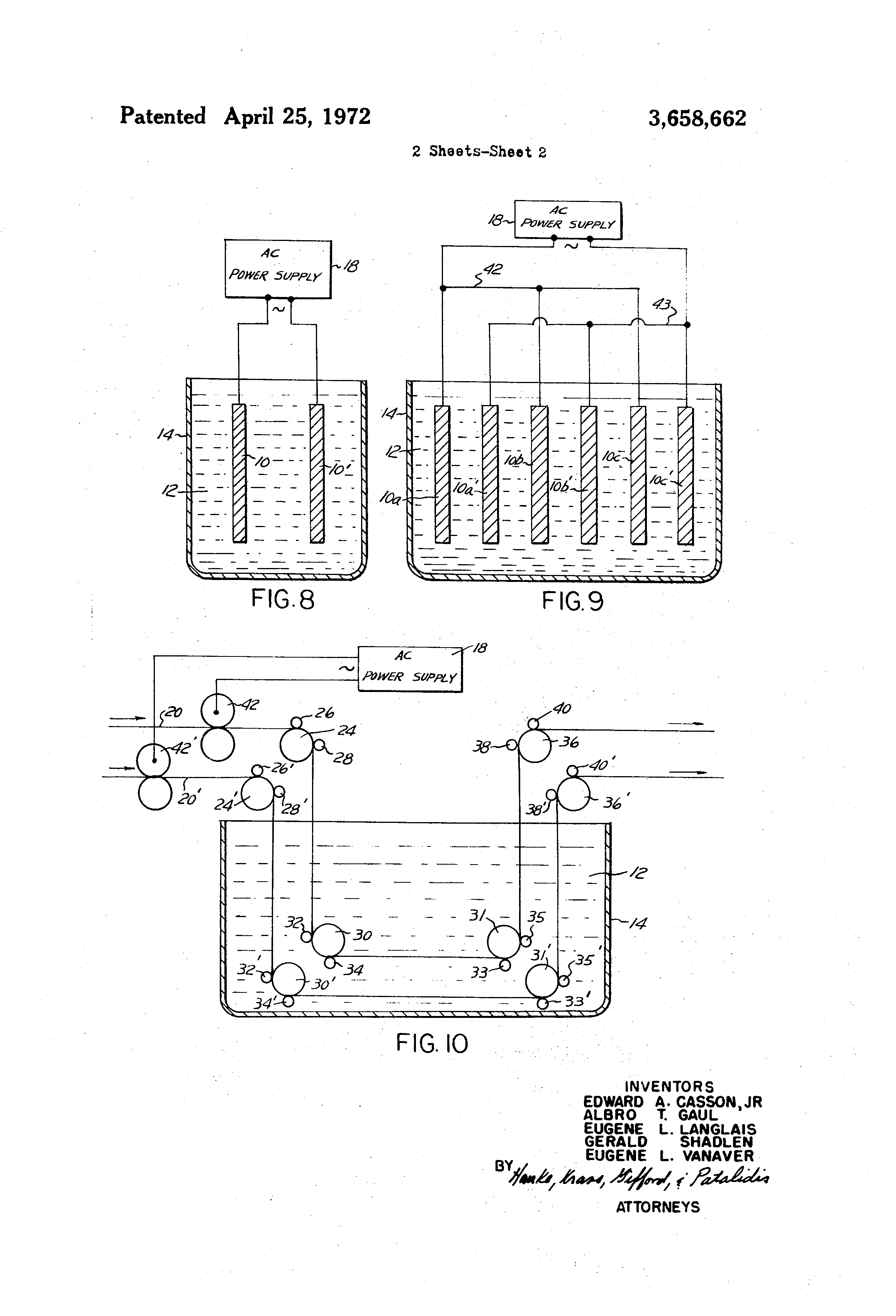
    FIG. 8 is a schematic representation of another example of arrangement for practicing the electrolytic process of the present invention;

    FIG. 9 is a schematic representation of a modification of the arrangement of FIG. 8; and

    FIG. 10 is a schematic representation of a further modification of the arrangement of FIG. 8 showing a continuous line process.

    DETAILED DESCRIPTION OF THE PREFERRED EMBODIMENTS In order to practice the present invention, a metallic element such as a metallic plate 10, as shown in FIG. 1, is dipped in an appropriate electrolyte 12, contained in a tank 14, in proximity to an electrically conductive electrode 16. The metallic plate 10 is connected to the positive terminal of a DC power supply 18, and the electrode 16 is connected to the negative terminal of the power supply, such that the metallic plate 10 is electrolytically anodic and the conductive electrode I6 is electrolytically cathodic. The conductive electrode 16 may be in the form of a solid metallic plate, or in the shape of a gridor mesh made of the same material as the metallic plate 10, or made of a dissimilar material.

    The DC power supply 18 may be a bank of storage batteries, an AC-DC dynamo-electric or static converter, an AC-DC rectifier or any other convenient source of DC power. A pulsed DC current power supply may be used, and it does not seem material whether the DC voltage across the terminals of the power supply is constant and steady or include an AC ripple. An AC power supply may be also used, which is arranged to operate on that portion of the cycle when the metallic element 10 is substantially anodic.

    EXAMPLE I Plates of I aluminum, having an area of 25 sq. in. and 0.009 in. thick were prepared by having a surface of a continuous web of the aluminum material grained at a line speed of 12 feet per minute using a sand slurry. The web was then cut so as to provide plates of the indicated area. The plates were electrolytically silicated according to the arrangement of FIG. I, by dipping the plate in the electrolyte at a predetermined distance from a cathode 16 consisting of a stainless steel grid, the grained surface of the plate being disposed opposite the cathode. The spacing between the plate and the cathode was three inches in a series of runs and 6 inches in another series of runs, and experiments were run with an electrolyte solution consisting of an aqueous solution of diluted Star Brand" 42 Baum sodium silicate defined as (l Na,0: 2.5 $0,), sold by Philadelphia Quartz Co., the concentration of silicate in the solution being equivalent to 1.56 percent of silicate" by weight in a series of runs and 4.05 percent of silicate" by weight in another series of runs, having a pH of approximately 13 in both cases. The conditions of operations, namely the voltage applied across the plate and cathode, the time or duration of operation, the spacing between the plate and the cathode, the concentration of silicate in the electrolyte, and the temperature of the electrolyte are tabulated hereinafter together with the relative quality rating of the samples.

    It will be appreciated that percents of silicate by weight as mentioned herein refer in each instance to the percent solids of solicate" as defined hereinbefore.

    TABLE I Electrolyte con- Spaecentratlon lng (percent (In.) weight Voltage Time (volts) (sec.)

    Sample No.

    After silication, the silicated surface of each sample was coated with a conventional diazo resin, according to conventional methods in the lithographic plate manufacturing industry. The diazo resin used for all the tests mentioned herein was Diazo Resin No. 4, manufactured by Fairmount Chemical Co. The sample plates were exposed and developed by means of a one-step developer which developed the image at the same time as it lacquered it.

    The relative qualitative rating of the sample plates resulted from lacquer breadkdown" tests. After the first development of the image, the one-step developer was reapplied so as to redissolve the lacquer and relacquer the image. The procedure was repeated until the image broke down and did not relacquer. In the poor category were those sample plates which broke down at the first redevelopment, which is the case for the lower quality conventionally silicated plates silicated generally at low temperature. The fair category includes sample plates which withstood two or three redevelopments, which is generally comparable to plates which are conventionally silicated at high temperature. The good category includes sample plates which were redeveloped five or more times, while the excellent category includes plates which were even better. It will be appreciated that the breakdown" test utilized for the relative qualitative rating, although commonly used in the lithography industry, is far from being an objective or scientific test, dependent as it is upon the human testers technique and skill, but such a test when effected by the same person upon a plurality of samples, permits to obtain a substantially reliable relative rating.

    Even the sample plates included in the poor category as far as the breakdown tests were concerned yielded good quality images and in some other aspect were superior to the average conventional lithographic plates. The sample plates did not scum up and they did not yield any black spots, which are common defects in conventionally silicated plates.

    Table I indicates that the best results are achieved with a relatively high temperature of electrolyte and with a relatively high voltage, in the neighborhood of 36 volts. With reduced voltage, longer times in the electrolyte bath are required.

    Tests were also run with an electrolyte having a concentration of 0.5 percent by weight or less. It was found that with such low concentration of silicate in the electrolyte it becomes difficult, if not impossible, to obtain a silicated layer in a reasonable time. This may be due to the fact that the electrolyte does not contain a high enough concentration of silicate or hydroxide anions to react at the surface of the aluminum plate. When sufficient silicate and hydroxide anions are present in the solution as a result of utilizing higher silicate concentrations in the electrolyte, the anions forced to the positively charged aluminum plate are able to react to form a film which may be a complex aluminum silicate. An increase in the voltage and in the temperature of the electrolyte not only produce superior results but permit shorter times in the electrolyte bath which are advantageous in continuous coil manufacturing processes, as will be hereinafter explained. Experimentally it was found that electrolyte concentration between 0.5 percent and percent by weight, applied voltage between 6 and 60 volts DC, temperature of the electrolyte between about C and the boiling temperature of the electrolyte and time of immersion between 10 and 360 seconds yield a good quality silicated layer on the plate.

    Other concentrations of the electrolyte solution may be effectively used, up to saturation, depending upon the particular silicate or other salt used in the electrolyte and the temperature of the bath.

    High concentrations reduce immersion time requirements. For example, in one pair of tests, immersion time was decreased from 60 seconds to 5 seconds by increasing the concentration from 1.95 to 3.75 percent. Very high concentrations, for example 37 percent by weight of a 2.5 SiO /Na O ratio, have lower electrical conductivity which must be taken into account. Very high concentrations do react with the aluminum both before and after the electrolytic treatment and should therefore be used with appropriate care. Although the test results of Table l were obtained with a silicate containing a SiO to Na O ratio of 2.5, it is obvious that other ratios may be used. For example silicate solutions having a SiO to Na,O

    ratio of 2.65 and 2.84, made by Diamond Alkali Co., were' successfully used.

    Other voltages and temperatures than the preferred ranges hereinbefore indicated may also be used, all of such variables being readily determinable by a reasonably skilled operator and, depending on the particular requirements, quality standards and available equipment.

    It has been determined that rinsing of the electrolytically treated plate is desirable. Rinsing is relatively more difficult after long immersion times or other process combinations which produce a similar effect. It should however not be concluded that such surfaces are inferior in quality and performance.

    Other salts which may also be included in the electrolyte, in addition to sodium silicate, include metal silicates, phosphates, chromates, borates, vanadates, and molybdates. These and other constituents when used alone or in combination in electrolyte solutions, instead of sodium silicate, in practicing the present invention, are propounded as accomplishing the same or equivalent results in varying degrees of effectiveness.

    It should be appreciated that the process of the invention differs from anodization. Anodization utilizes acid electrolyte solutions only as a current conductive medium and the anions in the electrolyte serve no permanent role in the surface composition obtained. In aluminum anodization, for example, it is sought to obtain A1 0 even though S0,, or C 0,, anions may be used in the acidic electrolyte. In the present invention, the anions being displaced to the anodic plate appear to become an integral part of the surface produced. Basic anodic processes are not generally used. An example of a research study, (Briggs et al., Trans. Faraday Soc., 51, 1433, (1955) 52 1272 (1956)), related to Nickel-Iron and Nickel-Cadmium battery processes describe oxidation of Nickel in alkaline solutions.

    The electrolytic process of the present invention preferably utilizes a basic electrolyte and results in electrochemically pacifying the surface such that the surface becomes resistant to corrosion and dissolution and also produces a base film suitable for anchorage. This is clearly demonstrated by electrolytically forming a surface, as previously indicated, on an aluminum plate according to the arrangement of FIG. 1, and in monitoring the electrical current flowing through the electrolyzing circuit. Keeping the voltage constant, the current flow as a function of time follows the curve shown at FIG. 6. It can thus be seen that after a predetermined period of time, of several seconds, the current flowing through the electrolyte is reduced to a fraction of the original current.

    If it is desired for some applications, generally other than photo-lithographic applications, to provide both surfaces of a metallic element or plate with a passive silicated surface layer, the arrangement of FIG. 2 may be used wherein the metallic plate 10 is disposed in the tank 14 containing an appropriate electrolyte 12 between two cathodes 16 and 16'.

    Referring now to FIG. 3 there is schematically illustrated a continuous electrolytic process for forming on a surface of a continuous metallic web 20 a layer according to the present invention. The web 20, made for example of aluminum foil which has been preferably pregrained on a surface 22 thereof, is deflected by means such as rollers 24, 26, and 28 into a tank 14 containing an electrolyte 12, for example, a sodium silicate aqueous solution as previously mentioned. By means of rollers 30, 32, and 34, and rollers 31, 33, and 35, the continuous web 20 is caused to be linearly displaced in the tank 14 in proximity to an electrode 16, the grained surface of the web being opposite the electrode. In a photo-lithographic plate manufacturing continuous process, the web emerging from the tank 14 is fed by further rollers 36, 38, 40 to rinsing and drying stations and to a diazo coating station, not shown, and to a station, not shown, where the web is sectioned in any appropriate lengths.

    The electrode 16 is connected to the negative terminal of a DC power supply 18 so as to be cathodic, while the continuous web 20 is rendered anodic by being connected to the positive terminal of the DC power supply 18 by means such as a current conductive roller 42, or by any other appropriate means, including by way of example but not limitation, brushes, sliding contacts, or the like.

    EXAMPLE II A web of l aluminum, 29% in. in width, was silicated according to the arrangement of FIG. 3 utilizing an electrolyte heated above 70 C and consisting of an aqueous solution of sodium silicate (lNa O:2.5SiO containing 3.10 percent by weight of sodium silicate, the cathode being spaced 4 inches from the moving web and the cathode extending 10 feet along the length of the web. A voltage of 31 volts was used, and the aluminum web was continuously pregrained at a line speed of 12 feet per minute using a sand slurry. A total current of 240 amps flowed in the electrical circuit at the beginning of the silication operation and progressively reduced to 180 amps after l 145 linear feet of the web had passed through the bath.

    It seems that the decrease in current flowing through the electrolyte is the combined result of a progressive reduction of effective surface area of the web due to wear of the abrasive particles in the slurry used for graining the surface thereof, and due to an apparent depletion and/or contamination of the electrolyte. Consequently, the decrease in current flowing through the electrolyte may be used as a means for monitoring the effect of surface area and electrolyte effectiveness in a continuous manufacturing process.

    The decrease in current as a linear function of the amount of linear feet traveling through the electrolyte bath is represented at FIG. 7 by curve 44 corresponding to an electrolyte concentration of Cl. with an electrolyte concentration of C2, C2 Cl, and in the concentration range where increase in concentration results in increased conductivity, the current flowing through the electrolyte as a function of the linear feet of web passing through the electrolyte is according to curve 46, while at still a higher concentration C3, the current flow is according to curve 48.

    An increase in the velocity of displacement of the web through the electrolyte bath causes an increase of the current flowing through the electrolyte, as tabulated in Table II.

    TABLE II Ft/min Current Temperature Voltage (mp) (C) (volts) 9 174 sa so 12 184 83 30 I5 194 83 '30 18 205 83 30 The results of Table II can be foreseen from the curve of FIG. 6 and from what has been hereinbefore explained, as the electrolytic process of the present invention is partly self-limiting and results in only a leak current flowing through the electrolyte as soon as an appropriate silicated surface has been formed.

    Experiments were conducted in which the metallic element 10 of FIG. I and the electrode 16 were connected to the terminals'of a DC power supply in such manner that the metallic element 10 was connected to the negative terminal of the power supply so as to be cathodic while the electrode 16 was connected to the positive terminal of the power supply so as to be anodic, all other conditions being the same as mentioned relatively to Example I hereinbefore. Under such conditions, no surface layer having the desirable properties was obtained on the metallic element 10.

    As previously mentioned, it is immaterial whether the voltage applied across the metallic element and the electrode has any AC ripple. As a matter of fact, the principles of the present invention apply to arrangements wherein a metallic element connected to a terminal of an AC power supply is disposed in an appropriate electrolyte bath in which is im- 6 mersed another electrode which may be either a dissimilar or a similar metallic element connected to the other terminal of the AC power supply. On application of an AC voltage, the metallic element is anodic for approximately each half cycle of applied voltage. Such arrangement is shown in FIG. 8 wherein a tank 14 contains an appropriate electrolyte 12 in which is immersed a metallic element 10 connected to a terminal of an AC power supply 18. An electrode formed by a dissimilar or similar metallic element 10' is connected to the other terminal of the power supply. The apparatus functions with greater electrical efficiency when both metallic elements 10 and 10' are workpieces to be provided with a protective layer. If element 10 is a dissimilar electrode, power is dissipated without useful performance when such electrode is 5 anodic with respect to the workpiece, metallic element 10.

    . EXAMPLE III Utilizing the arrangement of FIG. 8, metallic elements 10 and 10' being both plates made of 1100 aluminum alloy were immersed in an electrolyte consisting of anaqueous solution of 6.5 percent by weight of sodium silicate solution of SiO,: 2.5 Na O maintained at a temperature of 25 C. The two plates were disposed 5 inches apart in the electrolyte and were connected across an AC power supply providing a 60 cycle, 60 volts RMS potential, for a duration of operation of 30 seconds. A surface layer was formed on the opposing faces of both plates, such surface layer having excellent properties, at least as good as the properties obtained by the arrangement of FIG. 1 using a DC power supply. The surface layer formed had a purplish blue color which turned slightly greyer after rinsing with clear water. The surface layers obtained on aluminum by the DC processes of the present invention are also generally blue in coloration, although they lose more of their coloration after rinsing.

    In addition to permitting to obtain surface layers having qualities at least equivalent to the layers obtained by way of the DC electrolytic process of the present invention, the use of an AC power supply has the added advantage of simplification of the power supply, of allowing more flexibility in placement of the electrodes and, in providing a process wherein both electrodes consist of metallic elements whose surfaces are sought to be provided with protective surface layers.

    If it is desired to provide both faces of a metallic element with a surface layer according to the present invention, utilizing an AC power supply, the arrangement schematically shown in FIG. 9 may be utilized. A plurality of metallic elements 10a, 10b, 100, etc., are electrically connected in parallel by means of a line 42 connected to a terminal of an AC power supply 18. A plurality of similar metallic elements 10a, 10b, 10c, etc., are connected in parallel by means of a line 43 to the other terminal of the power supply. In such manner, all the metallic elements with the exception, in the arrangement of FIG. 9, of the extreme elements are provided on both faces with a protective surface layer. It is obvious that, for example, the tank 14 may be a circular tank of appropriate dimensions such that an even number of plates are disposed in the electrolyte in the tank, all the odd numbered plates being connected in parallel to a common terminal of the power supply and all the even numbered plates being connected in parallel to the other terminal of the power supply. It will be appreciated that such an arrangement may be automated with an appropriate fixture on which the plates are mounted and which is dipped, after loading, into the electrolyte tank, the power supply being turned on for the appropriate time, then turned off, and the fixture removed from the electrolyte.

    EXAMPLE IV 60 Samples of 1100 aluminum having an area of 4 square inches, 0.009 in. thick and having a surface grain obtained by the method mentioned with respect to Example I, were electrolytically treated according to the arrangement of FIGS. 1 and 8 to establish a comparison between the results achieved by the DC and AC processes of the present invention. The cathode was stainless steel unless otherwise indicated. The spacing between cathode and anode was 4 inches in a series of runs and 1 inch in another series of runs. The temperature of the electrolyte solution was 26 C and it consisted of an aqueous solution of 6.5 percent by weight of sodium silicate of the ratio lNa O: 2.5SiO- The duration of the electrolytic operation was seconds for one series of runs and two seconds for another. Comparisons were made using DC, AC

    75 and full wave (FW) rectified AC power supplies. These data as well as a relative quality rating are tabulated hereinafter.

    TABLE III TABLE IV Electrode Voltage Surface Voltage spacln Time Relative AC Time Temp. Second Electrical (volts) Type (in. (sec.) rating Test N0. (volts) (sec.) C.) clectrodc properties 9 AC 4 40 Excellent. 5 30 60 25 AluminunL. Conductive. 18 AC 4 40 Do. 60 60 25 Do. 36 AC 4 40 Do. 100 60 9 AC 1 40 Do. 120 60 18 AC 1 40 Good. 150 60 36 AC 1 40 D0. 200 60 25 .d0 s Resistive.

    9 FW 4 40 Do. 220 60 25 do Do. 36 FW 4 40 Excellent 10 30 60 75 .do Conductive.

    9 FW 1 40 D0. 60 60 75 d0 Do. 36 FW 1 40 D0. 100 60 75 do. Do. 9 DC 4 40 Good. 120 60 o. 36 DC 4 40 Excellent 150 60 0 DC 1 40 Do. 200 60 36 DC 1 40 Do. 220 60 36 AC 4 2 Do. 100 180 36 FW 4 2 D0. 160 180 d 36 DC 4 2 D0. 200 180 25 do. D0. 36 AC 4 2 Good. 200 180 75 s. (lo Borderline. 4 2 Excellent. 150 180 75 -do. Resistive.

    200 180 75 do Do. 1 Both Al electrodes. 220 180 75 do Do. 2 36AC+50DC. 3 DC biased AC. l 32! I The Blame y g fi obtameg I By utilizing an AC power supply a continuous line process breakdowll i e rispectlto Xamp e l has been devised, schematically represented at FIG. 10, hav- Table Ill indicates t at, at t e e ectro yte concentatlon 111- mg two continuous metallic webs, or strips of, for example dlcated f P g g ellectrolymf g g gji aluminum, as shown at and 20', arranged to be dipped into voltages I? A t Z range en 3; u t a tank 14 containing an appropriate electrolyte 12 by means j g g e 2 of adequate deflecting drive roller assemblies 24-26-28 and 'ii even! g E 3 in 24-26'-2f respectively. The two webs are displaced substan 9 5 to exce. em .3 i e g i tially parallel to each other within the electrolyte by means of Z Z mgwgramni :1" 1 92 mm roller assemblies 3042-34 and 31-33-35, and 3014 3214 an M er wave orm e ec no power 34' and 3l'33'35', respectively. One of the webs, for exam- EXAMPLE V ple web 20 is connected by means of an appropriate contact making current conductive roller 42 or any other appropriate Plates of 1100 aluminum as described in Examples 1 and Ill means to a terminal of the AC power supply 18, while the were electrolytically treated in an electrolyte consisting of an other web 20' is connected by means of current conductive 35 aqueous solution of 6.5 percent by weight of sodium silicate of roller 42 or any other approprlatc means, to the other ter ratio 1 Na O: 2.5 SiO at 25 C and at 75 C, at various AC minal of the power supply. If one surface of each web is voltages using aluminum as both electrodes for a series of runs grained, the grained surfaces are disposed opposite to each whose conditions of operation and results are tabulated in other. The electrolyte compositions, concentrations and tem- Table IV, and platinum as one of the electrodes in another seperatures, the distance between the webs while being transries of runs. It was noted that the current drops rapidly when lated within the electrolyte, the duration of immersion of the two aluminum electrodes are used but not when a platinum webs are generally quite alike such variables as used in the DC electrode and an aluminum electrode are used. Samples were electrolytic process of the invention, while the AC voltages produced at intervals from 30 to 220 volts AC at 25 C and at (RMS) are preferably slightly higher than the preferred DC 75 C for times of 60 and 180 seconds. It is noted that the sur- 45 voltages. face coloration of these samples changed as the voltages were After passage through the electrolytic bath the metallic increased. This change appears to be related to the thickness plate 10, as shown schematically at FIG. 4, is provided with a of the electroformed surface layer. Also the electrical rc- DC or AC electrolytically formed surface barrier layer 50, sistance of the surface seems directly related to the voltage preferably only on one surface thereof if the plate 10 is to be and time, with increasing resistance and thickness resulting used, after coating with an appropriate photo-sensitive materifrom increased voltage and time. The resistance of the surface al, in photo-lithography and the like. It is obvious that with the was measured by placing two metal probes from an ohmmeter arrangement of FIGS. 2 and 9 the metallic plates are generally onto the surface of the aluminum. Samples tr ated low 150 provided with a layer on both faces thereof and that a certain V AC showed conductive readings even on a 1 ohm full scale amount of the layer ha bee fo m d l on th edges f h position indicating a discontinuous or delicately thin coating. late Samples treated above 150 V AC started to show resistive Electro-silicated metallic plates, in view of the electro-silreadings when the probes were gently laid on the surfac u icated surface providing an electrically resistant and corrosion conductive readings were Observe wh n h probes w r resistant surface can find general applications in many induspressed into the surface as if they were breaking through a tries. Electro-silication of metallic surfaces may be used as a dielectric layer. This layer resistance read off the high recorrosion inhibition step instead of or before applying paint, sistance side of the scale even with the meter switched to a full lacquer or the like to a metallic surface. scale 100,000 ohm position. The resistance noted is ap- When the electro-silicated plate has been treated according parently analogous to the type of insulating features generally to any one of the processes of the present invention for purassociated with electrical oxidation (anodization f a upose of providing a support member for a lithographic plate or minum) and suggestive of a unique process for producing the like, the silicated surface 50, as shown at FIG. 5, is coated dielectrics for use in various electrical applications which with a diazo resin 52, or the like, the silicated layer 50 providwould compare favorably with commercial methods. Examing, as previously mentioned, a good anchoring surface for the pics of this potential use include capacitors of the types used photosensitive diazo material or the like and a generally in the semiconductor industry wherein this process offers adhydrophilic surface, substantially resistant to the attack of vantages in uniformity and performance which can be very imfountain solutions when the plate, after processing, is placed portant. in a conventional printing process. The electro-silicated sur- Some of the sample plates provided with a surface layer by face described herein may be applied to a metallic element way of the electrolytic process of Example V were selected at which has sufficient rigidity to act as its own support, or an random and coated with a diazo r in layer n Subjected to electro-silicated surface may be applied to a thin metallic elethe breakdown" test referred to in Example I. All the samment, such as aluminum foil, which is in turn bonded onto a ples tested were rated as excellent.

    support structure.

    Having thus described the present invention, by way of several examples of the methods for practicing the invention, what is sought to be protected by United States Letters Patent is as follows:

    1. A method for electrolytically forming a layer on a surface of a metallic element comprising disposing said metallic element in contact with an electrolyte, disposing a conductive electrode in contact with said electrolyte, electrically connecting said metallic element and said conductive electrode to a supply of electricity such that said metallic element is anodic and said conductive electrode is cathodic for electrolytically forming on said metallic element said layer which comprises anions of said electrolyte reacted at the surface of the metallic element, said method being characterized by said electrolyte being a basic aqueous solution of sodium silicate containing from about 0.5 percent to about 37 percent per weight of sodiurn silicate, said electrolyte being maintained at a temperature between 20 C and the boiling temperature of said electrolyte,

    said metallic element and said conductive electrode being disposed in said electrolyte in close proximity to each other, said metallic element being in contact with said electrolyte for a duration of about 2 to 360 seconds and said supply of electricity being a source of direct current at a voltage comprised between about 6 and 60 volts.

    2. The method of claim 1 wherein the metallic element consists principally of aluminum.

    3. The method of claim 1 wherein the aqueous solution of sodium silicate contains from about 0.5 percent to about 15 percent by weight of sodium silicate.

    4. The method of claim 1 wherein said voltage is comprised between about 6 and 36 volts.

    5. The method of claim 1 wherein the metallic element has at least a surface which is grained, said surface being disposed opposite the electrode in the electrolyte.

    CERTIFICATE OF- CORRECTION Patent NO. 3,658,662 .6 Dated April 25, 1972 Inventor(s) EDWARD A. CASSON, JR. ET AL It is certified that error appears in the above-identified patent and that said Letters Patent are hereby corrected as shown below:

    IN THE LIST OF REFERENCES CITED Change "Nostovych et al" to Mostdvych et a1 IN THE SPECIFICATION v Column 2, line 61, change "silicaton" to silication Column 4, .line 40, change "solicate" to 4 "silicate" Column 10, between lines 1-19 (TABLE IV) Test No. 18,

    Voltage AC (volts) change "200" to 100 line 20, delete "32'" line 29, after "and" change "30 '14 32 14" Signed and sealed this 1st day of August 1972.

    (SEAL) Attest:

    EDWARD M.FLETCHER,JR. ROBERT GOTTSCHALK Attesting Officer Commissioner of Patents F' ORM PO-1050 (10-69) USCOMM-DC 60376-P69 k u.sv GOVERNMENT PRINTING OFFICE 1969 0-366-334

    Patent Citations
    Cited PatentFiling datePublication dateApplicantTitle
    US979906 *Mar 31, 1909Dec 27, 1910Emile BerlinerElectrolytic cell.
    US1065704 *Dec 21, 1911Jun 24, 1913Ralph D MershonFilm-coated metallic article and method of making the same.
    US1289215 *Dec 29, 1914Dec 31, 1918Westinghouse Electric & Mfg CoProcess of printing on metal.
    US1823179 *Sep 9, 1929Sep 15, 1931Aluminum Co Of AmericaAluminum type matrix
    US1865213 *Dec 10, 1924Jun 28, 1932Ruben Rectifier CorpElectric current rectifier
    US1933301 *Jan 11, 1932Oct 31, 1933Gen ElectricProcess for the treatment of metals
    US2951025 *Jun 13, 1957Aug 30, 1960Reynolds Metals CoApparatus for anodizing aluminum
    US3079308 *Oct 7, 1958Feb 26, 1963Reynolds Metals CoProcess of anodizing
    US3296106 *Jan 12, 1966Jan 3, 1967Nat Steel CorpMethod of cathodically treating metallic surfaces
    US3440050 *Feb 5, 1965Apr 22, 1969Polychrome CorpLithographic plate
    US3511661 *Jul 1, 1966May 12, 1970Eastman Kodak CoLithographic printing plate
    DE663910C *Nov 10, 1936Aug 16, 1938Langbein Pfanhauser Werke AktHerstellung von Schutzueberzuegen auf mit Aluminium oder Aluminiumlegierungen plattierten Gegenstaenden
    GB342256A * Title not available
    GB459263A * Title not available
    Referenced by
    Citing PatentFiling datePublication dateApplicantTitle
    US3902976 *Oct 1, 1974Sep 2, 1975S O Litho CorpCorrosion and abrasion resistant aluminum and aluminum alloy plates particularly useful as support members for photolithographic plates and the like
    US3960676 *Sep 24, 1973Jun 1, 1976Kansai Paint Company, Ltd.Coating process for aluminum and aluminum alloy
    US4833065 *Oct 1, 1986May 23, 1989Fuji Photo Film Co., Ltd.Process for producing support for presensitized lithographic printing plate using alkaline electrolyte
    US5205874 *May 22, 1991Apr 27, 1993Crews Iv Nathan CProcess of protecting metallic and wood surfaces using silicate compounds
    US5380612 *May 12, 1993Jan 10, 1995Konica CorporationProcess for manufacturing planographic printing plate
    US5437952 *Feb 26, 1993Aug 1, 1995Konica CorporationLithographic photosensitive printing plate comprising a photoconductor and a naphtho-quinone diazide sulfonic acid ester of a phenol resin
    US5672390 *Mar 20, 1995Sep 30, 1997Dancor, Inc.Process for protecting a surface using silicate compounds
    US6014929 *Mar 9, 1998Jan 18, 2000Teng; Gary GanghuiLithographic printing plates having a thin releasable interlayer overlying a rough substrate
    US6149794 *Jan 30, 1998Nov 21, 2000Elisha Technologies Co LlcMethod for cathodically treating an electrically conductive zinc surface
    US6153080 *Aug 6, 1999Nov 28, 2000Elisha Technologies Co LlcElectrolytic process for forming a mineral
    US6258243Jul 24, 1998Jul 10, 2001Elisha Technologies Co LlcCathodic process for treating an electrically conductive surface
    US6358616Jul 21, 2000Mar 19, 2002Dancor, Inc.Protective coating for metals
    US6572756Mar 23, 2001Jun 3, 2003Elisha Holding LlcAqueous electrolytic medium
    US6592738Feb 1, 2001Jul 15, 2003Elisha Holding LlcElectrolytic process for treating a conductive surface and products formed thereby
    US6599643Mar 22, 2001Jul 29, 2003Elisha Holding LlcEnergy enhanced process for treating a conductive surface and products formed thereby
    US6627380May 21, 2001Sep 30, 2003Dainippon Ink And Chemicals, Inc.Photosensitive composition, original plate using the same for lithographic printing, and method for producing images on original plate
    US6808857May 20, 2002Oct 26, 2004Kodak Polychrome Graphics LlcNegative-working photosensitive composition and negative-working photosensitive lithographic printing plate
    US6866896Feb 5, 2003Mar 15, 2005Elisha Holding LlcMethod for treating metallic surfaces and products formed thereby
    US6994779Mar 3, 2003Feb 7, 2006Elisha Holding LlcEnergy enhanced process for treating a conductive surface and products formed thereby
    US7627968 *Jun 7, 2006Dec 8, 2009Yu-Chun LinSleeve with indication assembly
    US9115442Mar 15, 2013Aug 25, 2015Henkel Ag & Co. KgaaElectrodeposition of an autodepositable polymer
    US20030165627 *Feb 5, 2003Sep 4, 2003Heimann Robert L.Method for treating metallic surfaces and products formed thereby
    US20030178317 *Mar 3, 2003Sep 25, 2003Heimann Robert I.Energy enhanced process for treating a conductive surface and products formed thereby
    US20040188262 *Apr 15, 2004Sep 30, 2004Heimann Robert L.Method for treating metallic surfaces and products formed thereby
    US20060280572 *Jun 7, 2006Dec 14, 2006Yu-Chun LinSleeve with indication assembly
    US20130192995 *Mar 13, 2013Aug 1, 2013Henkel Ag & Co. KgaaPretreatment of tinplate prior to the coating thereof with lacquer
    EP0089509A1 *Feb 24, 1983Sep 28, 1983American Hoechst CorporationMethod for the electrophoretic deposition of radiation-sensitive coatings on metallic bases, and use of the coated material as an offset printing plate
    EP0089510A1 *Feb 24, 1983Sep 28, 1983American Hoechst CorporationAluminium material with a hydrophilic surface layer, method for its production and its use as a base for offset printing plates
    EP0410606A2Jul 11, 1990Jan 30, 1991Fuji Photo Film Co., Ltd.Siloxane polymers and positive working light-sensitive compositions comprising the same
    EP0695971A1Aug 2, 1995Feb 7, 1996Fuji Photo Film Co., Ltd.Photosensitive lithographic printing plate
    EP0726498A1Jan 16, 1996Aug 14, 1996Fuji Photo Film Co., Ltd.Photopolymerizable composition
    EP1314552A2Apr 6, 1999May 28, 2003Fuji Photo Film Co., Ltd.Photosensitive resin composition
    EP1369502A1 *Jan 30, 1998Dec 10, 2003Elisha Holding LLCElectrodeposition medium
    EP1615073A1Jul 5, 2005Jan 11, 2006Fuji Photo Film Co., Ltd.Photosensitive composition and image recording method using the same
    EP1629975A1Aug 17, 2005Mar 1, 2006Fuji Photo Film Co., Ltd.Planographic printing plate precursor and method of making planographic printing plate
    EP1662318A1Mar 9, 2000May 31, 2006Fuji Photo Film Co., Ltd.1,3-dihydro-1-oxo-2H-indene derivative
    EP1701213A2Mar 6, 2006Sep 13, 2006Fuji Photo Film Co., Ltd.Photosensitive composition
    EP1703323A1Mar 20, 2006Sep 20, 2006Fuji Photo Film Co., Ltd.Photosensitive composition, image-recording material and image-recording method
    EP1705002A1Dec 29, 2005Sep 27, 2006Fuji Photo Film Co., Ltd.Planographic printing plate precursor and plate-making method thereof
    EP1707353A2Mar 29, 2006Oct 4, 2006Fuji Photo Film Co., Ltd.Planographic printing plate precursor having an image-recording layer containing and infrared ray absorbent, a polymerization initiator, a polymerizable compound, and a thiol compound
    EP1728805A1May 31, 2006Dec 6, 2006Fuji Photo Film Co., Ltd.Aspherical-polymer fine particles and production method thereof, and method for producing lithographic printing plate, ink composition and electrophoretic particle composition
    EP1762896A2Aug 4, 2006Mar 14, 2007FUJIFILM CorporationMethod of producing photosensitive planographic printing plate
    EP1785510A1Jan 30, 1998May 16, 2007Elisha Holding LLCElectrodeposition medium
    EP1930770A2Dec 5, 2007Jun 11, 2008FUJIFILM CorporationImaging recording material and novel compound
    EP1975707A1Mar 26, 2008Oct 1, 2008Fujifilm CorporationCurable composition and planographic printing plate precursor
    EP2037323A2Jul 17, 2008Mar 18, 2009FUJIFILM CorporationPhotosensitive compositions, curable compositions, novel compounds, photopolymerizable compositions, color filters, and planographic printing plate precursors
    EP2039509A1Sep 18, 2008Mar 25, 2009FUJIFILM CorporationCurable composition, image forming material, and planographic printing plate precursor
    EP2042306A2Sep 18, 2008Apr 1, 2009FUJIFILM CorporationPlanographic printing plate precursor and method of producing a copolymer used therein
    EP2042532A2Sep 23, 2008Apr 1, 2009FUJIFILM CorporationPolymerizable composition and planographic printing plate precursor using the same, alkalisoluble polyrethane resin, an process for producing diol compound
    EP2042928A2Sep 24, 2008Apr 1, 2009FUJIFILM CorporationNegative-working photosensitive material and negative-working planographic printing plate precursor
    EP2105443A1Mar 11, 2009Sep 30, 2009FUJIFILM CorporationOxime derivatives and their use in photopolymerizable compositions for colour filters
    EP2109000A1Jul 19, 2005Oct 14, 2009FUJIFILM CorporationPolymer having polymerizable group, polymerizable composition, planographic printing plate precursor, and planographic printing method using the same
    EP2141206A1Jun 29, 2009Jan 6, 2010FUJIFILM CorporationNovel compound, polymerizable composition, color filter and production method thereof, solid-state imaging device, and planographic printing plate precursor
    EP2207062A2Jul 17, 2008Jul 14, 2010FUJIFILM CorporationPhotosensitive compositions, curable compositions, novel compounds, photopolymerizable compositions, color filters, and planographic printing plate precursors
    EP2381312A2Aug 24, 2001Oct 26, 2011Fujifilm CorporationAlkaline liquid developer for lithographic printing plate and method for preparing lithographic printing plate
    EP3182204A1Jul 19, 2005Jun 21, 2017FUJIFILM CorporationPlanographic printing plate precursor using a polymerizable composition
    WO1992021449A1 *May 22, 1992Dec 10, 1992Dancor, Inc.Process for protecting metallic and wood surfaces using silicate compounds
    WO1998033960A1 *Jan 30, 1998Aug 6, 1998Elisha Technologies Co. L.L.C.An electrolytic process for forming a mineral containing coating
    WO2014151311A1 *Mar 13, 2014Sep 25, 2014Henkel Ag & Co. KgaaElectrodeposition of an autodepositable polymer
    Classifications
    U.S. Classification205/323, 205/208, 430/168, 430/278.1, 430/158, 430/159
    International ClassificationC25D11/08, B41N1/00, B41N1/08, C25D9/04, C25D11/04, C25D11/06, C25D9/00, B41N3/03
    Cooperative ClassificationB41N1/08, B41N3/034, C25D9/04, C25D11/08
    European ClassificationB41N3/03E, B41N1/08, C25D11/08, C25D9/04