Account Options

  1. Sign in
    Screen reader users: click this link for accessible mode. Accessible mode has the same essential features but works better with your reader.

    Patents

    1. Advanced Patent Search
    Publication numberUS3775036 A
    Publication typeGrant
    Publication dateNov 27, 1973
    Filing dateFeb 14, 1972
    Priority dateJan 13, 1972
    Also published asCA996327A, CA996327A1, DE2206997A1
    Publication numberUS 3775036 A, US 3775036A, US-A-3775036, US3775036 A, US3775036A
    InventorsG Winning
    Original AssigneeG Winning
    Export CitationBiBTeX, EndNote, RefMan
    External Links: USPTO, USPTO Assignment, Espacenet
    Rotational casting machine
    US 3775036 A
    Abstract
    The disclosure is of a rotational casting machine capable of functioning continuously, comprising a rotary assemblage with four or more arms supporting moulds or mould-rotating devices, a charging station, a heating station, and at least two cooling stations.
    Images(2)
    Previous page
    Next page
    Claims  available in
    Description  (OCR text may contain errors)

    llnited States Patent [1 1 Winning Nov. 27, 1973 [54] ROTATIONAL CASTING MACHINE 2,957,202 10/1960 Rekettye 425/430 x 3, 89,1 9 197 W b k l. [76] inventor: Guy Winning, Hegenhe1m, France 6 91 2 est we at 8 425/429 x 221 Filed: Feb. 14, 1972 Primary Examiner-H. A. Kilby, Jr. [21] Appl 225916 Attorney-4min S. Thompson et al.

    [30] Foreign Application Priority Data Jan. 13, 1972 France 7201648 [57] ABSTRACT [52] US. Cl. 425/174.4, 425/430 [51] Int. Cl B29h 3/00 The disclosure is of a rotational casting machine capa- [58] Field of Search 425/ 1744, 174, 429, ble of functioning continuously, comprising a rotary 425/430 assemblage with four or more arms supporting moulds or mould-rotating devices, a charging station, a heat- [5 6] References Cited ing station, and at least two cooling stations.

    UNITED STATES PATENTS 2,681,472 6/1954 Rempel 425/430 3 Claims, 2 Drawing Figures PATENTEDHBY27 1915 3; 775,036

    SHEET 1 BF 2 ROTATIONAL CASTING MACHINE INTRODUCTION AND BACKGROUND OF THE INVENTION This invention relates to rotational casting machines for casting synthetic plastics materials or analogous materials, and refers more particularly to machines with rotary assemblages capable of functioning continuously.

    In the known machines of this kind generally there are provided three production stations disposed upon a circle about the centre of which there turns a rotary assemblage equipped with three arms allowing the charges to pass without interruption from one station to another. In order to improve the smoothness of production there have likewise been used such machines with four stations and comprising two heating stages.

    Nevertheless all these machines present various disadvantages which are not negligible. In practice it is more and more necessary and useful, in order to meet the requirements of manufacture with new plastics materials or compounds to effect, for the same moulding, several chargings of materials with the necessity of indexing the rotary assemblage, for each charging, to the station provided for this purpose. It has been attempted to solve this problem by providing a rearwards return of the rotary assemblage, a solution which nevertheless implies, in order to avoid a reheating in the furnace of the articles remaining at the cooling station, that the said heating stations with furnaces remain open, thus involving excessive losses of heat.

    On the other hand, in the known machines the changes of moulds and of arms are lengthy and cannot be integrated into the normal cycle of operation and therefore necessitate interruptions of manufacture which are often prolonged and always unproductive.

    In order to alleviate these disadvantages the present invention has for its object a rotational casting machine thanks to which it is possible on the one hand to effect several chargings without returning the rotary assemblage towards the rear, without heat losses, and on the other hand to double the period of cooling, all whilst maintaining the same rhythm of production and, f1- nally, to frequently change the moulds and the arms without interrupting the manufacture.

    BRIEF SUMMARY OF THE INVENTION For this purpose the invention provides a rotary assemblage with four or more arms supporting moulds or mould-rotating devices, a charging station, a hearing station, and at least two cooling stations.

    FURTHER DESCRIPTION OF THE INVENTION In an advantageous construction the heating station includes a movable heater, for example a furnace, movable upon guide rails to a withdrawn position in which it is completely clear of the mould-supporting arms and moulds. Preferably each cooling station is upwardly removable and includes a hood forming a cooling chamber which is vertically displaceable, for example by means of pulleys with cables or chains.

    The following description explains, by way of nonlimitative example, a form of construction of the machine in accordance with the present invention, with reference to the accompanying drawings.

    BRIEF DESCRIPTION OF THE VIEWS IN THE DRAWINGS In the accompanying drawings:

    FIG. 1 is a diagrammatic plan view of the machine according to the invention provided with difierent moulds, and

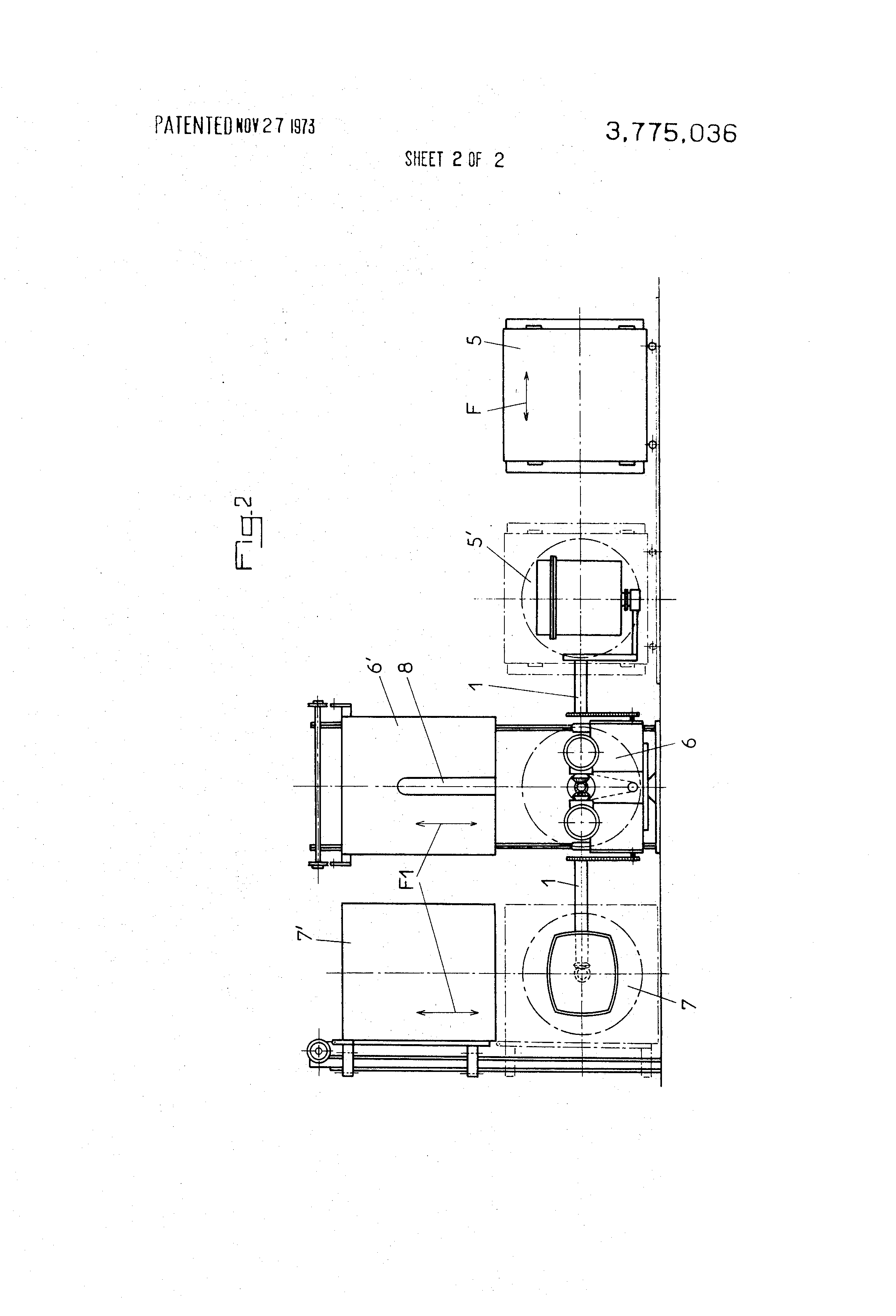
    FIG. 2 is a lateral elevation thereof.

    DETAILED DESCRIPTION OF THE PREFERRED EMBODIMENT Thus as represented in the accompanying drawings the machine is constituted essentially by a rotary assemblage with four or more arms I, rotatable about the central axis 2, and by four production stations disposed upon a circular path 3 in such a manner that the arms provided with different moulds or mould-rotating devices travel to these different stations in succession.

    According to a first characteristic of the machine forming the subject of the invention the heating station is formed by a furnace 5 which is movable, for example on rails according to the double arrow F, in such a path that in the withdrawn position (shown in continuous lines in the drawings) it is completely clear of the corresponding mould support thereby permitting the closing and opening of its doors.

    A further characteristic of the invention consists in providing, outside the charging station 4 and the heating station 5, at least two cooling stations 6, 7 thus permitting the doubling of the cooling time, necessary in some instances. In case of non-use of the second cooling operation this station may serve possibly for the changing of moulds or of arms without interruption of production. Special arm-carrying carriages, which are not shown, permit the effecting of this operation in a very short time.

    The cooling stations are characterised in that they are vertically removable, that is to say that their cooling hoods 6', 7', provided each with a slot 8 for engagement over the arms of the rotary assemblage, can be displaced vertically in the directions of the double arrows F l by known means such as, for example, pulleys with cables or chains, or jacks, or the like.

    Thanks to this possibility of vertical removal of the hoods 6', 7 it is possible to free completely the floor at the cooling stations which facilitates, in a beneficial manner, the changing of the moulds or the arms as well as the supply and removal of these elements with the aid of mechanical means such as trucks.

    It will well be understood that the different rotational motions of the arms, which may be straight or bent, as well as the movements of the rotary assemblage, are effected and may be controlled by known means.

    The machine which forms the subject of the invention may be utilised for the manufacture of articles of plastics materials or analogous materials, particularly containers, tanks, packaging components, toys, septic tanks, elements for decoration, boxes, ventilation ducts, and analogous articles.

    What is claimed is:

    1. A rotational casting machine capable of functioning continuously, comprising a rotary assemblage with at least four mold-supporting means thereon, a charging station, a heating station, at least two cooling stations, means for rotating said assemblage about an upright axis between said stations so that said moldsupporting means dwell in said stations, said heating station comprising a heater, means mounting said heater for movement radially of said axis between a radially inner position in which said heater encloses a said mold-supporting means and a radially outer position in which molds carried by said mold-supporting means can pass said heater, said at least two cooling stations comprising hoods open at their bottom and each comprising a cooling chamber, and means to move said hoods vertically between an upper position in which said hoods clear the molds carried by said moldsupporting means, and a lower position in which said hoods surround the molds carried by said moldsupporting means.

    2. A machine as claimed in claim 1, the said hoods extending below the molds carried by said moldsupporting means in said lower position and having a slot on their radially inner side to receive said moldsupporting means in said lower position.

    3. A machine as claimed in claim 1, in which said heater comprises an enclosure having doors on its radially inner side that swing about vertical axes to open and close the enclosure.

    Patent Citations
    Cited PatentFiling datePublication dateApplicantTitle
    US2681472 *Jan 27, 1951Jun 22, 1954Vinl Cast IncMolding machine for producing plastic articles
    US2957202 *Sep 5, 1957Oct 25, 1960Sun Rubber CoRotational casting apparatus
    US3689191 *Nov 19, 1970Sep 5, 1972Plastic Rotational Moulding LtMoulding apparatus
    Referenced by
    Citing PatentFiling datePublication dateApplicantTitle
    US4008843 *Apr 29, 1974Feb 22, 1977Asahi Glass Co., Ltd.Apparatus for sealing tubes
    US4575330 *Aug 8, 1984Mar 11, 1986Uvp, Inc.Apparatus for production of three-dimensional objects by stereolithography
    US4738815 *Jan 27, 1986Apr 19, 1988Peter FriesenRotational molding machine and method of molding
    US4929402 *Apr 19, 1989May 29, 19903D Systems, Inc.Method for production of three-dimensional objects by stereolithography
    US5174943 *Aug 23, 1991Dec 29, 19923D Systems, Inc.Method for production of three-dimensional objects by stereolithography
    US5236637 *Feb 21, 1992Aug 17, 19933D Systems, Inc.Method of and apparatus for production of three dimensional objects by stereolithography
    US5344298 *Oct 20, 1992Sep 6, 19943D Systems, Inc.Apparatus for making three-dimensional objects by stereolithography
    US5554336 *Jun 5, 1995Sep 10, 19963D Systems, Inc.Method and apparatus for production of three-dimensional objects by stereolithography
    US5556590 *Jun 7, 1995Sep 17, 19963D Systems, Inc.Apparatus for production of three-dimensional objects by stereolithography
    US5569431 *Jun 7, 1995Oct 29, 19963D Systems, Inc.Method and apparatus for production of three-dimensional objects by stereolithography
    US5571471 *Jun 5, 1995Nov 5, 19963D Systems, Inc.Method of production of three-dimensional objects by stereolithography
    US5573722 *Jun 7, 1995Nov 12, 19963D Systems, Inc.Method and apparatus for production of three-dimensional objects by stereolithography
    US5630981 *Jun 6, 1995May 20, 19973D Systems, Inc.Method for production of three-dimensional objects by stereolithography
    US5762856 *Jun 7, 1995Jun 9, 1998Hull; Charles W.Method for production of three-dimensional objects by stereolithography
    US5779967 *Jun 6, 1995Jul 14, 19983D Systems, Inc.Method and apparatus for production of three-dimensional objects by stereolithography
    US5785918 *Jun 7, 1995Jul 28, 1998Seagate Technology, Inc.Method and apparatus for production of three-dimensional objects by stereolithography
    US5814265 *Jun 6, 1995Sep 29, 19983D Systems, Inc.Method and apparatus for production of three-dimensional objects by stereolithography
    US5840348 *Sep 15, 1995Nov 24, 1998Ultrapure Systems, Inc.Automated carbon block molding machine and method
    US6027324 *Jul 13, 1998Feb 22, 20003D Systems, Inc.Apparatus for production of three dimensional objects by stereolithography
    Classifications
    U.S. Classification425/174.4, 425/430
    International ClassificationB29C41/46, B29C41/06, B29C33/36, B29C41/04
    Cooperative ClassificationB29C41/46, B29C41/04, B29C33/36, B29C41/06
    European ClassificationB29C41/04, B29C41/46, B29C33/36