| Publication number | US3826301 A |
| Publication type | Grant |
| Publication date | Jul 30, 1974 |
| Filing date | Oct 16, 1972 |
| Priority date | Oct 26, 1971 |
| Also published as | CA982781A, CA982781A1, DE2252139A1, DE2252139B2, DE2252139C3, USRE31767 |
| Publication number | US 3826301 A, US 3826301A, US-A-3826301, US3826301 A, US3826301A |
| Inventors | R Brooks |
| Original Assignee | R Brooks |
| Export Citation | BiBTeX, EndNote, RefMan |
| Patent Citations (5), Referenced by (121), Classifications (37) | |
| External Links: USPTO, USPTO Assignment, Espacenet | |
United States Patent n91 Brooks METHOD AND APPARATUS FOR MANUFACTURING PRECISION ARTICLES FROM MOLTEN ARTICLES [76] Inventor: Reginald Gwyn Brooks, Mirfield I,
Sketty Park Rd., Sketty Green, Swansea, Glamorgan, Wales [22] Filed: Oct. 16, 1972 [2]] Appl. No.: 297,866
' [30] Foreign Application Priority Data Oct. 26, 1971 Great Britain... ..;.49646/7 l June 6,1972 Great Britain ,....2630 7 ll2 [52] US. Cl 164/46, 164/76, 29/527.5, 29/5276 1] Int. Cl B22d 11/10 [58] Field of Search 29/5272, 527.4, 527.5, 29/5276; 164/46, 76
[56] References Cited UNITED STATES PATENTS 3,397,732 8/1968 Howell 164/46 3,670,400 6/1972 Singer 29/5275 3,689,987 9/1972 Teaguem; 29/5272 m v 3,826,301 [451 July 30,1974
3,696,502 10/1972 Darling 164/46 X 3,742,585 7/1973 Wentzell 164/46 X Primary Examiner-Charles W.' Lanham Assistant Examiner-D. C. Reiley, Ill Attorney, Agent, or Firm-Norris & Bateman [57] ABSTRACT A method and apparatus for manufacturing shaped precision articles from molten metals (including alloys), which articles may either be effectively nonporous or have a controlled degree of porosity and may be finished (i.e. no further processing is required) or may require a small amount of finish machining (e.g. trimming of flash and/or heat treatment), wherein the method comprises directing a stream of molten metal ,or molten metal alloy at a collecting surface to form a deposit, and working the deposit by means of a die to form a precision metal or metal alloy article.
35 Claims, 5 Drawing Figures PAIENTEU JUL3 01am SHEET 2 OF 4 PATENTEUJULEOW 3,826,301
SHEET 3 BF 4 FIG. 1..
PATEIJTED 3,826,301 SHEET w 4 METHOD AND APPARATUS FOR MANUFACTURING PRECISION ARTICLES FROM MOLTEN ARTICLES This invention relates to the manufacture from molten metals (including alloys), of shaped precision articles which may either be effectively non-porous or have a controlled degree of porosity. The articles produced accordingto this invention may be finished (i.e., no further processing is required) or they may require a small amount of finish machining (e.g., the trimming of flash and/or heat treatment).
Shaped metal articles are usually produced at present by one of three main methods. One known method involves the casting of molten metal into a desired shape; this can be achieved by several different techniques, e.g., sand-casting, die-casting, centrifugal casting, shellmoulting or investment casting. Articles produced by these methods, however, may possess poor mechanical properties mainly as a result of relatively large grain sizes, structural weaknesses and defects arising from the casting process, e.g., shrinkage, segregation (particularly in highly-alloyed metals) and splashings onto the side of the mould.
A second known method involves the casting of molten metal as an ingot, followed by either a hot-working process (e.g., hot-rolling, forging, pressing or extruding) and/or a cold-working process (e.g., cold-rolling, pressing, drawing, coining or spinning). ln either case semi-finished products (i.e., plates, billets and bars) often have to be manufactured before subsequent processing to produce finished articles. Such processing may involve re-heating of the semi-finished product at various stages, each time followed by a forming operation which can involve high loads, resulting in considerable wearing of the forming dies. In addition, machining is often needed to obtain the required dimensions of the finished product (e.g., a gear wheel).
By this second method articles of complex shape can be manufactured which can possess mechanical properties generally superior to those articles produced by the first known method already described. Defects in the original ingot, however, can result in a final product of poor quality.
ln a third known method, metal powders (produced, for example, by gas or water atomisation of molten metal, mechanical pulverisation or chemical reduction of ore) often have to be mechanically handled, graded and heat treated, prior to forming operations. In many instances a brittle compact has to be made, usually by cold-pressing powdered metal in a die before sintering and other forming operations can be carried out to produce an article of finished shape. By powder metallurgical techniques it is possible, to produce finished articles of complex shape which do not require any machining.
Advantages of this third method of manufacturing articles over the other two known methods described previously include the elimination of problems arising from liquid/solid shrinkage and segregation and the capability of producing articles from a mixture of metals which are not mutually soluble in the liquid state. Nonmetallic substances, which would be insoluble in the liquid alloy, can also be added to powder-metallurgical products such that they will be evenly distributed,
throughout the structure. In addition, products with a controlled degree of porosity can be produced by this third method. 1
One of the main disadvantages in the manufacture of articles by powder metallurgical methods is'the high cost of powdered metal which can be used in such methods. In addition, the subsequent forming and sintering operations necessary to produce articles are expensive.
It is an aim of the present invention to provide a simplified and more economic method for manufacturing shaped precision articles which possesses most of the advantages of the third mentioned method described previously and/or by which articles can be obtained having mechanical properties similar to those produced by the known methods described above.
With these aims in view this invention provides a method for manufacturing shaped precision articles from molten metal or molten metal alloy, comprising directing an atomised stream of molten metal or molten metal alloy at a collecting surface to form a deposit, and working the deposit by means of a die to form a precision metal or metal alloy article. 7
The invention also provides an apparatus for manufacturing shaped precision articles from molten metal or molten metal alloy, comprising a chamber having means for atomising a stream of molten metal or metal alloy and for directing the atomised stream onto a collecting surface soas to form a deposit on said surface, a die movableby operating means for effecting working of the deposit to form a precision metal or metal alloy article, and means for removing the precision metal or metal alloy article from the chamber.
The collecting surface can be in the form of a deposition second die which can be of any suitable shape or contour; for instance, it can contain an impressionof a gear wheel, or a connecting rod for an automobile. The collecting surface may also simply be a plain surface.
The stream of molten metal or metal alloy may be atomised into a spray of hot, metal particles by the impingement of high velocity gas jets. By these means a spray of fine, molten metal particles can be produced from which heat is extracted in flight by the relatively cold gas jets so that the metal particles can be either solid, partly-solid/partly-liquid or liquid at the moment of impacting the deposition die. On impacting the die surface the particles deform, coalesce and build up, to form a coherent, hot mass of deposited metal which has a finely divided grain structure.
After deposition heat can beadded, if necessary, to the sprayed deposit of metal particles before the forming operation is carried out, but the preferred method is to shape and simultaneously work (i.e., forge or press) the metal deposit without the addition of heat after the deposition operation. This forming operation is normally carried out as soon as the required mass of metal has been deposited onto the die so that the deposit is hotfworked but, when necessary, the sprayed die block, which is also suitably contoured, then shapes the top portion of the sprayed deposit when the dies are loaded against each other. Any surplus metal can be forced out of the die cavity into suitably designed flash gutters. In this way shaped, hot-worked precision metal articles can be manufactured. Alternatively the hot, sprayed deposit in the deposition die may be removed from the die, for instance by an ejection mechanism, and transferred rapidly into another suitably shaped die block which may be the lower die of a die set. The subsequent forming of the hot metal can then be rapidly completed by loading the shaped top die against the bottom die and a hot-worked, shaped precision metal article is produced.
For the production of extruded articles, metal particles can be sprayed into a container, into the base of which an appropriately shaped orifice die is located. When the required mass of metal has been sprayed into the container the hot deposit of metal particles can then be forced through the die by the application of pressure (by means of, for instance, an hydraulically driven ram) to produce an extruded product of the same cross-section as that of the orifice die. Alternatively, extruded articles can be produced by indirect extrusion, the shaped orifice die being located in the ram instead of in the base of the container.
By the method of the invention shaped precision metal articles can be rapidly produced from molten metal and metal alloys and, therefore, the invention is particularly well suited to mass-production methods.
After spraying the deposit of metal particles is not solid, the degree of porosity being a function of several factors, notably the temperature, mass and velocity of the metal particles on deposition. Values of these factors, in turn, can depend on one or more of the process parameters; namely, the geometry of the atomising system, the temperature of the molten metal prior to atomisation; the distance which the particles have to travel before being deposited (hereinafter termed the spray distance);.the mass ratio of atomising gas to metal being atomised; the relative velocity between the of dissimilar metals. If desired, metallic and/or nonmetallic powders, fibres, filaments or whiskerscan be incorporated in the sprayed deposit during the deposition operation.
In a preferred method of the invention, the molten metal (or alloy) stream is atomised by the impingement on it of one or more gas jets and generally the greater the velocity and flow rate of the gas jets the finer are the particles produced; Alternatively, any means of breaking up the molten metal stream can be used in conjunction with gas jets'which serve to comminute further the molten metal particles and to extract heat from them; for instance, a rotating disc atomiser in congas jets and the molten metal stream; the temperature and pressure of the atomising gas; and the temperature of the deposition die. In addition, the degree of porosity of the sprayed deposit can be reduced simply by densification or compaction; this can be achieved, for instance, by applying pressure to the deposit by means of an hydraulically operated ram or top die. Therefore, metal articles may be fabricated in a wide range of porosity by the method of the invention. For instance, articles can be produced with a porosity of approximately percent or they can be produced with a porosity effectively equal to zero, or they can have a porosityof any value between these two values. The actual value of the porosity depends primarily on the temperature, size andvelocity of the particles on deposition and on the. nature and loading of the subsequent forming operation (if this is required).
Articles can be produced in accordance with the invention in most ferrous or non-ferrous metals or alloys which can be melted and atomised; e.g., carbon steels, alloy steels, aluminium, aluminium alloys, brasses, and phosphor bronzes. in addition, articles can be fabricated from a mixture of metals which are not mutually soluble in the liquid state as is the case with some of the existing powder metallurgical methods.
ln utilising the method of the invention, the mixing of the different metals can be achieved by. spray depositing dissimilar metals either simultaneously, so that mixing of the particles occurs whilst they are in flight, or one after the other so that a sprayed deposit is produced with a structure which consists basically of layers junction. with peripheral gas jets can be used. Any suitable gas may be used to atomisethe stream of molten metal, but it isoften desirable to use nitrogen or argon or some other inert or reducing gas, so that oxidation of the metal particles is minimised. if oxidation of the particles is not undesirable, compressed air can be used as an atomising medium. To preserve a controlled atmosphere during the deposition process (if required) and for safety reasons the deposition die is disposed within a spray chamber which can be fitted with suit able filters which allow the expanding gas to exhaust but which prevents loss of metallic powders. Any particles which do not adhere to the deposition die (i.e., over-sprayed particles) can be collected from the bottom of this chamber and subsequently re-melted for further spraying and deposition processes. Thus, any oversprayed particles of metal can'be 're-used in this process (or could be used as a powdered metal product) and as no expensive operations have been performed on this metal (it has only been atomised) the financial loss incurred by overspraying is minimal. The chamber can be constructed simply of welded mild steel panels which may have water-cooled jackets fitted where necessary to remove surplus heat and somaintain the surfaces of the spray chamber at temperatures low enough for safe working during operation. If desired, an inert or reducing atmosphere can be maintained up to, for example, the forging press and also during any subsequent forging (or other forming) operation.
The collecting surface onto which the hot metal particles are deposited can be of a suitable shape and if the surface also acts as the lower die of a die set in, for instance, a forging-operation it must be capable of withstanding the stresses involved. In addition it must be resistant to wear that may occur during the deposition of hot metal particles and the subsequent forming operation. Typically, dies are made from nickel-chromiummolybdenum steel for the production of forged steel articles or chromium-molybdenum-vanadium steel for the forging of non-ferrous alloys or for steel forgings 'where lower temperatures are encountered. Alternatively, nickel based alloys or metallic carbides can be used to make the dies.
One or more sprays of hot, metal particles may be employed in order to obtain the required rate of deposition and/or the required area of deposition. in those cases which involve several sprays, they may be em ployed to act either simultaneously, or consecutively to produce the required shape and mass of the sprayed deposit. These objectives may also be achieved by relative movements between the deposition die and the spray (or sprays) of hot, metal particles. These movements can occur in any suitable plane (e.g., laterally or axially) and can be of any suitable form (e.g., rotary or oscillatory).
To prevent deposition occurring on selected areas of the deposition die a suitably shaped masking plate may be used; sprayed metal particles being deposited onto this in preference to the deposition die block. When required the masking plate or plates can be removed before themetal deposited into the die cavity is forged or pressed. For example, such masking plates can be used at the edges of the deposition die so that metal is deposited only in the shaped section of the-die, i.e., metal which normally would overspray the shaped die is deposited onto the masking plates. The masking plate or plates can be arranged to move away from deposition die at a rate similar to that at which the thickness of the deposit builds up. Over-spraying of the deposition die can also be reduced by modifying the shape of the spray by suitable changes in the arrangement and geometry of the atomising gas-jets. Alternatively, or additionally, any surplus metal that has been deposited on the die block can be removed by other mechanical means, for example, by means of a suitably shaped trimming tool or cutter. This is normally carried out before the subsequent forming operation.
With prior methods which employ the spray depositing of metal particles to form certain semi-finished products, e. g., metallic strip electrodes for condensers, or metal shapes of long length and relatively thin section (e.g., strip material) it is essential that the thickness of the sprayed deposit is uniform or substantially uniform across the width of the deposit, particularly when a rolling operation is employed, as nonuniformities in the thickness of the deposit can result in cracking of the strip during the rolling operation. This is not the case in the present invention as greater variations in the thickness of the deposit can be tolerated. Surplus material flows out between the shaped dies during the forging, pressing or like forming operation and can then be removed, for example, by the shearing action of the two suitably designed dies as they are loaded against each other. In addition, the deposition surface of the die cavity does not usually require special treatment to ensure optimum adhesion prior to deposition, as the surface finish of the formed component conforms to the surface finish of the dies. In certain instances, however, the application of a suitable releasing agent to the surfaces of the dies aids the ejection of the formed component from the dies.
Under certain circumstances, it is desirable that the porosity of the coherent mass of deposited metal particles is minimal. To achieve this requirement the temperature, size, velocity and degree of solidification of the metal particles have to be such that on impacting the die surface they readilyflatten, coalesce and buildup to form a coherent deposit which has a fine grain structure (this is essential toreduce segregation problems particularly in highly alloyed materials).
7 It has been mentioned previously that the condition of the deposit can depend to a large extent on the temperature, size and velocity of the hot particles on impacting the deposition die and as these factors can be altered by variations in the process parameters; for example, the temperature of the deposit can be increased simply by increases in the temperature of the deposition die,.the molten metal prior to atomising and the flow-rate of the molten metal; alternatively reductions in the spray height, the flow-rate and the velocity of the atomising gas also result in an increase in the tempera.- ture of the mass of particles in the depositiondie. This facility to vary the conditions of the sprayed deposit by simple variations in one, or several, of the many opera- EXAMPLE Operational conditions for the production of a typical forged or pressed non-porous-aluminium (or aluminium alloy) precision component in accordance with the invention are given below:'
The metal to be atomised is heated to between 100 and 200C above its melting point and then poured through a nozzle (between 3 and 7 mm bore), atthe exit of which the stream of molten metal is atomisedby means of high velocity jets of nitrogen gas. The atomising gas is fed to an annular'atomising system which is located at the periphery of the molten stream. Generally gas is suppliedto the atomiser at pressures greater than approximately lb/in gauge; the actual value depending on the design of the atomiser, the required temperature of deposition, the diameter of the molten metal stream, etc. A typical gas pressure for atomising a 3 mm diameter stream of molten aluminium is 60 lbs/in gauge, the atomiser comprising 12 outlet holes each 1 mm in diameter, on a pitch circle diameter of 15 mm. The temperature of the atomising gas can be varied over a considerable range, but is usually at room temperature (i.e., about 20C) and the gas consumption is generally greater than 700 ft /ft of metal sprayed. By these means a spray of hot metal particles of median size between and 200 microns can be obtained.
The resultant spray of hot metal particles is directed into a deposition die, which is placed at such a distance from the atomising system so that most of the particles, on impacting the die are at the solidus temperature of the metal or are just solid. Typical values of the distance between the atomising system and the surface of the deposition die (i.e., the spray distance), for the production of an aluminium (or aluminium alloy) component, are in the range of 20 cm to 45 cm.
On impacting the die the particles flatten and build up to form a coherent mass at a temperature suitable for the subsequent hot-forming operation which can be performed without the .addition of heat. The approximate hot-working temperature for'aluminium and/or its alloys is typically 450C.The die can be held at a desired temperature; e.g., between 100 and 200C, to prevent drastic cooling of the initially deposited layers of particles. J
The pressure required for hot-working depends pri- .marily on the alloy used and its temperature. In the case of a forged or pressed aluminium or aluminium alloy component the pressure applied to the deposited metal, between the deposition and top dies, can be up to 13 tons/in of face area of the component. Generally parts, having a porosity of approximately 50 percent, can be produced for use as impact energy absorbers as, for example, during collisions involving automobiles. In this instance, it is desirable that the rigid cabin which contains the driver and passengers is protected in front and at the rear by respective crumpling zones formed from deformable parts having a high energy absorption capacity. Spray-formed, porous parts of this nature may also be used as energy absorbing liners in the protective covers of highspeed grinding wheels.
Products having a relatively high value of porosity (50 percent) may be produced by a spray of coarse, metal particles which, at the moment of deposition are moving slowly and have solidified or are mostly solid. On impacting the deposition die these particles do not deform readily and a shaped, coherent deposit with large interparticulate voids is formed.
The degree of porosity of spray-formed precision articles can be controlled easily by variations in the process parameters, as discussed above, so that shaped, metal articles can be manufactured over 'a wide range of porosities. In this way, porous bearings, filters and the like can be manufactured simply by spraying the metal particles at the appropriate conditions into a suitably shaped die. If necessary the sprayed deposit can be pressed to obtain the required value of porosity and/or a suitable shape.
The invention will be described further, by way of example, with reference to the accompanying diagrammatic drawings, in which:-
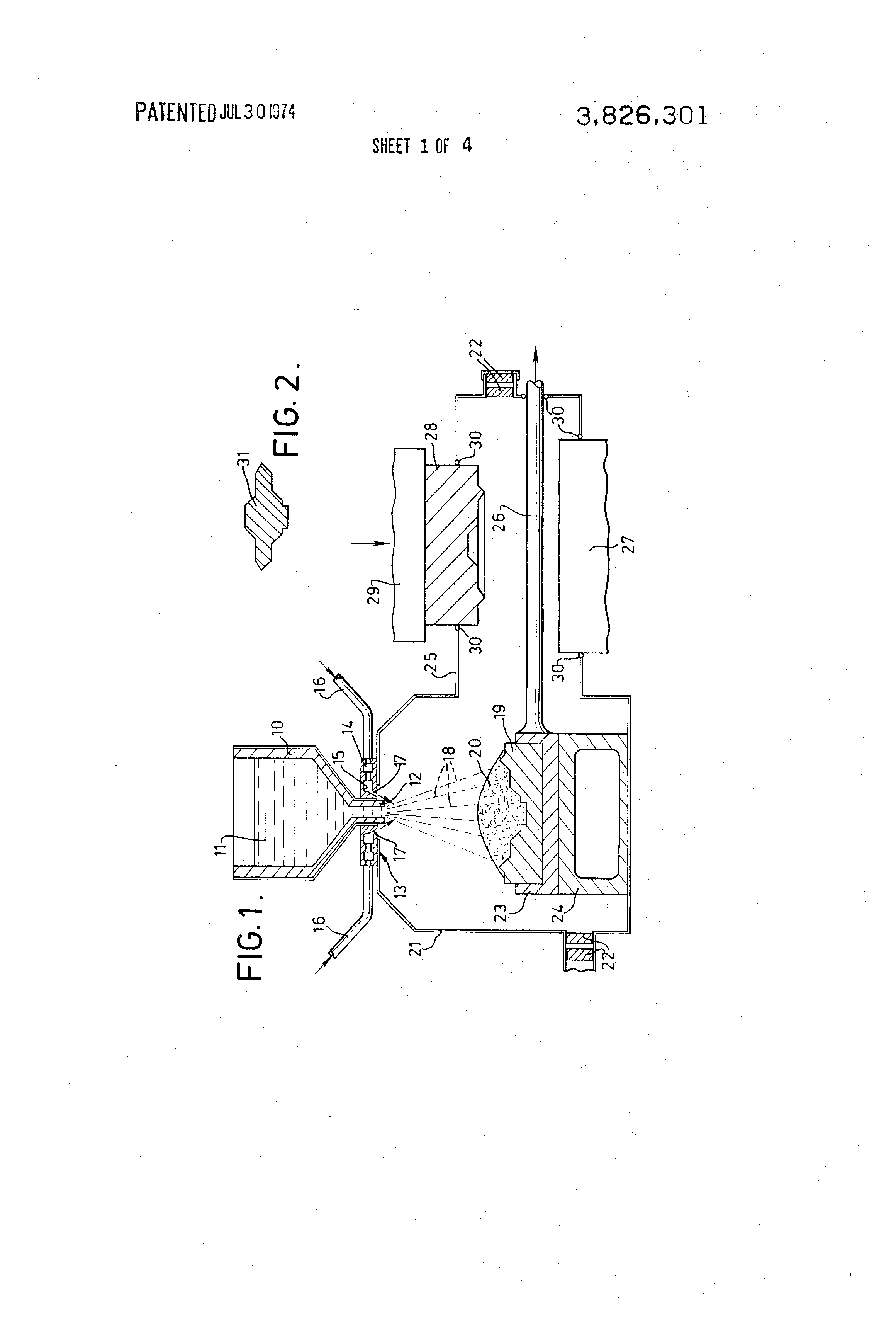
FIG. '1 is a section through an apparatus for making shaped precision articles in accordance with the invention; I
FIG. 2 is a sectional view of the article produced by the, apparatus shown in FIG.'1;
FIG. 3 shows a section through an apparatus in which the sprayed deposit is removed from the collecting surface before being worked;
FIG. 4,.shows two stages in producing an extruded article in accordance with the invention; and
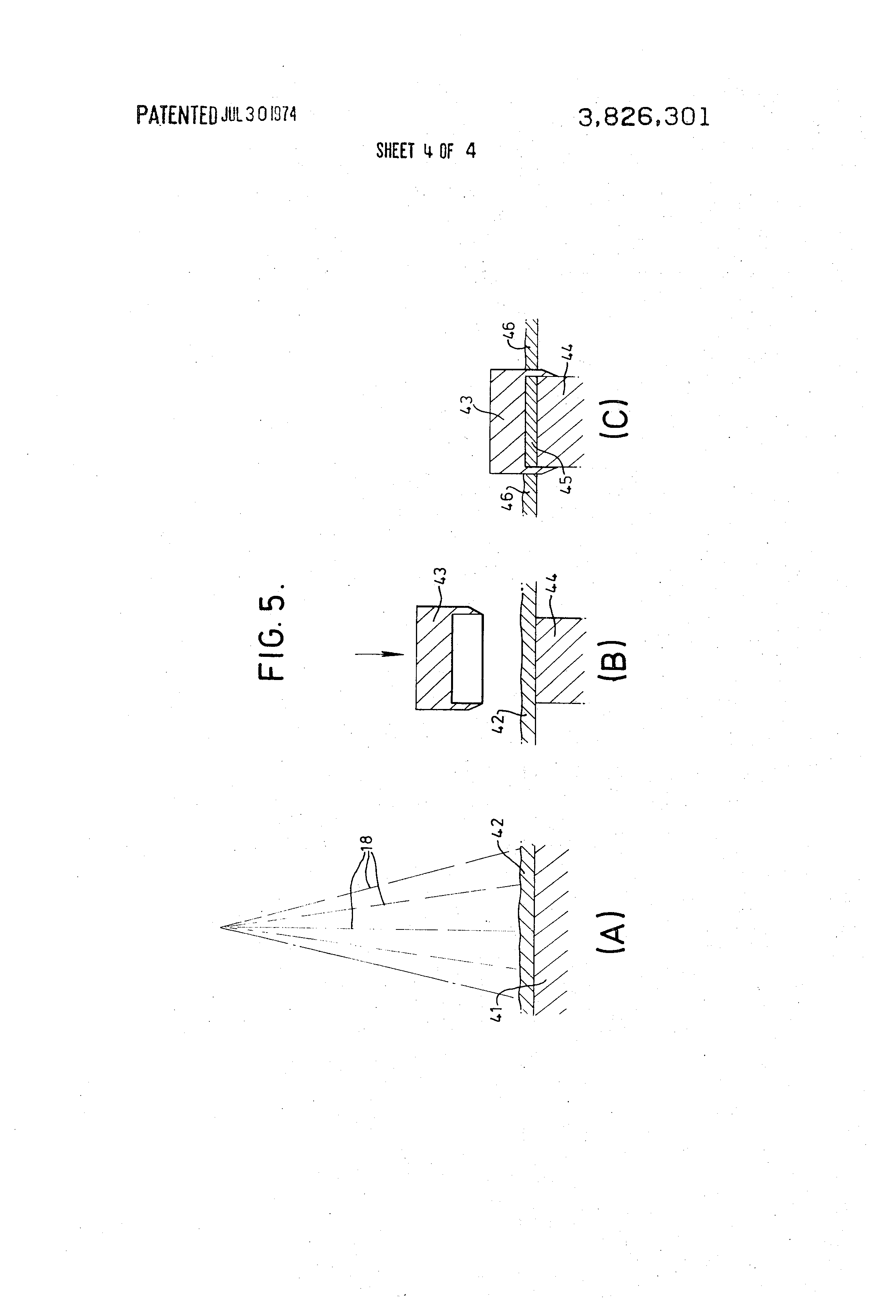
FIG. 5 shows the stages involved in die-stamping a strip of sprayed metal.
FIG. 1 shows an apparatus for making shaped precision articles according to-the invention, such apparatus comprising a tundish l0 filled with molten metal or molten-metal alloy 11. The tundish is formed into a nozzle 12 at its lower end which is surrounded by an annular gas atomiser13 having outer and inner gas galleries l4, 15 respectively. Gas is supplied through delivery pipes 16 to issue through angled jets 17 connecting with the inner gallery 15. Gas from the jets 17 serves to break up the stream of molten metal issuing from the nozzle into a spray 18 which is directed at a collecting surface in the form of a deposition die 19, where the sprayed particles form a hot, coherent deposit 20. The waste atomising gas leaves the atomising chamber 21 through dust filters 22.
The die 19 is mounted on a dieblock 23 which is itself suitably supported on a die block support 24. Inert gas cover is maintained in a press chamber 25 connected to the atomising chamber 21, and an operating arm 26 is attached to the die block 23 for transferring the deposit in the die 19 into the press chamber 25. The chamber is provided with a fixed lower die holder 27 and a top die 28 mounted on a top die block 29 which is movable, for example, mechanically, hy-
draulically or pneumatically. Seals 30 prevent the ingress of air into the chamber 25. a
When the deposition die 19 is in position on the lower die holder 27, the top die block is operated to close the top die 28 onto the die 19, thus hot-forming a shaped precision article 31, as illustrated in FIG. 2, which can be removed for the cycle to be repeated.
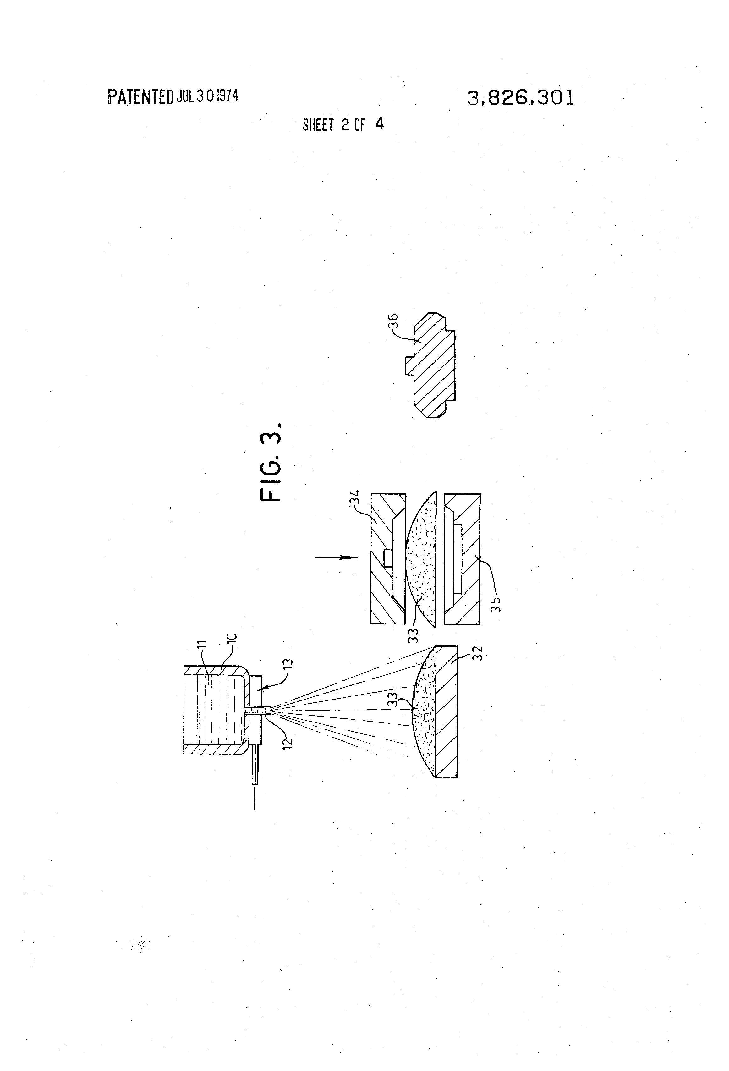
FIG. 3 shows a simiiar apparatus to that illustrated in FIG. 1. However, in this instance, the hot metal particles are sprayed onto a flat collecting surface 32 to form an unshaped deposit 33 which is ejected from the surface 32 to be hot-worked between shaped top and bottom dies 34, 35 respectively under the action of a press (not shown) thereby producing a shaped precision article 36.
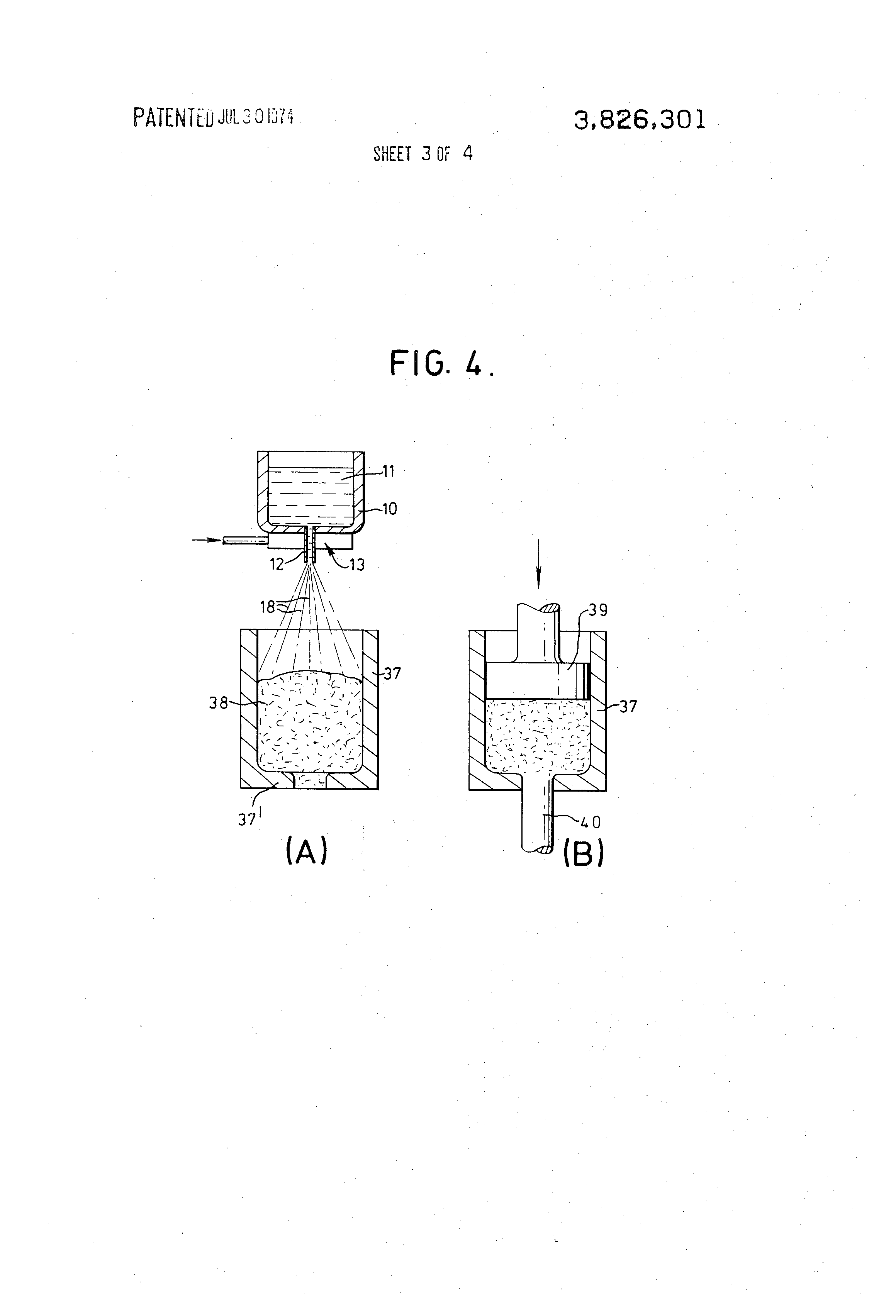
In FIG. 4, an apparatus is illustrated which is suitable for forming an extruded precision article according to the invention. In this case, the metal spray 18 is directed into a cylindrical container 37 provided with an extrusion die 37', to form ahot, coherent deposit 38. The extrusion die 37 is then transferred to a position wherein a piston 39 of an extrusion press (not shown) can co-operate with the container 37 to extrude a precision metal article 40 (see FIG. 4B).
Referring finally to FIG. 5, the spray of metal 18is directed onto a moving collecting surface 41 to form a hot, coherent layer 42 which is transferred to a diestamping press comprising a top die 43 which'co- 7 cycled.
The invention is not limited to the precise details of the foregoing examples and variations may be made thereto within the scope of the appended claims. For example, the deposit may be cold .worked by the die when, for instance it is desired to form a highly porous article.
In the FIG. 5 embodiment, instead of. a die-stamping press, a forgingpress may be used to produce articles from a continuous layer of sprayed deposit.
I claim: I
1. A method for manufacturing shaped precision articles from molten metal or molten metal alloy, comprising directing an atomised stream of molten metal or molten metal alloy onto a collecting surface to form a solid deposit, then directly working the deposit on .the collecting surface by means of a die to form a precision metal or metal alloy article of desired shape,and subsequently removing the precision shaped article from the collecting surface.
2. A method as claimed in claim 1, wherein the collecting surface is in the form of a second die.
3. A method as claimed in claim 2, wherein the molten metal or metal alloy is atomised in an inert atmo-' sphere.
4. A method as claimed in claim 1, wherein the molten metal or metal alloy is atomised in a reducing atmosphere. I
5. A method as claimed in claim 1, wherein the molten metal or metal alloy is atomised by compressed air.
6. A method as claimed in claim 1, wherein several atomised streams of different molten metals or alloys are provided, which streams are simultaneously mixed in flight or are sprayed consecutively.
7. A method as claimed in claim 6, wherein metallic and/or non-metallic powders, fibres, filaments or whiskers are incorporated in the sprayed deposit during deposition.
8. A method as claimed in claim 2, wherein the second die is transferred to a press chamber to enable working to be carried out.
9. A method as claimed in claim 1, wherein the collecting surface is in the form of a container provided with an extrusion die, and working of the deposit is carried out by a ram which extrudes the deposit through the die to form a precision metal article.
10. A method as claimed in claim 1, wherein the collecting surface is in the form of a container and working is carried out by a ram having an extrusion die through which the article is extruded.
11. A method as claimed in claim 1, wherein the collecting surface moves relative to the atomised stream of molten metal or metal alloy so that a continuous layer of metal or metal alloy is deposited on the collecting surface.
12. A method as claimed in claim 1, wherein a masking plate or plates is mounted in the atomised steam of molten metal or metal alloy to ensure that metal or metal alloy is only deposited on desired areas of the collecting surface.
13. A method as claimed in claim 1, wherein any surplus metal or metal alloy deposited on the collecting surface is removed by a suitably shaped trimming or cutting tool.
14. A method as claimed in claim 1, wherein a release agent is applied to the collecting surface to facilitate release of the sprayed deposit therefrom.
15. A method as claimed in claim 1, wherein the die or dies are made from nickel-chromium-molybdenum steel, chromium-molybdenum-vanadium steel, nickel based alloys or metallic carbides.
16. A method as claimed in clam 1, wherein the deposit is cold worked.
17. A method as claimed in claim 1, wherein the deposit is cold worked.
18. An apparatus for manufacturing shaped precision articles from molten metal or molten metal alloy, comprising a chamber having means for atomising a stream of molten metal or metal alloy and for directing the atomised stream onto a collecting surface so as to form a solid deposit on said surface, a die movable by operating means for effecting working of said deposit on said surface in order to form a precision metal or metal alloy article, and means for removing the precision metal or metal alloy article from the chamber.
19. An apparatus as claimed in claim 18, wherein the atomising means is an annular gas atomiser which surrounds a nozzle through which molten metal or metal alloy is fed from a tundish.
20. An apparatus as claimed in claim 18, wherein the collecting surface is in the form of a second die which is movable between a depositing position, and a working position wherein it cooperates with said first die.
21. An apparatus as claimed in claim 18,'.wherein an inert gas atmosphere is maintained in the chamber.
22. An apparatus as claimed in claim 18, wherein the collecting surface is in the form of a container provided with an extrusion die, and a piston is provided for extruding the deposit from the die.
23. An apparatus as claimed in claim 18, wherein the collecting surface is in the form of a container and working is carried out by a ram having an extrusion die through which the article is extruded.
24. An apparatus as claimed in claim 18, wherein means are provided for moving the collecting surface relative to the atomised spray so that a continuous layer of metal or metal alloy is deposited on said surface, press means being provided for forming the worked article from the layer of metal or metal alloy.
25. An apparatus as claimed in claim 18, wherein an inert gas atmosphere is maintained in the chamber.
26. An apparatus as claimed in claim 18, wherein a reducing atmosphere is maintained in the chamber.
27. An apparatus as claimed in claim 18, wherein the molten metal or metal alloy is atomised by compressed air.
28. An apparatus as claimed in claim 18, wherein the atomising means is arranged to atomise several streams of different molten metals or metal alloys, which streams are simultaneously mixed in flight or are sprayed consecutively.
29. An apparatus as claimed in claim 28, wherein means are provided for incorporating metallic and/or non-metallic powders, fibres, filaments or whiskers in the sprayed deposit.
30. An apparatus as claimed in claim 18, wherein the die is made from a material selected from the group consisting of chromium-molybdenum steel, chromiummolybdenum-vanadium steel, nickel based alloys and metallic carbides.
31. An apparatus as claimed in claim 18, wherein a release agent is applied to the collecting surface to facilitate release of the sprayed deposit therefrom.
32. An apparatus as claimed in claim 18, wherein any surplus metal or metal alloy deposited on the collecting surface is removed by a suitably shaped trimming or cutting tool.
33. An apparatus as claimed in claim 18, wherein a masking plate or plates is mounted in the atomised stream of molten metal or metal alloy to ensure that metal or metal alloy is only deposited on desired areas of the collecting surface.
34. An apparatus as claimed in claim 18, wherein the deposit is hot worked. I
35. An apparatus as claimed in claim 18, wherein the deposit is cold worked.
| Cited Patent | Filing date | Publication date | Applicant | Title |
|---|---|---|---|---|
| US3397732 * | Jan 3, 1966 | Aug 20, 1968 | Army Usa | Method for spray forming of tubular bodies |
| US3670400 * | May 9, 1969 | Jun 20, 1972 | Nat Res Dev | Process and apparatus for fabricating a hot worked metal layer from atomized metal particles |
| US3689987 * | Apr 7, 1969 | Sep 12, 1972 | Johnson Matthey Co Ltd | Method of making metal articles |
| US3696502 * | Jul 14, 1969 | Oct 10, 1972 | Johnson Matthey Co Ltd | Method of making a dispersion strengthened metal |
| US3742585 * | Dec 28, 1970 | Jul 3, 1973 | Homogeneous Metals | Method of manufacturing strip from metal powder |
| Citing Patent | Filing date | Publication date | Applicant | Title |
|---|---|---|---|---|
| US3909921 * | Jul 9, 1974 | Oct 7, 1975 | Osprey Metals Ltd | Method and apparatus for making shaped articles from sprayed molten metal or metal alloy |
| US3941184 * | Jan 10, 1974 | Mar 2, 1976 | Kelso John W | Apparatus for manufacturing seamless metal tubular products |
| US4418124 * | Aug 14, 1981 | Nov 29, 1983 | General Electric Company | Plasma spray-cast components |
| US4420031 * | Feb 18, 1982 | Dec 13, 1983 | Sven Eketorp | Method of casting metal including disintegration of molten metal |
| US4485834 * | Dec 4, 1981 | Dec 4, 1984 | Grant Nicholas J | Atomization die and method for atomizing molten material |
| US4674554 * | Mar 25, 1986 | Jun 23, 1987 | United Kingdom Atomic Energy Authority | Metal product fabrication |
| US4700451 * | May 14, 1986 | Oct 20, 1987 | Clark Iii William T | Method for automatically indexing cast field shaping blocks to a radiation therapy treatment tray and a cooling tray for cast blocks |
| US4738712 * | Apr 18, 1986 | Apr 19, 1988 | National Research Development Corporation | Metal forming |
| US4804034 * | Dec 24, 1987 | Feb 14, 1989 | Osprey Metals Limited | Method of manufacture of a thixotropic deposit |
| US4830084 * | Mar 7, 1988 | May 16, 1989 | Singer Alfred R E | Spray casting of articles |
| US4901784 * | Mar 29, 1989 | Feb 20, 1990 | Olin Corporation | Gas atomizer for spray casting |
| US4907639 * | Mar 13, 1989 | Mar 13, 1990 | Olin Corporation | Asymmetrical gas-atomizing device and method for reducing deposite bottom surface porosity |
| US4917170 * | Sep 20, 1988 | Apr 17, 1990 | Olin Corporation | Non-preheated low thermal conductivity substrate for use in spray-deposited strip production |
| US4919853 * | Jan 21, 1988 | Apr 24, 1990 | The United States Of America As Represented By The United States Department Of Energy | Apparatus and method for spraying liquid materials |
| US4925103 * | Mar 13, 1989 | May 15, 1990 | Olin Corporation | Magnetic field-generating nozzle for atomizing a molten metal stream into a particle spray |
| US4926923 * | Mar 24, 1986 | May 22, 1990 | Osprey Metals Ltd. | Deposition of metallic products using relatively cold solid particles |
| US4926927 * | Sep 20, 1988 | May 22, 1990 | Olin Corporation | Vertical substrate orientation for gas-atomizing spray-deposition apparatus |
| US4938278 * | Sep 20, 1988 | Jul 3, 1990 | Olin Corporation | Substrate for use in spray-deposited strip |
| US4945973 * | Nov 14, 1988 | Aug 7, 1990 | Olin Corporation | Thermal conductivity of substrate material correlated with atomizing gas-produced steady state temperature |
| US4961457 * | Apr 3, 1989 | Oct 9, 1990 | Olin Corporation | Method to reduce porosity in a spray cast deposit |
| US4966224 * | Sep 20, 1988 | Oct 30, 1990 | Olin Corporation | Substrate orientation in a gas-atomizing spray-depositing apparatus |
| US4971133 * | Apr 3, 1989 | Nov 20, 1990 | Olin Corporation | Method to reduce porosity in a spray cast deposit |
| US4977950 * | Mar 13, 1989 | Dec 18, 1990 | Olin Corporation | Ejection nozzle for imposing high angular momentum on molten metal stream for producing particle spray |
| US5102620 * | Jun 1, 1990 | Apr 7, 1992 | Olin Corporation | Copper alloys with dispersed metal nitrides and method of manufacture |
| US5131451 * | Dec 14, 1990 | Jul 21, 1992 | Olin Corporation | Belt casting of molten metal |
| US5154219 * | Dec 31, 1990 | Oct 13, 1992 | Olin Corporation | Production of spray cast strip |
| US5272718 * | Apr 10, 1992 | Dec 21, 1993 | Leybold Aktiengesellschaft | Method and apparatus for forming a stream of molten material |
| US5310165 * | Nov 2, 1992 | May 10, 1994 | General Electric Company | Atomization of electroslag refined metal |
| US5332197 * | Nov 2, 1992 | Jul 26, 1994 | General Electric Company | Electroslag refining or titanium to achieve low nitrogen |
| US5337631 * | Jul 30, 1991 | Aug 16, 1994 | British Technology Group Limited | Method of producing tools and dies |
| US5343926 * | Dec 3, 1992 | Sep 6, 1994 | Olin Corporation | Metal spray forming using multiple nozzles |
| US5348566 * | Nov 2, 1992 | Sep 20, 1994 | General Electric Company | Method and apparatus for flow control in electroslag refining process |
| US5371937 * | Feb 3, 1994 | Dec 13, 1994 | Olin Corporation | Method for producing a composite material |
| US5381847 * | Jun 10, 1993 | Jan 17, 1995 | Olin Corporation | Vertical casting process |
| US5480097 * | Mar 25, 1994 | Jan 2, 1996 | General Electric Company | Gas atomizer with reduced backflow |
| US5609922 * | Dec 5, 1994 | Mar 11, 1997 | Mcdonald; Robert R. | Method of manufacturing molds, dies or forming tools having a cavity formed by thermal spraying |
| US5619785 * | Feb 27, 1995 | Apr 15, 1997 | Tambussi; William C. | Method of making a metal casket |
| US5649992 * | Oct 2, 1995 | Jul 22, 1997 | General Electric Company | Methods for flow control in electroslag refining process |
| US5649993 * | Oct 2, 1995 | Jul 22, 1997 | General Electric Company | Methods of recycling oversray powder during spray forming |
| US5658506 * | Dec 27, 1995 | Aug 19, 1997 | Ford Global Technologies, Inc. | Methods of making spray formed rapid tools |
| US5683653 * | Oct 2, 1995 | Nov 4, 1997 | General Electric Company | Systems for recycling overspray powder during spray forming |
| US5711826 * | Apr 12, 1996 | Jan 27, 1998 | Crs Holdings, Inc. | Functionally gradient cladding for nuclear fuel rods |
| US5746966 * | Nov 1, 1996 | May 5, 1998 | Metallamics, Inc. | Molds, dies or forming tools having a cavity formed by thermal spraying and methods of use |
| US5783259 * | Mar 7, 1997 | Jul 21, 1998 | Metallamics, Inc. | Method of manufacturing molds, dies or forming tools having a cavity formed by thermal spraying |
| US6068043 * | Dec 26, 1995 | May 30, 2000 | Hot Metal Technologies, Inc. | Method and apparatus for nucleated forming of semi-solid metallic alloys from molten metals |
| US6250522 | Oct 2, 1995 | Jun 26, 2001 | General Electric Company | Systems for flow control in electroslag refining process |
| US6258166 * | Aug 23, 1999 | Jul 10, 2001 | Alcoa Inc. | Linear nozzle with tailored gas plumes |
| US6296043 | Dec 10, 1996 | Oct 2, 2001 | Howmet Research Corporation | Spraycast method and article |
| US6406744 * | Jan 11, 2000 | Jun 18, 2002 | British Ceramic Research Limited | Method of manufacturing electrodes by gas atomisation of molten metals |
| US6514342 * | Jan 31, 2001 | Feb 4, 2003 | Alcoa Inc. | Linear nozzle with tailored gas plumes |
| US6613266 | Jul 2, 1998 | Sep 2, 2003 | Metallamics | Method of manufacturing molds, dies or forming tools having a porous heat exchanging body support member having a defined porosity |
| US6916502 * | Feb 11, 2002 | Jul 12, 2005 | Battelle Energy Alliance, Llc | Systems and methods for coating conduit interior surfaces utilizing a thermal spray gun with extension arm |
| US6997062 | Nov 17, 2004 | Feb 14, 2006 | Battelle Energy Alliance, Llc | Pipeline including network and topology for identifying, locating and quantifying physical phenomena |
| US7026016 | Jan 2, 2004 | Apr 11, 2006 | Bauer Eric C | Method of fabricating free standing objects using thermal spraying |
| US7276264 | May 3, 2005 | Oct 2, 2007 | Battelle Energy Alliance, Llc | Methods for coating conduit interior surfaces utilizing a thermal spray gun with extension arm |
| US7324011 | Apr 14, 2004 | Jan 29, 2008 | Battelle Energy Alliance, Llc | Method and system for pipeline communication |
| US7334485 | May 26, 2005 | Feb 26, 2008 | Battelle Energy Alliance, Llc | System, method and computer-readable medium for locating physical phenomena |
| US7798199 | Dec 4, 2007 | Sep 21, 2010 | Ati Properties, Inc. | Casting apparatus and method |
| US7803211 | Mar 21, 2008 | Sep 28, 2010 | Ati Properties, Inc. | Method and apparatus for producing large diameter superalloy ingots |
| US7803212 | Mar 21, 2008 | Sep 28, 2010 | Ati Properties, Inc. | Apparatus and method for clean, rapidly solidified alloys |
| US7827822 * | Jul 25, 2007 | Nov 9, 2010 | Schott Corporation | Method and apparatus for spray-forming melts of glass and glass-ceramic compositions |
| US7963314 | Aug 23, 2010 | Jun 21, 2011 | Ati Properties, Inc. | Casting apparatus and method |
| US8156996 | May 16, 2011 | Apr 17, 2012 | Ati Properties, Inc. | Casting apparatus and method |
| US8216339 | Jul 14, 2009 | Jul 10, 2012 | Ati Properties, Inc. | Apparatus and method for clean, rapidly solidified alloys |
| US8221676 | Jul 7, 2010 | Jul 17, 2012 | Ati Properties, Inc. | Apparatus and method for clean, rapidly solidified alloys |
| US8226884 | Jun 23, 2010 | Jul 24, 2012 | Ati Properties, Inc. | Method and apparatus for producing large diameter superalloy ingots |
| US8302661 | Mar 15, 2012 | Nov 6, 2012 | Ati Properties, Inc. | Casting apparatus and method |
| US8418366 * | Nov 27, 2008 | Apr 16, 2013 | Namiki Seimitsu Houseki Kabushiki Kaisha | Internal gear manufacturing method and metallic glass internal gear manufactured thereby |
| US8642916 | Mar 26, 2008 | Feb 4, 2014 | Ati Properties, Inc. | Melting furnace including wire-discharge ion plasma electron emitter |
| US8747956 | Aug 11, 2011 | Jun 10, 2014 | Ati Properties, Inc. | Processes, systems, and apparatus for forming products from atomized metals and alloys |
| US8748773 | Aug 25, 2009 | Jun 10, 2014 | Ati Properties, Inc. | Ion plasma electron emitters for a melting furnace |
| US8891583 | Oct 30, 2007 | Nov 18, 2014 | Ati Properties, Inc. | Refining and casting apparatus and method |
| US8931957 * | Aug 25, 2008 | Jan 13, 2015 | Ggb, Inc. | Metal-backed plain bearing |
| US9008148 | Nov 28, 2006 | Apr 14, 2015 | Ati Properties, Inc. | Refining and casting apparatus and method |
| US9453681 | Jun 17, 2013 | Sep 27, 2016 | Ati Properties Llc | Melting furnace including wire-discharge ion plasma electron emitter |
| US20030161946 * | Feb 11, 2002 | Aug 28, 2003 | Moore Karen A. | Systems and methods for coating conduit interior surfaces utilizing a thermal spray gun with extension arm |
| US20050092098 * | Nov 17, 2004 | May 5, 2005 | Bechtel Bwxt Idaho, Llc | Pipeline including network and topology for identifying, locating and quantifying physical phenomena |
| US20050147764 * | Jan 2, 2004 | Jul 7, 2005 | Bauer Eric C. | Method of fabricating free standing objects using thermal spraying |
| US20050222818 * | May 26, 2005 | Oct 6, 2005 | Battelle Energy Alliance, Llc | System, method and computer-readable medium for locating physical phenomena |
| US20050231382 * | Apr 14, 2004 | Oct 20, 2005 | Richardson John G | Method and system for pipeline communication |
| US20060186093 * | Feb 21, 2006 | Aug 24, 2006 | Hoesch Schwerter Profile Gmbh | Method and Device for Producing Metal Composite Block Material |
| US20070124625 * | Nov 30, 2005 | May 31, 2007 | Microsoft Corporation | Predicting degradation of a communication channel below a threshold based on data transmission errors |
| US20070151695 * | Nov 28, 2006 | Jul 5, 2007 | Ati Properties, Inc. | Refining and Casting Apparatus and Method |
| US20070218198 * | May 3, 2005 | Sep 20, 2007 | Moore Karen A | Methods for coating conduit interior surfaces utilizing a thermal spray gun with extension arm |
| US20080115905 * | Oct 30, 2007 | May 22, 2008 | Forbes Jones Robin M | Refining and casting apparatus and method |
| US20080179033 * | Mar 21, 2008 | Jul 31, 2008 | Ati Properties, Inc. | Method and apparatus for producing large diameter superalloy ingots |
| US20080179034 * | Mar 21, 2008 | Jul 31, 2008 | Ati Properties, Inc. | Apparatus and method for clean, rapidly solidified alloys |
| US20080237200 * | Mar 26, 2008 | Oct 2, 2008 | Ati Properties, Inc. | Melting Furnace Including Wire-Discharge Ion Plasma Electron Emitter |
| US20090025425 * | Jul 25, 2007 | Jan 29, 2009 | Carsten Weinhold | Method for spray-forming melts of glass and glass-ceramic compositions |
| US20090052822 * | Aug 25, 2008 | Feb 26, 2009 | Ggb, Inc. | Metal-Backed Plain Bearing |
| US20100258262 * | Jun 23, 2010 | Oct 14, 2010 | Ati Properties, Inc. | Method and apparatus for producing large diameter superalloy ingots |
| US20100276112 * | Jul 7, 2010 | Nov 4, 2010 | Ati Properties, Inc. | Apparatus and Method for Clean, Rapidly Solidified Alloys |
| US20100313704 * | Nov 27, 2008 | Dec 16, 2010 | Namiki Seimitsu Houseki Kabushiki Kaisha | Internal gear manufacturing method and metallic glass internal gear manufactured thereby |
| US20100314068 * | Aug 23, 2010 | Dec 16, 2010 | Ati Properties, Inc. | Casting Apparatus and Method |
| USRE31767 * | Mar 19, 1982 | Dec 18, 1984 | Osprey Metals Limited | Method and apparatus for making shaped articles from sprayed molten metal or metal alloy |
| USRE35411 * | Jul 20, 1994 | Dec 31, 1996 | Olin Corporation | Belt casting of molten metal |
| CN101791688B | Jan 8, 2010 | Jan 18, 2012 | 西南科技大学 | Model-free rapid molding device based on surface tension and molding method thereof |
| CN102259182A * | Jul 22, 2011 | Nov 30, 2011 | 中国科学院金属研究所 | 一种熔炼法制备高性能钼饼材的方法 |
| CN104550960A * | Dec 23, 2014 | Apr 29, 2015 | 中国航空工业集团公司北京航空制造工程研究所 | Metal additive manufacturing method applying cold hearth melting, metal parts and application |
| DE3139219A1 * | Oct 2, 1981 | May 27, 1982 | Gen Electric | "plasmaspritzgussteile" |
| DE10131362A1 * | Jun 28, 2001 | Jan 9, 2003 | Alstom Switzerland Ltd | Verfahren zur Herstellung einer räumlich geformten, folienartig ausgebildeten Trägerschicht aus sprödhartem Material |
| EP0104839A1 * | Sep 15, 1983 | Apr 4, 1984 | Masuzo Hamamura | Method of manufacturing metal molds by metal melt-spraying |
| EP0218154A2 * | Sep 26, 1986 | Apr 15, 1987 | General Electric Company | Tri-nickel aluminide compositions ductile at hot-short temperatures |
| EP0218154A3 * | Sep 26, 1986 | Aug 24, 1988 | General Electric Company | Tri-nickel aluminide compositions ductile at hot-short temperatures |
| EP0244753A2 * | Apr 29, 1987 | Nov 11, 1987 | General Electric Company | Method of producing high quality plasma spray deposits of complex geometry |
| EP0244753A3 * | Apr 29, 1987 | Apr 26, 1989 | General Electric Company | Method of producing high quality plasma spray deposits of complex geometry |
| EP0270265A1 * | Nov 11, 1987 | Jun 8, 1988 | Alcan International Limited | Making composite metal deposit by spray casting |
| EP0338419A1 * | Apr 13, 1989 | Oct 25, 1989 | Wehag Leichtmetall Gmbh | Squeeze-casting method |
| EP0414620A1 * | Aug 21, 1990 | Feb 27, 1991 | PECHINEY RECHERCHE (Groupement d'Intérêt Economique régi par l'Ordonnance du 23 Septembre 1967) | Method for making magnesium alloys by spray coating |
| EP0545145A1 * | Nov 19, 1992 | Jun 9, 1993 | Wieland-Werke Ag | Manufacture of a porous copper-based material as a preform for a machining process |
| EP0646783A2 * | Sep 29, 1994 | Apr 5, 1995 | PEAK WERKSTOFF GmbH | Calibration standard and method for producing such a standard |
| EP0646783A3 * | Sep 29, 1994 | Sep 6, 1995 | Peak Werkstoff Gmbh | Calibration standard and method for producing such a standard. |
| EP0848078A1 * | Dec 5, 1997 | Jun 17, 1998 | Howmet Research Corporation | Spraycast method and article |
| EP1020244A1 * | Jan 14, 1999 | Jul 19, 2000 | Jean-Claude Werquin | Process and installation for the vertical centrifugal casting of composite rolls for rolling mills |
| EP1096032A2 * | Oct 5, 2000 | May 2, 2001 | Ford Global Technologies, Inc. | Fibre reinforced metal-matrix composite |
| EP1096032A3 * | Oct 5, 2000 | Jan 21, 2004 | Ford Global Technologies, Inc. | Fibre reinforced metal-matrix composite |
| EP1864728A4 * | Feb 15, 2006 | Oct 15, 2008 | Asahi Organic Chem Ind | Resin-coated sand for multilayered casting mold |
| EP2752261A3 * | Oct 10, 2013 | Aug 20, 2014 | Cartier Création Studio S.A. | Process for producing watch parts |
| WO1992002657A1 * | Jul 30, 1991 | Feb 20, 1992 | British Technology Group Ltd | A method of producing tools and dies |
| WO1997025750A1 * | Dec 27, 1996 | Jul 17, 1997 | British Ceramic Research Limited | Method of manufacturing electrodes by gas atomisation of molten metals |
| WO2015166167A1 * | Apr 22, 2015 | Nov 5, 2015 | Saint Jean Industries | Method for the production of parts made from metal or metal matrix composite and resulting from additive manufacturing followed by an operation involving the forging of said parts |
| U.S. Classification | 164/46, 164/76.1, 29/527.6, 29/527.5 |
| International Classification | B21J5/00, C23C4/12, B22F3/115, B22D23/00, C22C47/16, C23C4/18, B22F3/17, B22F3/02, B22D18/02, B22F9/08, B21C23/00 |
| Cooperative Classification | C23C4/185, B21J5/00, C23C4/121, B22F2003/1046, B22D18/02, B22F2998/00, B22F2998/10, B22F2999/00, C22C47/16, B22F3/115, B22F9/082, B21J5/002, B22D23/003 |
| European Classification | B22F9/08D, B21J5/00B, B22D23/00A, B22D18/02, C23C4/18B, B21J5/00, C23C4/12A, C22C47/16, B22F3/115 |