Account Options

  1. Sign in
    Screen reader users: click this link for accessible mode. Accessible mode has the same essential features but works better with your reader.

    Patents

    1. Advanced Patent Search
    Publication numberUS5037294 A
    Publication typeGrant
    Application numberUS 07/374,662
    Publication dateAug 6, 1991
    Filing dateJun 30, 1989
    Priority dateJun 30, 1989
    Fee statusPaid
    Publication number07374662, 374662, US 5037294 A, US 5037294A, US-A-5037294, US5037294 A, US5037294A
    InventorsEarl O. Bergersen
    Original AssigneeBergersen Earl Olaf
    Export CitationBiBTeX, EndNote, RefMan
    External Links: USPTO, USPTO Assignment, Espacenet
    Dentition appliance and method of forming
    US 5037294 A
    Abstract
    A human detention appliance or pacifier device or anti-thumb sucking device is made by a method of injection molding whereby a charge of fluoridating material is admixed with the base thermoplatic molding material to form a pre-fluoridated mixture stable within the temperatures necessary to melt the mixture and physically embodies in the molding so that when used, the fluoridating material will leach out of the appliance and become mixed with fluids in the mouth at the buccal, labial, lingual and occlusal surfaces of the teeth which come in contact with the appliance.
    Images(1)
    Previous page
    Next page
    Claims(13)
    I claim as my invention:
    1. The method of injection molding an orthodontic appliance which includes the steps of:
    (1) supplying a charge of a base molding material, said base molding material being sufficiently absorbative to permit a recharging of the appliance by soaking the appliance in fluoridating material and wherein said base material is an absorbent blush plastic,
    (2) mixing a charge of fluoridating material with said base material to form a pre-fluoridated mixture,
    (3) melting the pre-fluoridated mixture at softening temperatures within a range having an upper limit not exceeding the stability limits of the fluoridating material and a lower limit sufficient to soften and plasticize the base material thereby to form a melt,
    (4) injecting the melt into a relatively cool mold shaped to form a molding in the configuration of a generally U-shaped orthodontic appliance to fit the configuration of the human mouth and being generally H-shaped in cross-section with an isthmus portion, the sides of the isthmus portion being vertical flanges, the outer flange being a labial-buccal flange, the interior flange being a lingual flange, and the occlusal surfaces between the vertical flanges having formed therein a plurality of individual sockets to receive each of the teeth, and chilling the molding sufficiently below its softening range so that the appliance will hold its shape when ejected.
    2. The method of claim 1 wherein step (1) comprises supplying base material from a class consisting of soft resilient synthetic thermoplastic material, thermoplastic rubber, or thermoplastic stiff plastic material and wherein such base material plasticizes at temperatures less than the stable limits of a fluoridating material.
    3. The method of claim 1 wherein step (2) comprises mixing a charge of fluoridating material selected from the class consisting of finely ground or liquid sodium fluoride and finely ground or liquid calcium fluoride or other fluoridating materials providing a source of fluoride and/or tin.
    4. The method of claim 3 wherein the concentration of fluoridating material varies from 0.01 mg. to 200 mg. per milliliter or 0.01% to 70% by weight.
    5. The method of claim 1 wherein step (3) comprises melting the mixture at temperatures within a range of 100° F. to 500° F.
    6. The method of claim 1 wherein step (4) comprises screw-plasticating the melt into the mold.
    7. The method of claim 1 and recharging the appliance by soaking the appliance in the fluoridating material.
    8. The method of recharging the appliance of claim 7 and further characterized by giving the appliance a positive electrical charge during said soaking step and when placed in the mouth of the user, the appliance can be reversed and given a negative electrical charge while the body may receive a positive charge to accelerate absorption of fluoride ion.
    9. An orthodontic preformed or custom-made appliance comprising:
    (A) a generally U-shaped device to fit the configuration of the human mouth and being generally H-shaped in cross-section with an isthmus portion,
    (B) the sides of the isthmus portion being vertical flanges,
    (C) the outer flange being a labial-buccal flange,
    (D) the interior flange being a lingual flange,
    (E) the occlusal surfaces between the vertical flanges having formed therein a plurality of individual sockets to receive each of the teeth,
    (F) said appliance comprising a molding consisting of a moldable base material, said moldable base material being sufficiently absorbative to permit a recharging of the appliance by soaking the appliance in fluoridating material, and wherein said base material is an absorbent blush plastic admixed prior to melting and shaping with a fluoridating material in a concentration varying from 0.01 mg. to 200 mg. per milliliter or 0.01% to 70% by weight,
    whereby the appliance when worn in the mouth of a user will preventively fluoridate the teeth at the labial, buccal, lingual and occlusal surfaces of the appliance as well as deposit tin in the soft tissues and plaque.
    10. An orthodontic preformed or custom-made appliance as defined in claim 9 wherein said moldable base material comprises a soft resilient thermoplastic.
    11. An orthodontic preformed or custom-made appliance as defined in claim 9 wherein said moldable base material comprises a stiff thermoplastic material.
    12. An orthodontic preformed or custom-made appliance as defined in claim 9 wherein said moldable base material comprises a thermoplastic selected from the class consisting of silicone resins, polyurethane resins, polyvinyl chloride, latex rubber, water blush polyvinyl chloride, polypropylene resins and polyethylene resins.
    13. A method of charging an orthodontic appliance with fluoridating material comprising the steps of:
    forming a generally U-shaped device to fit the configuration of the human mouth and being generally H-shaped in cross-section with an isthmus portion, the sides of the isthmus portion being vertical flanges, the outer flange being a labial-buccal flange, the interior flange being a lingual flange, the occlusal services between the vertical flanges having formed therein a plurality of individual sockets to receive each of the teeth, the appliance formed from a melted mixture of fluoridating material and a base molding material such that in use, the fluoridating material will be leached from the base material; and
    recharging the material after use with fluoridating material by soaking the appliance in a fluoride compound.
    Description
    BACKGROUND OF THE INVENTION

    1. Field of the Invention

    This invention relates to appliances for correcting human dentition and more particularly relates to a method of injection-molding slow release fluoride and tin or other preventive chemicals into a human or animal dentition appliance for effecting the protection of teeth and supporting tissues by fluoridation and bacteriostatic action, and by incorporating these same chemicals into heat molded plastics that can in turn be used in vacuum forming appliances and incorporating chemicals into any soft or hard plastics or rubber used in fabricating custom positioners and other appliances made by vacuum and/or heat forming or injection molding or by other molding processes such as rotary molding and blow molding.

    2. Description of the Prior Art

    The World Health Organization recommends a fluoride ion level of 1.3 mg. per day based on fluoride exchange via internal metabolism. Fluoride has heretofore been put into toothpaste, tooth filling material and even into powdered self-curing acrylic for retainers. Other materials such as ink and scents such as peppermint and other flavors have been injection molded into orthodontic appliances.

    SUMMARY OF THE INVENTION

    The present invention contemplates the injection molding of fluoride into a human dentition appliance by supplying a charge of molding material or base material and admixing with the base material a charge of fluoridating material to form a pre-fluoridated mixture.

    The pre-fluoridated mixture is then melted at softening temperatures within a selected range to form a melt whereupon the melt is injected into a relative cool mold shaped to form a molding in the configuration of a human dentition appliance. It is also possible to form sheets of material to be re-heated and formed over a model of the teeth. It could also be formed by any molding method such as rotary molding or blow molding. The mold is then chilled sufficiently below its softening range so that the dentition appliance will hold its shape when ejected.

    By having a fluoridated material such as slow release fluoride forming a part of the appliance as a result of being injection molded directly into the material or being absorbed by or formed in the plastic, rubber, etc., the fluoride is brought into direct contact with the tooth surfaces that can most be in need of preventing decay. The released fluoride mixes with the saliva and remains in contact with tooth surfaces and especially can be worked in between the contacts to be absorbed by those areas of the teeth that most frequently decay. Children in remote areas of third world countries who use the appliance constructed in accordance with the method of the present invention frequently do not have fluoridated water or any other way of obtaining fluoridation protection at an early formative period.

    BRIEF DESCRIPTION OF THE DRAWINGS

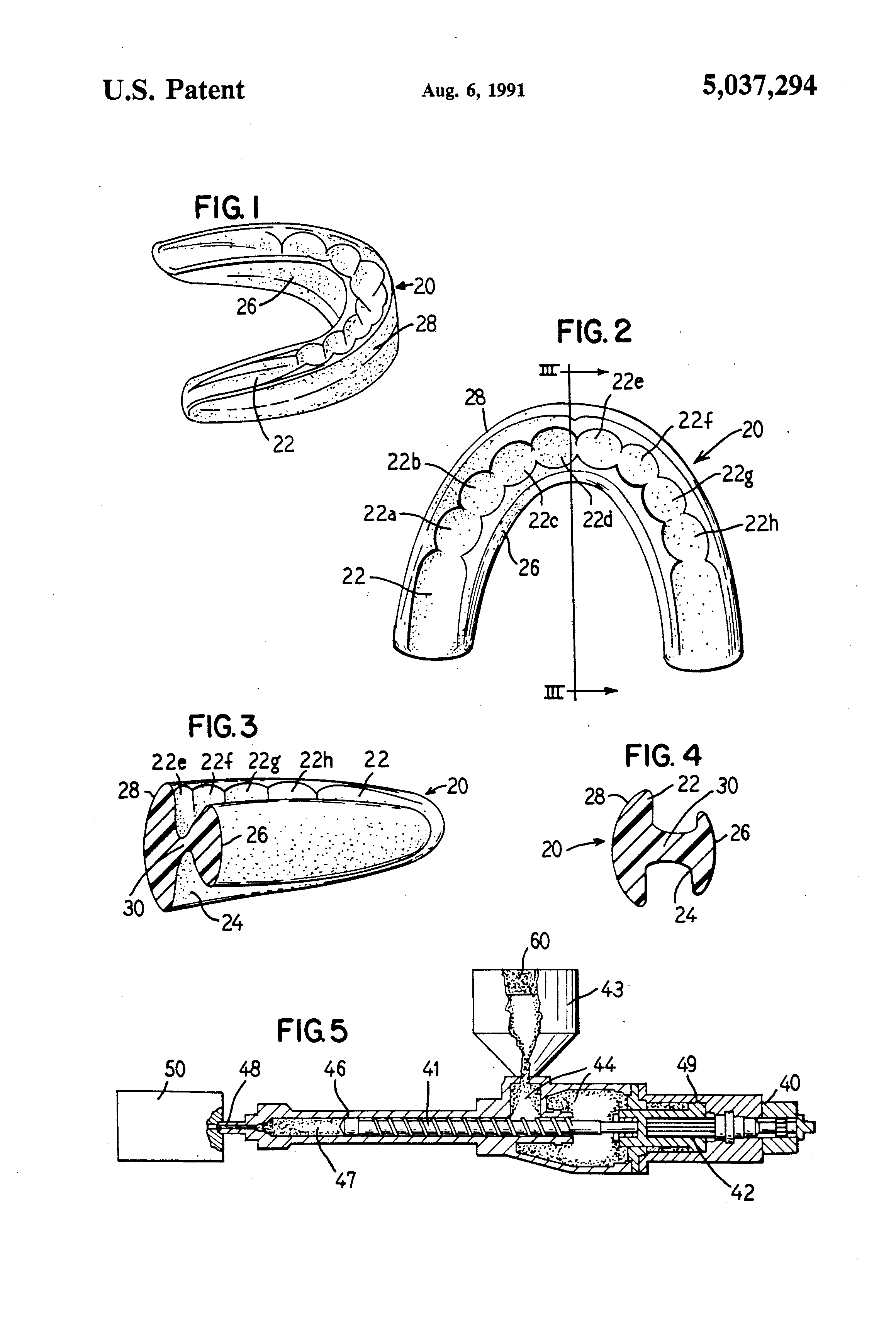
    FIG. 1 is a perspective view of a human dentition preformed and/or custom-made appliance constructed in accordance with the principles of the present invention;

    FIG. 2 is a top plan view of the appliance of FIG. 1;

    FIG. 3 is a view taken on line III--III of FIG. 2 and is partly in section and partly in elevation showing additional details of construction of the appliance;

    FIG. 4 is a fragmentary cross-sectional view of the appliance of FIGS. 1-3, but showing how the appliance embraces the teeth of a user;

    FIG. 5 is a somewhat schematic illustration of a reciprocating-screw injection molding unit which can be utilized to practice the steps of the herein disclosed invention.

    DESCRIPTION OF THE PREFERRED EMBODIMENTS

    While the principles of the present invention are applicable to all human dentition appliances, including preformed and/or custom-made appliances, it should be understood that I contemplate the term "appliances" to include anti-thumb sucking and pacifier-type devices. The invention is particularly related to dentition appliances which are injection molded from thermoplastic materials rather than from powdered self-curing acrylic. Thus, the dentition appliance illustrated in FIGS. 1-4 is one made by injection molding or heat forming of a sheet from a thermoplastic material which include the silicone resins, polyurethane resins, polyvinyl chloride, latex rubber, water blush polyvinyl chloride, polypropylene resins, and polyethylene resins and such other thermoplastic materials as lend themselves to injection molding and heat forming techniques in the fabrication of orthodontic appliances or human dentition appliances. Other molding processes using thermoplastic materials such as rotary molding and blow molding could also be used.

    The appliance shown by way of exemplifying the principles of the present invention is identified generally at 20 and is U-shaped in plan so as t o conform to the typical human mouth configuration and is generally H-shaped in cross-section providing an upper or superior tooth receiving trough 22 and a lower or inferior tooth receiving trough 24. The sides of the troughs 22 and 24 are bounded by a lingual flange 26 which covers the rear of the teeth of the upper and lower arch and a labial and buccal flange 28 which covers the front of the teeth of both arches.

    It will be understood that the positioner 20 can be made having only an upper trough 22 or a lower trough 24. It will further be understood that either or both of the troughs 22 and 24 may be provided with a plurality of tooth receiving depressions or sockets such as those shown in FIG. 2 at 22a, 22b, 22c, 22e, 22e, 22f, 22g and 22h.

    The upper portion of the lingual flange 26 secures the lingual cingulum areas of the upper anterior teeth and the lingual surfaces of the lingual cusps of the upper posterior teeth, and covers a portion of the upper lingual gingival area. The lower portion of the lingual flange 26 generally embraces the cingulum area of the lower anterior teeth and lingual surface of the lingual cusps of the lower posterior teeth and also extends over a portion of the lower lingual gingival tissue.

    The lower labial and buccal flange 28 covers the labial and buccal surfaces of the lower anterior and posterior teeth and also extends over a portion of the lower labial and buccal gingival tissue while the upper portion of the labial and buccal flange 28 covers the entire labial and buccal surfaces of the upper anterior and posterior teeth and also embraces a small portion of the upper gingival tissue.

    The various pockets such as 22a through 22h in the appliance are made so that the teeth are snugly embraced. There is an isthmus 30 which joins the lingual and buccal or labial halves of the appliance and is generally formed to resemble the normal relaxed clearance between the teeth, thereby enabling all of the occlusal and incisal surfaces of the teeth to be in contact with the appliance at any one time when occlusal pressure is applied.

    Variations in the shape and thickness of the isthmus 30 and the pockets 22a-22h inclusive are illustrated by comparing the cross-sectional portions of FIGS. 3 and 4.

    The present invention is particularly directed to an injection molding process. Generally, injection molding is a process that converts small pellets of thermoplastic resins called molding powders, into shaped articles, in this instance a dentition appliance adapted to be used with deciduous dentition or mixed dentition or permanent dentition. As noted, it would also be possible to form into sheets that can then be reformed over models of teeth.

    Since most injection machines are made to work with molds that part in a single plane when opening, the articles are designed to be conveniently ejected from such molds.

    Although equally applicable to custom-made or heat-vacuum processes, the injection molding process follows the principal steps, namely, the feed pellets or molding powders are selected so they can be melted. Further, as contemplated in most injection molding methods, the melt is injected into a relatively cool mold and the molding is chilled sufficiently below its softening range so that it will retain its shape when ejected.

    For many years, resin was melted in injection machines by being rammed through a heated cylinder with a metal core called a torpedo. Eventually it was realized that conduction heating is not only slow, but also burns the plastic. Accordingly, many injection molding machines today use the screw-plasticating principle borrowed from the extruder art and adapted the same to injection molding. For purposes of illustration, such a machine is shown in FIG. 5 of the drawings. Thus, there is a hydraulic motor shown at 40 which rotatively drives a screw 41 through a spline 42. A hopper 43 feeds material into a melt chamber 44. A non-return valve is shown at 46 and accumulated melt is received in a compartment identified at 47 having a nozzle 48 at the end thereof. An injection piston 49 is axially movable on the spline 42.

    In this machine, the screw 44 rotates rapidly for part of the molding cycle while the melt just previously injected into the chilled mold cools and freezes and the part is ejected. The mold is shown at 50 and it will be understood that the mold halves are configured to form the orthodontic or human dentition appliance 20.

    As the mold closes, screw rotation ceases and a hydraulic ram thrusts the screw forward to inject the collected melt into the waiting mold. As this occurs, the nozzle of the machine makes high pressure contact with the sprue bushing of the mold, sealing the connection.

    The injection molding machine of FIG. 5 is similar to the exemplary machine illustrated and described in the Modern Plastics Encyclopedia 1988 pages 7 and 8.

    In accordance with the principles of the present invention, it is contemplated that a base material of thermoplastic resin will be charged into the hopper 43, however, before accomplishing that charge, there is admixed with the base material a charge of fluoridating material to form a pre-fluoridated mixture.

    A typical fluoridating material is sodium fluoride, stannous fluoride, sodium monofluorophosphate, acidulated phosphate fluoride, amino fluoride, stannous chlorofluoride, potassium fluoride, magnesium fluoride, potassium trifluorostannite, stannous hexafluorozirconate, titanium fluoride, ammonium fluoride, fluoride glass ionomer or calcium fluoride or any other source of fluoride and/or tin. The fluoridating material is finely ground or in liquid state and is added to the base material in concentrations varying from 0.01 mg. to 200 mg. per milliliter or 0.01% to 70% by weight (0.02 to 10% F ion).

    The most typical type of fluoride that is heat stable is sodium fluoride, although calcium fluoride is generally recognized as more slow at releasing fluoride ions.

    Any form of plastic or rubber used in the mouth and moldable by injection molding or heat/suction methods would be suitable as a base material. Thus, beads or small pellets of thermoplastic resin, called molding powders, could include any thermoplastic material selected from the class of silicone resins, polyurethane resins, polyvinyl chloride, latex rubber, water blush polyvinyl chloride, polypropylene resins, polyethylene resins and any other plastic resins which are injection moldable to form human dentition appliances compatible with the human mouth.

    After the base material is admixed with a charge of powdered or liquid fluoridating material, the pre-fluoridated mixture is melted at softening temperatures within a range having an upper limit not exceeding the stability limits of the fluoridating material and at a lower limit sufficient to soften and plasticize the base material to form a melt.

    As shown in FIG. 5, the pre-fluoridated mixture is shown at 60 in the hopper and is melted in the chamber 44 of the injection molding apparatus.

    In accordance with the operation of the machine, the melt is accumulated in the melt chamber 47.

    In actual operation, it has been found that sodium fluoride is stable and retains its stability at temperatures up to 350° F. Moreover, most of the thermoplastic base materials referred to hereinabove and suitable for making orthodontic appliances plasticize or melt at temperatures in excess of 200°. Under the circumstances, it will be appreciated that the step of melting the pre-fluoridated mixture can be accomplished in accordance with this invention at temperatures within a range of 100° F. to 500° F.

    With the melt accumulated in chamber 47, it is then injected into the relatively cool mold 50 and which has molding recesses shaped to form a molding in the configuration of the orthodontic appliance or human dentition appliance 20 illustrated and described in connection with FIGS. 1-4.

    The molding is then chilled sufficiently below its softening range so that the appliance will hold its shape when ejected from the mold 50.

    Since children are oftentimes asked to wear a dentition appliance that is made of soft resilient plastic for from one to several hours each day, or perhaps all night, while sleeping, the present invention beneficially accomplishes a slow release of fluoride which leaches out of the appliance as it is worn. The fluoridating material is heat stabile so that as the child or user wears the appliance, the fluoride leaches out of the appliance and becomes mixed with fluids in the mouth, particularly within the area between the dentition appliance and the surfaces of the teeth.

    Since the buccal, labial, lingual and occlusal surfaces of the teeth come into direct contact with the appliance and the fluids of the mouth and remain for from 20 minutes to several hours each day, without being washed away by saliva, there exists an ideal climate to preventively fluoridate the teeth as the appliance is used, especially since the appliance is adjacent to the surfaces of the teeth.

    The principles of the present invention are particularly applicable to appliances or anti-thumb sucking and pacifier-type devices intended for use by children in remote areas of third world countries who use the appliance frequently, but do not have fluoridated water or any other way of obtaining fluoridation protection at an early formative period.

    Stannous (tin) compounds, especially with fluorides also have a bacteriostatic characteristic and lessen periodontal problems and plaque formation around teeth and by being squeezed in and around the gums will prevent periodontitis and its associated problems, particularly in slow release and long contact of fluoride and tin with tooth and gum areas.

    A recharge of fluoride and tin may be given to the appliance periodically or it can be an alternate method of delivery by soaking the appliance in the fluoride (and tin) compound. Certain areas of the appliance can also be soaked such as only around the tooth areas by placing the chemicals into the sockets and allowing them to be absorbed into the soluble-type (blush) plastic. In this way, the fluoride chemicals are mostly present at the tooth surface and not on the cheek surface so irritation on the cheeks is avoided. After several hours of soaking, the appliance is rinsed and dried and ready to be used in the mouth. Accelerated absorption of fluoride ion can be accelerated by giving the appliance a positive electrical charge when soaking and when placed in the mouth, the appliance can be reversed and given a negative charge while the body may receive a positive charge from simple batteries.

    Although various modifications might be suggested by those versed in the art, it should be understood that I wish to embody within the scope of the patent warranted hereon all such modifications as reasonably and properly come within the scope of my contribution to the art.

    Patent Citations
    Cited PatentFiling datePublication dateApplicantTitle
    US3848335 *Jan 25, 1974Nov 19, 1974Bergersen EOrthodontic appliance having cooperation detection capability
    US3939598 *Jan 23, 1975Feb 24, 1976Bergersen Earl OlafOrthodontic positioner with overbite or open bite correcting or relapse inhibiting capability
    US4044762 *Aug 23, 1976Aug 30, 1977Jacobs Alfred GAthletic mouthguard
    US4376628 *May 9, 1980Mar 15, 1983B.V. GabaDevice for treating teeth
    US4772325 *Apr 30, 1987Sep 20, 1988Kerr Manufacturing CompanyFluorine-containing dental materials
    US4784605 *Oct 13, 1987Nov 15, 1988Bergersen Earl OlafOrthodontic appliance to correct open-bite tendencies in children and adults and tongue-thrust in young children
    Non-Patent Citations
    Reference
    1"Continuous Fluoride Release from Removable Appliances" by Dr. Rainer R. Miethke and Dr. Heinrich Newseley, JCO/Aug. 1988, pp. 490-491, vol. XXII, No. 8.
    2"TP Laboratories, Inc." Brochure, 1974, Gingival Conditoner, Orthopedic Splint, Varsity Guard.
    3 *Continuous Fluoride Release from Removable Appliances by Dr. Rainer R. Miethke and Dr. Heinrich Newseley, JCO/Aug. 1988, pp. 490 491, vol. XXII, No. 8.
    4 *Modern Plastics Encyclopedia Issue 1956, pp. 592 593, Sep. 1956, vol. 34, No. 1A, Plastics Catalogue Corp., Bristol, CT.
    5Modern Plastics Encyclopedia Issue 1956, pp. 592-593, Sep. 1956, vol. 34, No. 1A, Plastics Catalogue Corp., Bristol, CT.
    6 *Modern Plastics Encyclopedia, 88, pp. 7 8, Oct. 1987, vol. 64, No. 10A, McGraw Hill, Inc., New York, NY.
    7Modern Plastics Encyclopedia, 88, pp. 7-8, Oct. 1987, vol. 64, No. 10A, McGraw-Hill, Inc., New York, NY.
    8 *TP Laboratories, Inc. Brochure, 1974, Gingival Conditoner, Orthopedic Splint, Varsity Guard.
    Referenced by
    Citing PatentFiling datePublication dateApplicantTitle
    US5876199 *Aug 28, 1997Mar 2, 1999Ortho-Tain, Inc.Appliance adapted to fit many mouth and tooth sizes for orthodontic correction and other uses
    US6626664Apr 11, 2000Sep 30, 2003Ortho-Tain, Inc.Self opening orthodontic appliance with opening assistance
    US7234933Jan 20, 2004Jun 26, 2007Ortho-Tain, Inc.Dental appliance and method for reducing an amount of patient cooperation
    US7294141Sep 18, 2003Nov 13, 2007Ortho-Tain, Inc.Pacifier, a system and a method for maintaining proper dentitions
    US7458810Sep 18, 2003Dec 2, 2008Bergersen Earl ODental appliance having an altered vertical thickness between an upper shell and a lower shell with an integrated hinging mechanism to attach an upper shell and a lower shell and a system and a method for treating malocclusions
    US7476347 *Apr 2, 2003Jan 13, 2009Dentsply International, Inc.Process for making denture having integral teeth and denture base
    US7566412 *Oct 16, 2003Jul 28, 2009Dentsply International Inc.Dental method and device
    US7963765Sep 18, 2003Jun 21, 2011Ortho-Tain, IncSystem of dental appliances having various sizes and types and a method for treating malocclusions of patients of various ages without adjustments or appointments
    US7975701Mar 28, 2007Jul 12, 2011Ortho-Tain, IncAppliance, system and method for correction habits of an oral cavity
    US8133050May 30, 2003Mar 13, 2012Ortho-Tain, IncDental appliance having a duplicated tooth area and/or a predicted tooth area and a method for correcting the position of the teeth of a patient
    US8716425 *Jul 29, 2005May 6, 2014Bay Materials, LlcMethod of reducing stress relaxation in polymer articles and articles formed thereby
    US8870566 *May 28, 2003Oct 28, 2014Ortho-Tain, Inc.Orthodontic appliance, a system and a method for automatically straightening teeth
    US20030224312 *May 28, 2003Dec 4, 2003Bergersen Earl O.Orthodontic appliance having tooth sockets based on actual and predicted sizes and shapes of teeth and tooth sockets or slots for more than one tooth molded in one or more materials together, a system and a method for automatically straightening teeth
    US20030224313 *May 30, 2003Dec 4, 2003Bergersen Earl O.Dental appliances having attachable upper and lower halves and systems and methods for treating malocclusions
    US20030224314 *May 30, 2003Dec 4, 2003Bergersen Earl O.Dental appliance having a duplicated tooth area and/or a predicted tooth area and a method for correcting the position of the teeth of a patient
    US20040058295 *Sep 18, 2003Mar 25, 2004Bergersen Earl O.System of dental appliances having various sizes and types and a method for treating malocclusions of patients of various ages without adjustments or appointments
    US20040059382 *Sep 18, 2003Mar 25, 2004Bergersen Earl O.Pacifier, a system and a method for maintaining proper dentitions
    US20040131561 *Mar 14, 2002Jul 8, 2004Mclaughlin GeraldStrips for treating teeth
    US20040152032 *Jan 20, 2004Aug 5, 2004Bergersen Earl O.Dental appliance and a system and a method for reducing an amount of patient cooperation to treat a malocclusion using the dental appliance
    US20060099546 *Oct 24, 2005May 11, 2006Bergersen Earl OUpper and a lower single preformed and/or customized appliance and a method for attaching the appliance to a first area of a dentition and moving teeth at a second area of the dentition
    US20070077533 *Nov 10, 2006Apr 5, 2007Mclaughlin GeraldStrips for treating teeth
    US20070240724 *Mar 28, 2007Oct 18, 2007Bergersen Earl OAppliance, system and method for correction habits of an oral cavity
    US20090306327 *Jul 29, 2005Dec 10, 2009Stewart Ray FMethod of reducing stress relaxation in polymer articles and articles formed thereby
    US20100129763 *Nov 24, 2008May 27, 2010Align Technology, Inc.Sequential sports guard
    US20140242535 *Feb 18, 2014Aug 28, 2014Orthoaccel Technologies Inc.Fluoride releasing bite plate
    US20140363781 *Aug 27, 2014Dec 11, 2014Christopher John FarrellOrthodontic Appliance
    WO2000069362A1 *May 12, 2000Nov 23, 2000Medwrap Corp.A passive delivery system using dental appliances
    WO2004026163A1 *Sep 19, 2003Apr 1, 2004Ortho-Tain, Inc.Dental appliances for treating malocclusions
    Classifications
    U.S. Classification433/6, 264/16, 433/215
    International ClassificationA61C13/00, A61C7/08, A61C13/20
    Cooperative ClassificationA61C13/206, A61C7/08, A61C13/0003
    European ClassificationA61C13/00C, A61C7/08
    Legal Events
    DateCodeEventDescription
    Sep 26, 1994FPAYFee payment
    Year of fee payment: 4
    Jan 25, 1999FPAYFee payment
    Year of fee payment: 8
    Nov 29, 2002FPAYFee payment
    Year of fee payment: 12
    Jun 5, 2003ASAssignment
    Owner name: ORTHO-TAIN, INC., PUERTO RICO
    Free format text: ASSIGNMENT OF ASSIGNORS INTEREST;ASSIGNOR:BERGERSEN, EARL O.;REEL/FRAME:014134/0248
    Effective date: 20020527