Account Options

  1. Sign in
    Screen reader users: click this link for accessible mode. Accessible mode has the same essential features but works better with your reader.

    Patents

    1. Advanced Patent Search
    Publication numberUS6099314 A
    Publication typeGrant
    Application numberUS 09/000,036
    PCT numberPCT/IL1996/000036
    Publication dateAug 8, 2000
    Filing dateJul 4, 1996
    Priority dateJul 21, 1995
    Fee statusPaid
    Also published asDE69626287D1, DE69626287T2, EP0840574A1, EP0840574B1, WO1997003622A1
    Publication number000036, 09000036, PCT/1996/36, PCT/IL/1996/000036, PCT/IL/1996/00036, PCT/IL/96/000036, PCT/IL/96/00036, PCT/IL1996/000036, PCT/IL1996/00036, PCT/IL1996000036, PCT/IL199600036, PCT/IL96/000036, PCT/IL96/00036, PCT/IL96000036, PCT/IL9600036, US 6099314 A, US 6099314A, US-A-6099314, US6099314 A, US6099314A
    InventorsAvi Kopelman, Eldad Taub
    Original AssigneeCadent Ltd.
    Export CitationBiBTeX, EndNote, RefMan
    External Links: USPTO, USPTO Assignment, Espacenet
    Method and system for acquiring three-dimensional teeth image
    US 6099314 A
    Abstract
    A method of obtaining a dental image, such as a three-dimensional image of teeth, providing a three-dimensional physical teeth model. The three-dimensional physical teeth model can be either: a negative teeth model that includes a matrix with a plurality of cavities or recesses, each corresponding to a tooth; or a positive teeth model, that includes a matrix with a plurality of projections or bulges, each corresponding to a tooth. The method also includes removing a portion of the model in a controlled, step-wise manner, and in each step acquiring an optical image of the model or of its removed portion, digitizing each of the optical images in order to obtain a plurality of digital images, and compiling the plurality of digital images to obtain a three-dimensional digital dental image.
    Images(19)
    Previous page
    Next page
    Claims(2)
    What is claimed is:
    1. A method for obtaining a dental image which comprises:
    (a) providing a negative teeth model, of substantially all teeth of a jaw, comprising a matrix with a plurality of cavities or recesses with boundaries corresponding to boundaries of the teeth; the negative teeth model being held by a firm matrix retainer made of a substance which can be cut by a cutting tool which can cut the matrix;
    (b) removing a layer portion off a face of choice, the face of choice being a face of the teeth model corresponding to the teeth apex or the teeth base, the layer being removed by said cutting tool so as to obtain a flat, surface, and acquiring a first, two-dimensional digital image of the flat surface or of the removed portion;
    (c) removing another layer portion off the chosen face so as to obtain a new, flat surface and acquire a consecutive two-dimensional digital image of the new flat surface or of the removed portion;
    (d) repeating step (c) a plurality of times until removal of sufficient layer portions of the teeth model to allow the obtaining of a dental image;
    (e) determining boundaries of the cavities or recesses in the case of the negative teeth model in the first image and in each of the consecutive images to obtain a plurality of boundaries representations of the first and subsequent images;
    (f) combining at least some of the boundaries' representations into a three-dimensional digital dental image; and
    coloring the boundaries of the teeth of model with a contrasting color or filling the cavities or recesses with a colored curable substance.
    2. A method for obtaining a dental image which comprises:
    (a) providing a negative teeth model, of substantially all teeth of a jaw, comprising a matrix with a plurality of cavities or recesses with boundaries corresponding to boundaries of the teeth; the negative teeth model being held by a firm matrix retainer made of a substance which can be cut by a cutting tool which can cut the matrix;
    (b) removing a layer portion off a face of choice, the face of choice being a face of the teeth model corresponding to the teeth apex or the teeth base, the layer being removed by said cutting tool so as to obtain a flat, surface, and acquiring a first, two-dimensional digital image of the flat surface or of the removed portion;
    (c) removing another layer portion off the chosen face so as to obtain a new, flat surface and acquire a consecutive two-dimensional digital image of the new flat surface or of the removed portion;
    (d) repeating step (c) a plurality of times until removal of sufficient layer portions of the teeth model to allow the obtaining of a dental image;
    (e) determining boundaries of the cavities or recesses in the case of the negative teeth model in the first image and in each of the consecutive images to obtain a plurality of boundaries representations of the first and subsequent images;
    (f) combining at least some of the boundaries' representations into a three-dimensional digital dental image; and
    filling the cavities with a substance having a contrasting color.
    Description
    FIELD AND BACKGROUND OF THE INVENTION

    The invention is generally in the field of dentistry and concerns a method and system for acquiring a three-dimensional image of teeth geometry. In the following, the term "dental image" will be used to denote an acquired three-dimensional teeth image.

    The term "partial dental image" will be used to denote an image of part of the teeth surface, e.g. an image of only the lingual surfaces of the teeth ("lingual image") or of only the buccal surfaces of the teeth ("buccal image"); the term "sectional dental image" will be used to denote an image of a section of the teeth, i.e. not including all the teeth.

    The obtaining of a dental image is of importance for various dental, and particularly orthodontic procedures in order to make treatment decisions, e.g. design braces, crowns or the like, and to allow monitoring of an orthodontal treatment. Typically, in accordance with existing methods, a teeth impression in an appropriate matrix is obtained and from that a positive, typically plaster, teeth model is prepared. Such a teeth model can be stored as such, it can be photographed, it can be scanned and stored digitally in a computer, etc. Scanning and digitizing a three-dimensional teeth image is a relatively complex procedure. Various methods have been proposed involving direct scanning of teeth by probes which forms part of an imaging system fixed to the skull, but such procedures cannot easily be practiced in widespread use.

    DE-A1-3810455, published on Oct. 5, 1989, discloses a system for acquiring a three-dimensional image of an irregular object, particularly teeth, which comprises an optic system consisting of an illuminator and an optical receiver, by scanning the teeth with the optic system, a three-dimensional image is obtained.

    U.S. Pat. No. 4,935,635 of Jan. 19, 1990, discloses a three-dimensional measuring system intended particularly for use in acquiring a three-dimensional teeth object. The system has a laser diode which projects a triangulating beam at the surface of the object to be mapped, the beam scanning repeatedly across the surface. By triangulation, the X-axis, or the depth information is obtained and by correlating a particular point with a position of the scanner along the scan line gives the Y-axis information, i.e. information on the width's direction. The scanner and diode are mounted on a slide or platform which move in a "Y" axis in and out the mouth, driven by a stepper motor, and the monitored position of the stepper motor is coordinated with the other information on each spot to yield X-axis information.

    Laurendeau, D., et al., IEEE Transactions on Medical Imaging, 10(3):453-461, New York, USA, 1991 discloses a computer vision technique for acquiring and processing of dental images. In accordance with this paper a standard three-dimensional teeth wax image is prepared and is optically scanned simultaneously in both sides whereby three-dimensional teeth image is obtained.

    U.S. Pat. No. 5,237,988 of Aug. 24, 1993 discloses a three dimensional correlation of images of dental arcades, making use of an impression in the occlusive position, providing a reference in the form of three mutually spaced reference points. Three-dimensional views are taken of the impression and the points and views are also taken with the impression removed. Using the images of the reference points as a basis, the sets of views are then correlated to bring them into a single reference system.

    EP-A1-634150 published on Jan. 18, 1995, discloses an aid for the production of a tooth or bridge. In accordance with this publication, a model is placed on a rotary holder and during rotation is scanned by an angled scanning device.

    GENERAL DESCRIPTION OF THE INVENTION

    It is an object of the invention to provide a novel method for acquiring a dental image.

    It is another object of the invention to provide a system for acquiring a dental image.

    It is furthermore an object of the invention to provide a tool for obtaining a teeth impression useful in the above method and system.

    In the following text, the term "teeth model" will be used to denote a physical, three-dimensional representation of teeth in a solid matrix. Such a model may be a "positive teeth model" comprising a teeth replica, namely a model where each tooth is represented by a projection or bulge having contours identical in size and shape to the corresponding tooth; or maybe a "negative teeth model" where each tooth is represented by a cavity or recess with contours identical in size but opposite in shape to the contours of the corresponding tooth.

    The present invention arises out of a novel and unique concept for obtaining a three-dimensional computerized teeth image. In accordance with the invention, a physical, three-dimensional teeth model is first prepared and is then subjected to a controlled destruction, proceeding in a step-wise manner, where in each step a portion of the model is removed. In each such step an image is taken of either the removed portion or of the remainder of the model, thus obtaining a plurality of sequential digital images. Then, by a proper combination of the sequential digital images, based, inter alia, on parameters relating to the relations between the different sequential images, a three-dimensional digital image of the teeth is then obtained.

    The invention provides, by a first of its aspects, a method for obtaining a dental image, being a three-dimensional image of teeth, the method comprising:

    (a) providing a three-dimensional physical teeth model, being either a negative teeth model comprising a matrix with a plurality of cavities or recesses, each corresponding to a tooth, or a positive teeth model, comprising a matrix with a plurality of projections or bulges, each corresponding to a tooth;

    (b) removing portions of the model in a controlled, step-wise manner, and in each step acquiring a step optical image of the model or of their removed portion, digitizing each of the step optical images to obtain a plurality of digital images; and

    (c) compiling the plurality of digital images to obtain a three-dimensional digital dental image.

    The present invention further provides a method for obtaining a dental image which comprises:

    (a) providing a physical teeth model, being either a negative teeth model comprising a matrix with a plurality of cavities or recesses with boundaries corresponding to boundaries of the teeth, or a positive teeth model comprising a matrix with a plurality of projections or bulges with boundaries corresponding to boundaries of the teeth;

    (b) removing a layer portion off a face of choice so as to obtain a flat, surface, and acquiring a first, two-dimensional digital image of the flat surface or of the removed portion;

    (c) removing another layer portion off the chosen face so as to obtain a new, flat surface and acquire a consecutive two-dimensional digital image of the new flat surface or of the removed portion;

    (d) repeating step (c) a plurality of times until removal of sufficient layer portions of the teeth model to allow the obtaining of a dental image;

    (e) determining boundaries of the cavities or recesses in the case of the negative teeth model or boundaries of the projections or bulges in the case of the positive tooth model in the first image and in each of the consecutive images to obtain a plurality of boundaries representations of the first and subsequent images;

    (f) combining at least some of the boundaries' representations into a three-dimensional digital dental image.

    In accordance with the invention, a negative teeth model comprising the teeth impression is first prepared by dentists, dental technicians, etc. A matrix in which a teeth impression is obtained will be referred to herein as "impression matrix". This negative teeth model may be used in the method as such, or may alternatively be used to prepare a positive teeth image. In accordance with the method of the present invention, use of a negative teeth model is currently a preferred embodiment, although use of a positive teeth model is also a feasible embodiment of the invention. In the following, the invention will in described primarily in relation to the use of a negative teeth model, although it will be appreciated by the artisan that in a similar manner, mutatis mutandis, the invention may also be practiced using a positive teeth model.

    After a teeth model is prepared, the model is first processed to obtain an initial flat surface on one of the faces of the model ("face of choice"). The face of choice may be the face corresponding to the teeth apex or the teeth base, i.e. having a horizontal orientation relative to the general orientation of the teeth model. The face of choice may also be vertical at one of the side, rear or front faces of the model and furthermore, may also have an intermediate orientation between either the aforementioned horizontal or vertical orientations of the model, namely, an oblique orientation.

    After acquiring a first image, a subsequent layer portion is removed and an image is acquired again. Typically, the portion which will be removed would be such that the subsequent exposed flat surface is parallel to the previous surface. However, this is not essential and it is possible by some embodiments of the invention, to process the model in a manner that consecutive exposed flat surfaces will have a slightly different, oblique orientation vis-vis one another.

    The images of the different flat surfaces will provide, for each such surface, the boundaries of the cavities or recesses or the boundaries of the projection or bulges, as the case may be. On the basis of known parameters relating to the thickness of each removed layer (and where each flat surface has a slightly different orientation than the previous one, also on the basis of known parameters regarding such change of orientation) and by computerized combination of consecutive images, an entire three-dimensional digital image of the teeth may be obtained.

    The process of removing a layer, acquiring an image of the obtained flat surface, etc. may be preceded to a depth so as to process the entire model in this way. However, at times, it may not be necessary to proceed to such a depth and the process may be terminated after sufficient layers have been removed. This may be the case, for example, where it is desired to model only the teeth apex or only the teeth base; or where the layer portion removal precedes from a side of the model, until a depth so as to cover entire teeth section has been reached, etc.

    In accordance with the above preferred embodiment (where the three-dimensional image is obtained by processing a negative teeth model), in order to allow better viewing the boundaries, the walls of the cavities or recesses which were impressed by the teeth in the impression matrix, may be colored by a contrasting color, or alternatively, the cavities and recesses may be filled by a dye or an appropriately colored curable substance (the color of the curable substance should be different than the color of the impression matrix so as to allow clear viewing of the boundaries). The curable substance, once cured, should preferably have essentially the same degree of hardness as the impression matrix.

    In accordance with another embodiment of the invention, rather than acquiring planar images of either the negative teeth model or of the positive teeth model, the slices may be carefully removed and an image of the slices is then acquired.

    The image acquired by the system may be a complete dental image or may be a partial dental image, e.g. a lingual image or a buccal image. Furthermore, the image acquired may also be a dental image of a teeth section, e.g. the upper right or upper left, or it may be an image of all teeth of the section in their entirety, or only a sectional image, etc.

    It should be noted that in order to obtain an accurate dental image, the layers removed in each step should be relatively thin, e.g. about 0.05-0.2 mm.

    As will be appreciated, step (e) in the above method (the second defined method) which is the step of boundary determination, can be performed either at essentially real time immediately after image acquisition or can be performed at a later time after acquiring all of the images.

    In accordance with another aspect of the present invention, there is provided a system for obtaining a dental image. The system comprises:

    (a) holders of a teeth model;

    (b) a cutting tool for removing successive thin slices of the matrix;

    (c) an imaging device for acquiring successive two-dimensional elevational images of either said matrix or of slices removed therefrom, and digitizing the acquired images;

    (d) a processor for combining a plurality of successive digitized acquired images into a three-dimensional digital dental image.

    In accordance with the present invention, use is preferably made with a novel tool for obtaining a teeth impression and for holding the matrix containing the teeth impression while slices are removed therefrom in said system. While the use of this tool within the framework of the above methods and system is a preferred embodiment of the methods and system, it also forms an independent aspect of the present invention. This tool comprises a matrix retainer having a recess for holding an impression matrix, the recess having a general shape allowing immersion of teeth or portions thereof in the impression matrix so as to form a negative teeth impression in the matrix, said matrix retainer being made of a substance which can be cut by a cutting tool capable of cutting the matrix. In accordance with one embodiment of the present invention, the tool in-its entirety, or at least the matrix retainer is made of a substance which can be cut by the cutting tool. Such a substance, may for example, be styrofoam (polystyene foam). In other embodiments, the tool comprises a rigid base with the matrix retainer being fixed on the base. Tools comprising a rigid base are useful where the step-wise layer portion removal is in an orientation which is parallel to the base.

    The matrix retainer may be designed to allow obtaining of a complete teeth impression. It is also possible to design the matrix retainer to obtain a partial teeth impression, e.g. an impression of only the lingual or only the buccal surfaces of the teeth. Furthermore, the matrix retainer may also be designed to obtain only a sectional dental impression.

    In accordance with an embodiment of the invention, the base holds two matrix retainers, fixed on opposite sides thereof, for simultaneously obtaining of a dental image of teeth of both the upper and the lower jaws.

    In the following, the invention will be illustrated with reference to some specific, non-limiting embodiments, with occasional reference to the annexed drawings.

    BRIEF DESCRIPTION OF THE DRAWINGS

    In the drawings:

    FIG. 1 is an isometric view of a tool in accordance with an embodiment of the invention, for obtaining a fill impression of the teeth of either the upper or lower jaw;

    FIG. 2 shows the tool of FIG. 1 containing an impression matrix with a teeth impression fixed therein;

    FIG. 3 is a plan view of the tool of FIG. 2;

    FIG. 4A is a schematic representation of the manner of slicing off horizontal layers from the block carried on the tool of FIG. 2;

    FIGS. 4B-4E are schematic representations of the manner of slicing off layers from the block in different orientation than that of FIG. 4A;

    FIG. 5 is an isometric view of a tool in accordance with another embodiment of the invention containing an impression matrix with a teeth impression fixed therein;

    FIG. 6 shows the acquired teeth contours;

    FIG. 7 is an isometric view of a tool in accordance with an embodiment of the invention for obtaining an impression of lingual teeth parts;

    FIG. 8 is an isometric view of a tool in accordance with an embodiment of the invention for obtaining an impression of buccal teeth parts;

    FIG. 9 is an isometric view of a tool in accordance with an embodiment of the invention useful for simultaneously obtaining of a negative impression of lingual surfaces of the teeth of both the upper and lower jaws;

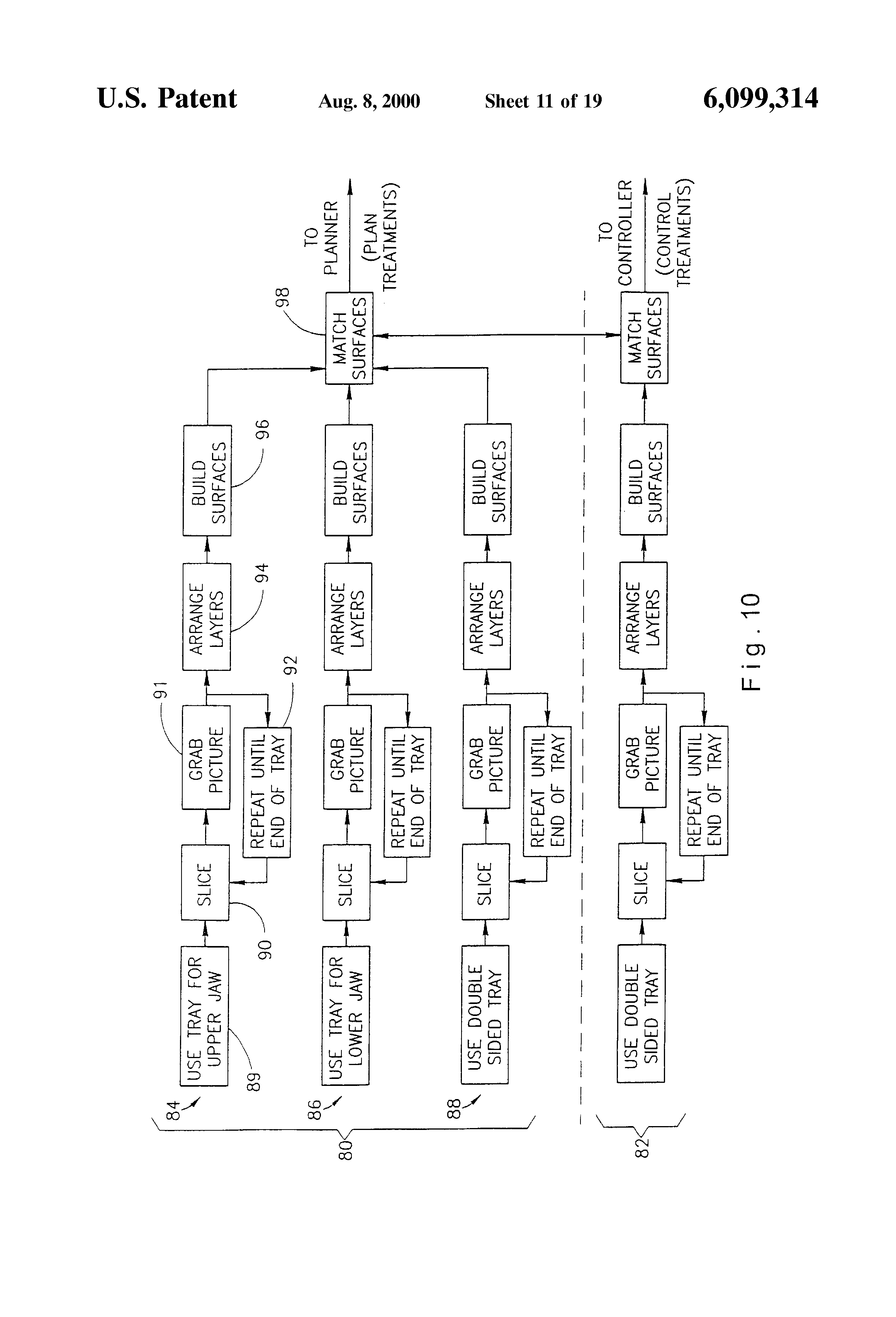
    FIG. 10 is a simplified block diagram of the sequence of operation in performance of the method in accordance with the invention;

    FIG. 11 is a simplifies isometric view of a system in accordance with an embodiment of the invention;

    FIGS. 12 and 13 are, respectively, side and front views of the device shown in FIG. 10;

    FIGS. 14A-E are schematic representations of general embodiments of tools for cutting off layers from teeth models in different orientations;

    FIG. 15 shows a typical block diagram for combining the two-dimensional acquired images to a three-dimensional dental image;

    FIG. 16A is a schematic representation of a tool in accordance with an embodiment of the invention which includes an alignment mechanism for alignment of acquired two-dimensional images;

    FIG. 16B is a separate view of the alignment mechanism that forms part the tool of FIG. 16A; and

    FIG. 17 shows a typical block diagram of the electrical control associated with the alignment mechanism.

    DESCRIPTION OF SPECIFIC EMBODIMENTS

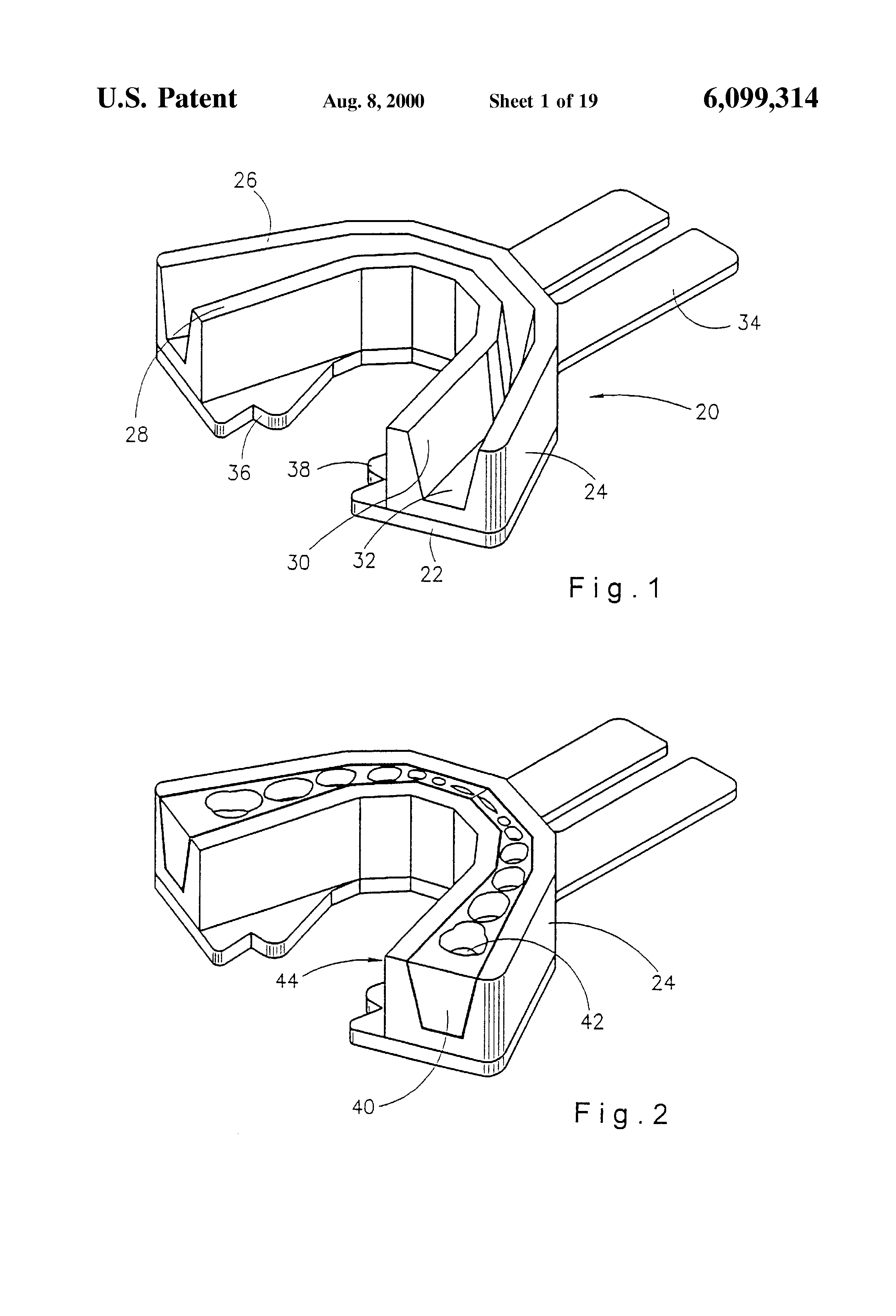
    Reference is first being made to FIG. 1 showing a tool 20 in accordance with an embodiment of the invention. Tool 20 has a general shape resembling trays used hitherto in the art for obtaining teeth images. Tool 20 comprises a base 22 which is made of a rigid material such as metal, plastic or the like, which holds a matrix retainer 24 and having an outer wall portion 26 and inner wall portion 28 defining between them a trough-like recess 30. Matrix retainer 24 has a general "C"-like shape which approximates the shape of the teeth arrangement in the jaw.

    Trough 30 has a shape allowing accommodation of all teeth in a jaw, in their entirety (when trough 30 is fitted over the teeth, the apex thereof will touch or be in close proximity to the bottom 32 of the matrix retainer, and the base of the teeth will be at about at the level of the upper surface of wall portions 26 and 28). The inner walls of recess 28 will typically have a rough or porous surface to allow firm attachment of the impression matrix thereto.

    As can also be seen in FIG. 1, base 22 has a rearward expanding, fork-like member 34, and two internally directed projections 36 and 38. Member 34 and projections 36 and 38 are employed to fasten tool 20 within a slice cutting and image acquisition device, such as that which will be shown below with reference to FIGS. 11-13.

    In order to obtain a negative teeth model, an impression matrix is placed in recess 32, the tool is inserted into the mouth and the teeth are immersed in the impression matrix. As can be seen in FIG. 2, after curing of the impression matrix 40, a plurality of cavities 42, each corresponding to teeth, are fixed in the matrix. Upon curing of the impression matrix, an essentially integral block 44 is formed consisting of matrix retainer 24 and cured impression matrix with the negative teeth model 40. As can be seen in FIG. 3, when this integral block 44 is viewed from above the contours 46 of the cavities can be clearly seen.

    In order to derive the teeth contours from the cured impression matrix, a chosen face of the matrix, which is typically the one corresponding to the teeth apex (it is possible, however, to choose also any other face of the matrix) is first levelled by removing a slice off this face to yield an essentially flat surface. An image is acquired, and then consecutive layers are sliced off, after each slicing an image is acquired again. The slicing operation, according to one embodiment, is shown schematically in FIG. 4A. Tool 20 with block 44 is placed in a plane and then moved in the X-direction, indicated by arrow 46, against blade 48. As will be appreciated, rather than moving tool 20, it is also possible to move blade 48 in the opposite direction. When tool 20 crosses the path of blade 48, the upper surface of tool 20 is leveled. At this stage, a first image can be acquired from the upper face of the block, and then tool 20 is moved upward by a small increment, e.g. 0.15 mm, as represented schematically by arrow 49, and then moved again towards blade 48 whereby a layer is sliced off from the upper surface and another image of a deeper layer of the matrix can be acquired, the image at this point corresponding to a level somewhat closer to the teeth apex.

    Here again, it can be appreciated that rather than elevating block 20, it is possible also to lower blade 48, in similar increments.

    In FIG. 4A, the layers which are sequentially removed from block 44 are horizontal, i.e. in an orientation corresponding to base 22. However, it is possible to slice off layers also in orientation other than horizontal and several non limiting examples can be seen in FIGS. 4B-4E. In FIG. 4B, the blade cuts a layer off the block in a slanted, off-horizontal orientation; in FIG. 4C, the cutting of slices off the block is in a downward slanted orientation; in FIG. 4D, the slicing of the block is with the blade positioned so as to remove different layers starting from one side of the block; and in FIG. 4E, the blade is oriented such that it cuts off vertical layers which are angled vis a vis the longitudinal axis (X-axis) of the block. It will be appreciated that in FIG. 4B-4E, also the base of the block will be eventually cut thus meaning that the base, in such embodiments, has to be made of a substance which can be cut by the blade. Against this, in FIG. A, where the slicing is in parallel to the base, the base can also be made from a hard substance, e.g., metal.

    FIG. 5 depicts a tool 50, (e.g. disposable impression tray made of styrofoam, commercially available from 3M unitek, U.S.A.) in accordance with another embodiment of the invention, tool 50 consists of a matrix retainer 51 and a handle 52 by which the tool can be held during preparing of the teeth impression 53 and during further processing as described above. The slicing operations using this tool is similar to that shown in FIG. 4A. For that purpose, tool 50 is placed on a block 54, e.g. by adhering the tool to the block, or placing it into a matching recess 55 adapted to slightly receive the bottom end of tool 50. Obviously block 54 is mechanically coupled, in a known per se manner, to table 104 (in FIG. 11--see below) or table 138 (in FIG. 16A--see below).

    Following image acquisition and, straightforward image processing, teeth contours such as those shown in FIG. 6, are obtained, and a plural of such contours are used to obtain a dental image.

    For various applications it is sufficient to obtain only a partial dental image, e.g. lingual image or buccal image. This is the case, for example, for monitoring of an orthodontal treatment, where usually the buccal face of the teeth is covered by braces, and accordingly it is possible to obtain an impression of only the other face. Furthermore, it is not always necessary to get a complete teeth impression and as teeth shape does not chance, in order to gain information on the teeth geometry and the relative teeth position, it is sufficient to obtain an impression of only the lingual on the buccal teeth faces.

    Reference is now being made to FIG. 7 showing a tool 56 suitable for obtaining a lingual teeth image. Tool 56 has a base 57, which is essentially the same as base 22 of tool 20 (FIG. 1). This tool differs however from tool 20 in matrix retainer 58 which in accordance with this embodiment has two unequal wall portions 59 and 60, external wall portion 59 being lower than internal wall portion 60. In use, impression matrix is placed within trough 62 and then the tool is placed in the mouth so that wall portion 60 presses against the lingual surfaces of the teeth.

    Tool 64 shown in FIG. 8, is similar in principle to tool 52 of FIG. 7 with the difference being that it is intended for obtaining an image only of the buccal teeth surfaces. External wall portion 66 is higher than internal wall portion 68 and in order to obtain a buccal image, a similar procedure to that used in connection with tool 52 is used here, mutatis mutandis.

    Reference is now being made to FIG. 9 which illustrates a tool for obtaining a teeth impression 70 having a base 72 with two opposite impression matrix retainers 74 and 76 fixed to the upper and lower faces of the base, respectively. Each of retainers 74 and 76 is essentially the same as retainer 56 of tool 52 shown in FIG. 7. Tool 70 in accordance with this embodiment is useful for obtaining simultaneously dental image of the lingual surfaces of both the upper and the lower jaws. It should be noted, however, that tool 70 is suitable for obtaining such simultaneous teeth impression where the teeth of the upper jaw and those of the lower jaw are essentially overlapping one another, or where there is only a slight shift between these two sets of teeth. In some individuals, there is a considerable distance between the two sets of teeth, and as the artisan can no doubt appreciate, it may at times be necessary to use an adjustable tool, where the matrix-holding member of the upper and the lower surfaces can be shifted one versus the other, to allow simultaneous accommodation of such shifted sets of teeth.

    In various orthodontic treatments, the aim is to change the position or orientation of the teeth. A tool such as tool 60 shown in FIG. 7 is particularly suitable to obtain an image of the initial position and to allow monitoring of the progress of treatment.

    FIG. 10 shows a simplified block diagram of a typical manner of carrying out the method of the invention. The upper portion 80 relates to first-time image acquisition; the lower portion 82 relates to a periodical follow-up. Upon first-time image acquisition, e.g. prior to the onset of orthodontal treatment, a full image of the upper jaw 84, of the lower jaw 86 and of the relative positions of the teeth, both rows simultaneously 88, is acquired (the two former images are acquired by the use of a tool such as that shown in FIG. 1; the latter image is acquired by the use of a tool such as that shown in FIG. 7). Each image acquisition follows essentially the same sequence of operation, and accordingly the entire image acquisition process will be described simultaneously for acquiring of all three images.

    Upon obtaining of a negative teeth model 89 by the use of the appropriate tool, the tool with the impression matrix having a teeth impression is placed in a device which is capable of cutting away thin slices from the matrix and acquiring a teeth impression image. The sequence begins by removing a slice 90 off the upper surface and then acquiring the first image 91. The sequence of slicing of an upper layer from the matrix block and acquiring an image is repeated, as represented by box 92, until sufficient layers have been removed. The individual images which have been acquired during the repeated steps 92, are then digitally processed 94 within a processor to allow for construction of a three-dimensional teeth image 96. The processor then combines the three individual images into one full dental image 98. The dental image thus obtained can then be used to plan the appropriate treatment, design braces for the individual, design bridges, crowns, shape of implants, etc.

    Within the framework of monitoring of the treatment progress, it is sufficient to acquire only the lingual surfaces of the teeth. The actual image provides information on the teeth position and orientation, and as-the teeth three-dimensional structure does not change, there is no actual need to obtain a complete teeth image. Thus, for a follow-up, a tool such as that shown in FIG. 7, may be used. The sequence of the image acquisition proceeding will be similar to that described above with respect to first-time image acquisition.

    Reference is now being made to FIGS. 11-13 showing a system in accordance with an embodiment of the invention, for acquiring a dental image. The system comprises a slicing image acquisition device 100 and a computer 102. Device 100 comprises table 104 having a stage 106 which holds an impression tool 108, which may be a tool such as that shown in FIGS. 1, 7, 8 and 9. Table 104 can reciprocate in a longitudinal (X) direction, represented schematically by means of arrow 110 in FIG. 9, this reciprocating movement being actuated by means of electric motor 112. The entire structure comprising table 104 is held on a table 113. Table 113 is supported having threaded portions (not shown) on four support members 114, each one of which is rotatable. The rotation of support members 114 is powered by electric step motor 116, which transfers the force to all support members by means of transmission belt 118. The rotation of each of support members 114, depending on the direction, will either elevate or lower table 113.

    Device 100 further comprises a rotatable blade 120 powered by spindle motor 122 and comprises a video camera 124 situated above tool 108 when table 104 is in its retracted position as shown in FIGS. 11 and 12.

    The operation of motors 112, 116 and 122 is controlled by computer 102, which is also linked to video camera 124 and thus receives and can then process image acquired thereby.

    After fastening tool 118 on to stage 116, and after optionally filling the impression cavities or recesses with a dye or applying color to the walls of the impression or cavity, a first image may be acquired by camera 124. The table 104 is then pushed forward whereby the upper surface of the block on tool 98 (the block including the matrix and the support member held on the tool) crosses the path of blade 120 and consequently an upper layer thereof is sliced off. Upon retraction of table 104 and bringing it back to the position shown in FIGS. 11 and 12, a second image may then be acquired by camera 124. Step motor 116 is then rotated and elevates table 112 by one predetermined step and then the sequence of slicing of an upper layer and acquiring an image is then repeated. The sequence is repeated, typically until the entire block has been sliced off. Then motor 116 lowers table 112 to the initial position whereby the sequence can then be repeated again with a new matrix holding tool.

    It should be noted that, rather than changing the relative vertical position of table 104 and blade 120, in a manner as described hereinbefore or in any other manner, it is also possible to stepwise lower blade 110.

    Device 100 in FIG. 11 makes use of a rotatable blade 120 but as will be appreciated by the artisan, a variety of other types of blades may also be used. Example of such blades can be seen in FIG. 14A-E. The blade in 14A is a turning blade with a straight edge similar to that used in device 110. The blade in FIG. 14B is a turning blade with a jagged edge; but in FIG. 14C it is an oscillating blade with straight edge; and in 14D is an oscillating blade with a jagged edge; the blade in FIG. 14E is a rotating band with a straight edge.

    Computerized techniques and algorithms for generating the geometry of three-dimensional object from consecutive two-dimensional representations of contours of the object at different latitudes, are generally known per se. See for example the following publication which is incorporated herein by reference: "Building, Visualizing, and Computing on Surfaces of Evolution", H. Harlyn Baker, SRI International, Jul. 1988, page 31.

    A typical, yet not exclusive algorithm which can be used in accordance with the invention for combining the consecutive contours into a three-dimensional teeth representation is shown in FIG. 15, which is self-explanatory for those skilled in the art in view of the aforementioned reference and the available knowledge.

    Regardless of the embodiment under consideration, in order to obtain an accurate constructed three dimensional image, it is, desired to ensure the alignment of consecutive acquired two-dimensional images, i.e. that they are not shifted one with respect to the other.

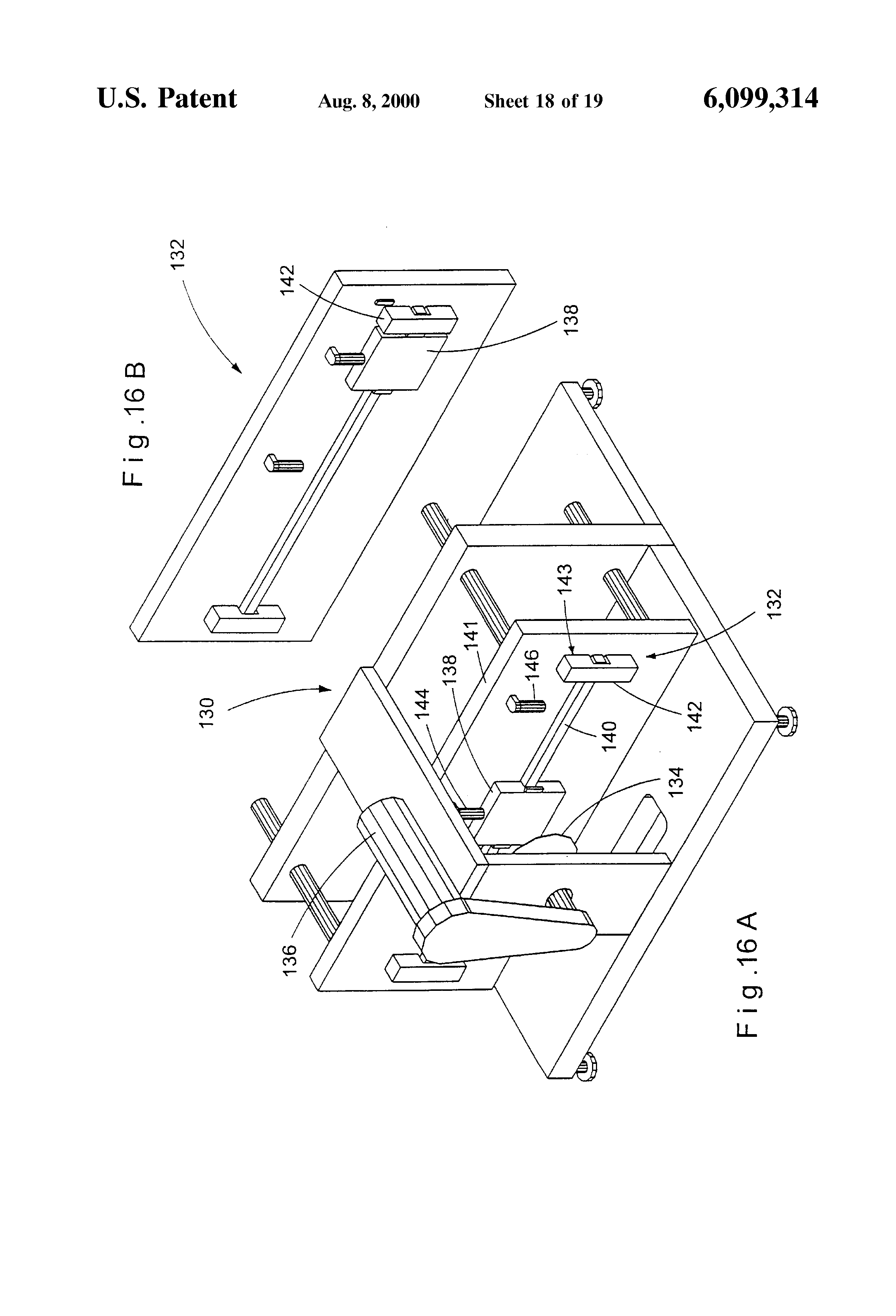
    Attention is now directed to FIG. 16A and 16B, showing a typical, yet not exclusive, example of a tool 130 which includes an alignment mechanism 132. For clarity, all the parts of tool 130 which are not essential for illustrating the alignment mechanism are removed. Nevertheless, it should be noted that tool 130 albeit drawn in a horizontal orientation, resembles to a large extent, the tool 100 shown in FIG. 11 which is drawn in vertical orientation.

    As shown, rotatable blade 134 is powered by motor 136. Table 138 is capable of reciprocating in a longitudinal X direction along sliding rod 140. Although not shown in FIG. 16A, table 138 carries a stage and the impression tool, e.g. of the kind indicated by reference numerals 106 and 108 in FIG. 11. As explained before after fastening the tool and the stage onto the table, and after optionally filling the impression cavities or recesses with a dye or applying color to the walls of the impression or cavity, a first image may be acquired by the video camera. Although not shown in FIG. 16A, the camera is situated opposite the table 138 when the latter is in the extreme right position, as depicted in FIG. 16B.

    Table 138 is then pushed forward whereby the upper surface of the block (the block including the matrix and the support member held on the tool--not shown) crosses the path of blade 134 and consequently an upper layer thereof is sliced off. Upon retraction of table 138 and bringing it back to the position shown in FIGS. 16B, a second image may then be acquired by the camera. The alignment mechanism assures that the second image is in alignment with the previous one.

    Turning now to the specific structure of the alignment mechanism, it includes a bumper 142, mounted on table 141, and having a flat lateral 143 face for stopping the motion of table 138 in the right direction. The table, in its extreme right position is pressed against the lateral face of the bumper thereby ensuring that the table is retained in a fixed and the same position during consecutive image acquisitions. Since, as recalled, the stage and the impression tool are firmly fastened to the table so as to eliminate any movement thereof relative to the table and further bearing in mind that the camera is secured in a fixed spatial position, it readily arises that any two consecutive acquired images are aligned one with respect to the other.

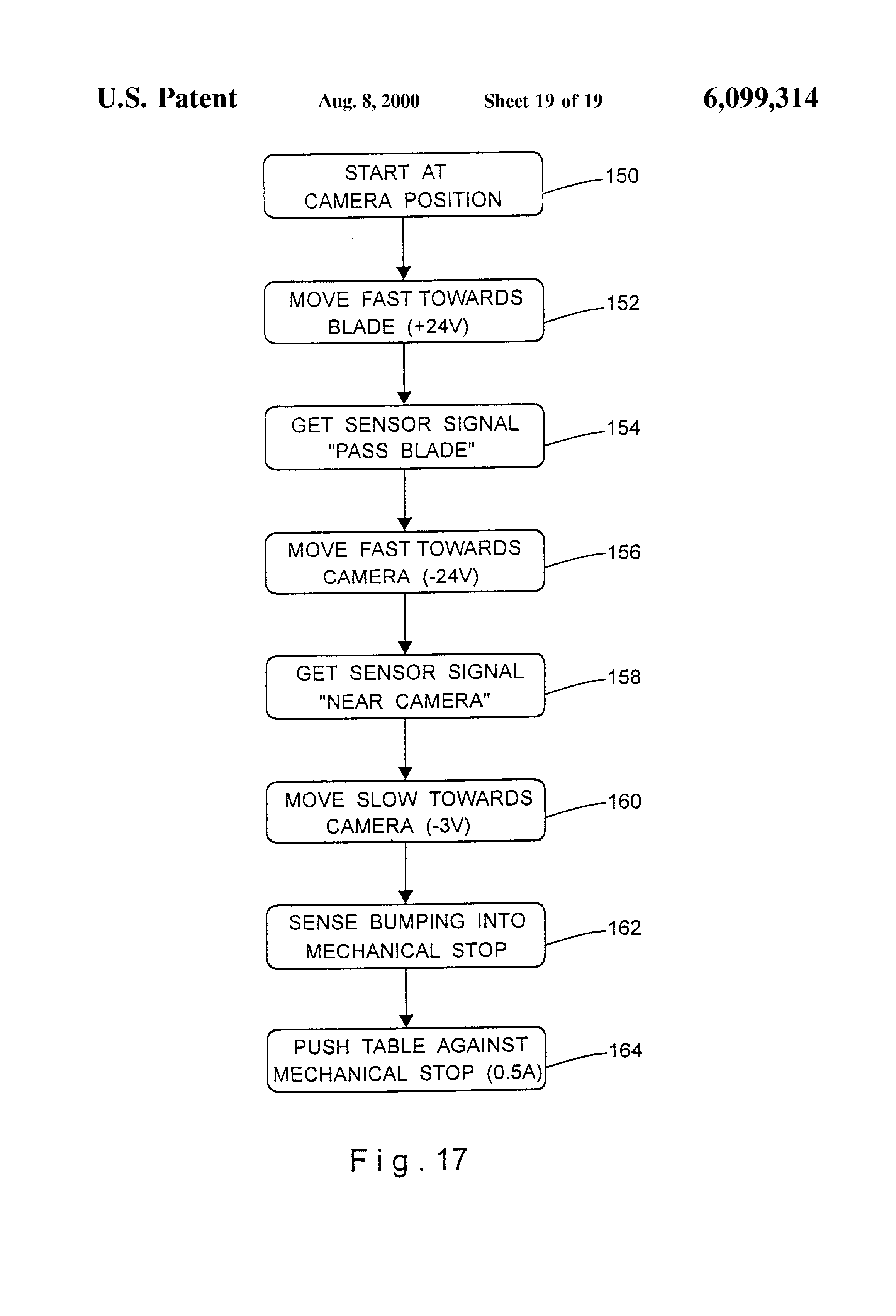
    The pertinent electrical control operations, which are known per se, are described generally with reference also to FIG. 17. Thus, and shown in step 150, a first image is acquired when the table is situated in the extreme right position (FIG. 16B). Having acquired the image, and as shown in step 152, the table 138 is moved fast along the sliding rod 140 towards the blade by applying high voltage (+24V) to the motor (not shown in FIG. 16A). As the table pass the blade and the upper layer of the impression is sliced off, the table approaches a sensor 144 that is fixedly attached to table 141 (e.g. a known per se and commercially available proximity switch) and cause the sensor to generate an electric signal indicative of a "pass blade" state (step 154). Preferably, responsive to the specified electrical signal, the table 138 is slightly lowered by means of step motor (not shown in FIG. 16A) in order to avoid undesired friction between the blade and the impression as the table moves fast in the opposite direction towards the camera. Having lowered the table, the polarity of the DC voltage that is applied to the motor is inverted (-24V) which results in fast movement of the table towards the camera (step 156). When the table 138 traverses sensor 146 which is also fixedly attached to table 141, the sensor (being, for example, the specified proximity switch) generates an appropriate electric signal indicative of a "near camera" state (step 158). Responsive to the generation of the electric signal, the DC voltage that is applied to the motor is attenuated (e.g. -3V) which results in a slower movement of the table towards bumper 143 (step 160). As the table bumps the stopper 141 the load on the motor spindle is increased which results in an increase in the electrical currency that is supplied to the motor. A suitable, known per se, control circuitry (not shown) senses the increase in currency (step 162) and limits the currency to e.g. 0.5A thereby ensuring an ongoing controlled pressure of the table 138 against the stopper 143 when the next image is acquired (step 164).

    Thereafter, the step motor (not shown in FIG. 16A) is rotated and elevates table 141 by a predetermined extent and then the sequence of slicing of an upper layer and acquiring an image is repeated, typically, until the entire block has been sliced off.

    Patent Citations
    Cited PatentFiling datePublication dateApplicantTitle
    US4445854 *Nov 19, 1981May 1, 1984Ivan BekeyApparatus for constructing registered teeth castings
    US4935635 *Dec 9, 1988Jun 19, 1990Harra Dale G OSystem for measuring objects in three dimensions
    US5018967 *Aug 15, 1990May 28, 1991Stephen SchwalbachDental fluoride applicator and method for using same
    US5237998 *Nov 17, 1989Aug 24, 1993Sopha Bioconcept S.A.Method of correlating the three-dimensional images of human organs and device for implementation of the method
    DE3810455A1 *Mar 26, 1988Oct 5, 1989Michael Dr RaduMethod and device for the contactless, three-dimensional measurement of an irregular body
    *DE14141311A Title not available
    EP0634150A1 *Jul 5, 1994Jan 18, 1995Nobelpharma ABProcess and device in connection with the production of a tooth, bridge, etc.
    WO1994024957A1 *Apr 27, 1993Nov 10, 1994Gerhard BrucknerTooth structure/arrangement data acquisition process, device and impression tray for carrying out the process
    Non-Patent Citations
    Reference
    1Laurendeau, Denis et al., "A Computer-Vision Technique for the Acquisition and Processing of 3-D Profiles of Dental Imprints: An Application in Orthodontics", IEEE Transactions on Medical Imaging , 10 (1991) Sep. No. 3, New York, 453-461.
    2 *Laurendeau, Denis et al., A Computer Vision Technique for the Acquisition and Processing of 3 D Profiles of Dental Imprints: An Application in Orthodontics , IEEE Transactions on Medical Imaging , 10 (1991) Sep. No. 3, New York, 453 461.
    Referenced by
    Citing PatentFiling datePublication dateApplicantTitle
    US6315553Nov 30, 1999Nov 13, 2001Orametrix, Inc.Method and apparatus for site treatment of an orthodontic patient
    US6318995Apr 28, 2000Nov 20, 2001Drametrix, Inc.Method and apparatus for bonding a bracket to a tooth
    US6350120Nov 30, 1999Feb 26, 2002Orametrix, Inc.Method and apparatus for designing an orthodontic apparatus to provide tooth movement
    US6413084Apr 28, 2000Jul 2, 2002Ora Metrix, Inc.Method and system of scanning
    US6431870Nov 30, 1999Aug 13, 2002Ora Metrix, Inc.Method and apparatus for generating a desired three-dimensional digital model of an orthodontic structure
    US6471512Nov 30, 1999Oct 29, 2002Ora Metrix, Inc.Method and apparatus for determining and monitoring orthodontic treatment
    US6512994Apr 28, 2000Jan 28, 2003Orametrix, Inc.Method and apparatus for producing a three-dimensional digital model of an orthodontic patient
    US6554613Apr 28, 2000Apr 29, 2003Ora Metrix, Inc.Method and apparatus for generating an orthodontic template that assists in placement of orthodontic apparatus
    US6582225 *Oct 11, 2000Jun 24, 2003Earl O. BergersenDental diagnosis and dispensing apparatus and a system and a method for providing same
    US6587828Nov 30, 1999Jul 1, 2003Ora Metrix, Inc.Method and apparatus for automated generation of a patient treatment plan
    US6648640Apr 13, 2001Nov 18, 2003Ora Metrix, Inc.Interactive orthodontic care system based on intra-oral scanning of teeth
    US6688885Apr 28, 2000Feb 10, 2004Orametrix, IncMethod and apparatus for treating an orthodontic patient
    US6728423Apr 28, 2000Apr 27, 2004Orametrix, Inc.System and method for mapping a surface
    US6736638Apr 28, 2000May 18, 2004Orametrix, Inc.Method and apparatus for orthodontic appliance optimization
    US6744914Apr 28, 2000Jun 1, 2004Orametrix, Inc.Method and system for generating a three-dimensional object
    US6744932Apr 28, 2000Jun 1, 2004Orametrix, Inc.System and method for mapping a surface
    US6767208 *Jan 10, 2002Jul 27, 2004Align Technology, Inc.System and method for positioning teeth
    US6771809Apr 28, 2000Aug 3, 2004Orametrix, Inc.Method and system for registering data
    US6851949Apr 28, 2000Feb 8, 2005Orametrix, Inc.Method and apparatus for generating a desired three-dimensional digital model of an orthodontic structure
    US6918761Apr 14, 2003Jul 19, 2005Orametrix, Inc.Method and apparatus for generating an orthodontic template that assists in placement of orthodontic apparatus
    US6957118Apr 1, 2004Oct 18, 2005Cadent Ltd.Method and system for fabricating a dental coping, and a coping fabricated thereby
    US7003472Jun 27, 2003Feb 21, 2006Orametrix, Inc.Method and apparatus for automated generation of a patient treatment plan
    US7004754Jul 23, 2003Feb 28, 2006Orametrix, Inc.Automatic crown and gingiva detection from three-dimensional virtual model of teeth
    US7027642Apr 13, 2001Apr 11, 2006Orametrix, Inc.Methods for registration of three-dimensional frames to create three-dimensional virtual models of objects
    US7029275Oct 24, 2002Apr 18, 2006Orametrix, Inc.Interactive orthodontic care system based on intra-oral scanning of teeth
    US7029279Oct 7, 2002Apr 18, 2006Mark SchomannProsthodontia system
    US7063532Mar 8, 1999Jun 20, 2006Align Technology, Inc.Subdividing a digital dentition model
    US7068836Apr 28, 2000Jun 27, 2006Orametrix, Inc.System and method for mapping a surface
    US7110594 *Mar 12, 2002Sep 19, 2006Align Technology, Inc.Manipulating a digital dentition model to form models of individual dentition components
    US7110844Aug 31, 2005Sep 19, 2006Cadent Ltd.Method and system for fabricating a dental prosthesis, and a prosthesis wax model
    US7142312Dec 30, 2003Nov 28, 2006D4D Technologies, LlcLaser digitizer system for dental applications
    US7156655Jul 14, 2003Jan 2, 2007Orametrix, Inc.Method and system for comprehensive evaluation of orthodontic treatment using unified workstation
    US7184150Mar 19, 2004Feb 27, 2007D4D Technologies, LlcLaser digitizer system for dental applications
    US7234937May 2, 2003Jun 26, 2007Orametrix, Inc.Unified workstation for virtual craniofacial diagnosis, treatment planning and therapeutics
    US7236842Dec 1, 2005Jun 26, 2007Cadent Ltd.System and method for manufacturing a dental prosthesis and a dental prosthesis manufactured thereby
    US7286954 *Mar 2, 2006Oct 23, 2007Cadent Ltd.System and method for scanning an intraoral cavity
    US7291011Oct 6, 2004Nov 6, 20073M Innovative Properties CompanyPlacing orthodontic objects along an archwire within a three-dimensional (3D) environment
    US7333874Feb 23, 2005Feb 19, 2008Cadent Ltd.Method and system for designing and producing dental prostheses and appliances
    US7342668Sep 17, 2004Mar 11, 2008D4D Technologies, LlcHigh speed multiple line three-dimensional digitalization
    US7343305 *May 2, 2002Mar 11, 2008University Of Florida Research Foundation, Inc.Method and system for recording carious lesions
    US7354268Oct 6, 2004Apr 8, 20083M Innovative Properties CompanyMovement of orthodontic objects along a virtual archwire within a three-dimensional (3D) environment
    US7355721May 5, 2004Apr 8, 2008D4D Technologies, LlcOptical coherence tomography imaging
    US7383094Aug 4, 2006Jun 3, 2008Cadent Ltd.Method for CNC milling a wax model of a dental prosthesis or coping
    US7422430 *May 17, 2004Sep 9, 2008Orametrix Inc.Method and apparatus for orthodontic appliance optimization
    US7433810Sep 23, 2003Oct 7, 2008Align Technology, Inc.Efficient data representation of teeth model
    US7471821May 1, 2002Dec 30, 2008Orametrix, Inc.Method and apparatus for registering a known digital object to scanned 3-D model
    US7530811 *Nov 2, 2005May 12, 2009Orametrix, Inc.Automatic crown and gingiva detection from the three-dimensional virtual model of teeth
    US7555403Feb 8, 2006Jun 30, 2009Cadent Ltd.Method for manipulating a dental virtual model, method for creating physical entities based on a dental virtual model thus manipulated, and dental models thus created
    US7689310Apr 6, 2007Mar 30, 2010Cadent Ltd.System and method for manufacturing a dental prosthesis and a dental prosthesis manufactured thereby
    US7717708May 2, 2003May 18, 2010Orametrix, Inc.Method and system for integrated orthodontic treatment planning using unified workstation
    US7734368Aug 6, 2008Jun 8, 2010Cadent Ltd.Method for manipulating a dental virtual model, method for creating physical entities based on a dental virtual model thus manipulated, and dental models thus created
    US7738989Jan 4, 2008Jun 15, 2010Cadent Ltd.Method and system for designing and producing dental prostheses and appliances
    US7813591Sep 3, 2006Oct 12, 20103M Innovative Properties CompanyVisual feedback of 3D scan parameters
    US7826646Jul 31, 2003Nov 2, 2010Align Technology, Inc.Systems and methods for removing gingiva from computer tooth models
    US7840042Sep 3, 2006Nov 23, 20103M Innovative Properties CompanySuperposition for visualization of three-dimensional data acquisition
    US7869983Nov 17, 2004Jan 11, 20113M Innovative Properties CompanyComputing final occlusion with respect to torque loss in a three-dimensional virtual orthodontic system
    US7874837Oct 31, 2007Jan 25, 2011Align Technology, Inc.Defining tooth-moving appliances computationally
    US7890290Aug 8, 2007Feb 15, 2011Cadent Ltd.System and method for scanning an intraoral cavity
    US7899221 *Mar 31, 2005Mar 1, 2011Institut Straumann AgDevices and methods for producing denture parts
    US7905725Oct 31, 2007Mar 15, 2011Align Technology, Inc.Clinician review of an orthodontic treatment plan and appliance
    US7912257Sep 3, 2006Mar 22, 20113M Innovative Properties CompanyReal time display of acquired 3D dental data
    US7940258Apr 10, 2006May 10, 20113M Innovative Properties CompanyAutomatic adjustment of an orthodontic bracket to a desired mesio-distal position within a three-dimensional (3D) environment
    US7940260May 16, 2006May 10, 20113M Innovative Properties CompanyThree-dimensional scan recovery
    US7996099Apr 25, 2008Aug 9, 2011Cadent Ltd.Method and system for fabricating a dental coping, and a coping fabricated thereby
    US8026943Feb 6, 2008Sep 27, 2011Institut Straumann AgSurface mapping and generating devices and methods for surface mapping and surface generation
    US8035637Jan 20, 2006Oct 11, 20113M Innovative Properties CompanyThree-dimensional scan recovery
    US8041439Dec 31, 2009Oct 18, 2011Cadent Ltd.Method for manipulating a dental virtual model, method for creating physical entities based on a dental virtual model thus manipulated, and dental models thus created
    US8047846Oct 31, 2007Nov 1, 2011Align Technology, Inc.Preventing interference between tooth models
    US8047847 *May 11, 2009Nov 1, 2011Ora Metrix, Inc.Automatic crown and gingiva detection from three-dimensional virtual model of teeth
    US8070487Oct 31, 2007Dec 6, 2011Align Technology, Inc.System and method for positioning teeth
    US8075306Jun 8, 2007Dec 13, 2011Align Technology, Inc.System and method for detecting deviations during the course of an orthodontic treatment to gradually reposition teeth
    US8145340May 28, 2010Mar 27, 2012Cadent Ltd.Method and system for designing and producing dental prostheses and appliances
    US8185224Jun 29, 2006May 22, 2012Biomet 3I, LlcMethod for manufacturing dental implant components
    US8206153May 5, 2008Jun 26, 2012Biomet 3I, Inc.Method for selecting implant components
    US8215956Feb 23, 2010Jul 10, 20123M Innovative Properties CompanyDental articulator with positioning key
    US8221121Jul 11, 2011Jul 17, 2012Biomet 3I, LlcMethod for pre-operative visualization of instrumentation used with a surgical guide for dental implant placement
    US8234000Jan 8, 2007Jul 31, 2012Nobel Biocare Services AgMethod and apparatus for obtaining data for a dental component and a physical dental model
    US8251699Dec 5, 2006Aug 28, 2012Brian C. ReisingOrthodontic bracket and method of attaching orthodontic brackets to teeth
    US8257083Feb 22, 2008Sep 4, 2012Biomet 3I, LlcMethods for placing an implant analog in a physical model of the patient's mouth
    US8262388Feb 23, 2010Sep 11, 20123M Innovative Properties CompanyLocal enforcement of accuracy in fabricated models
    US8303301Jan 22, 2003Nov 6, 2012Ortho-Tain, Inc.Dental diagnosis apparatus and a method for using the same
    US8326647Aug 3, 2009Dec 4, 2012Align Technology, Inc.Method and system for distributing patient referrals
    US8348665Dec 8, 2010Jan 8, 2013Align Technology, Inc.Activatable dental appliance
    US8359115Sep 7, 2011Jan 22, 2013Cadent Ltd.Method for manipulating a dental virtual model, method for creating physical entities based on a dental virtual model thus manipulated, and dental models thus created
    US8374714Feb 23, 2010Feb 12, 20133M Innovative Properties CompanyLocal enforcement of accuracy in fabricated models
    US8401686Dec 18, 2008Mar 19, 2013Align Technology, Inc.Reduced registration bonding template
    US8414296Jun 19, 2012Apr 9, 2013Biomet 3I, LlcMethod for pre-operative visualization of instrumentation used with a surgical guide for dental implant placement
    US8425229May 21, 2008Apr 23, 2013Nobel Biocare Services AgMethod and system for dental planning
    US8439672Dec 30, 2008May 14, 2013Align Technology, Inc.Method and system for optimizing dental aligner geometry
    US8454359May 31, 2012Jun 4, 2013Brian C. ReisingMethod of forming an orthodontic transfer tray
    US8469706Dec 8, 2010Jun 25, 2013Align Technology, Inc.Activatable dental appliance
    US8491306Aug 3, 2005Jul 23, 20133M Innovative Properties CompanyRegistering physical and virtual tooth structures with pedestals
    US8517727Jul 30, 2004Aug 27, 20133M Innovative Properties CompanyAutomatic adjustment of an orthodontic bracket to a desired occlusal height within a three-dimensional (3D) environment
    US8562338Jun 8, 2007Oct 22, 2013Align Technology, Inc.Treatment progress tracking and recalibration
    US8577493Feb 17, 2012Nov 5, 2013Align Technology, Inc.Method and system for designing and producing dental prostheses and appliances
    US8591225Dec 12, 2008Nov 26, 2013Align Technology, Inc.Tooth movement measurement by automatic impression matching
    US8602773Oct 18, 2007Dec 10, 2013Nobel Biocare Services AgDental impression tray for use in obtaining an impression of a dental structure
    US8606598Nov 8, 2012Dec 10, 2013Align Technology, Inc.Method and system for distributing patient referrals
    US8612037Apr 4, 2012Dec 17, 2013Biomet 3I, LlcMethod for manufacturing dental implant components
    US8636509Jan 9, 2008Jan 28, 2014Align Technology, Inc.Methods and systems for treating teeth
    US8636510Nov 10, 2011Jan 28, 2014Align Technology, Inc.System and method for detecting deviations during the course of an orthodontic treatment to gradually reposition teeth
    US8641414Oct 10, 2011Feb 4, 2014Align Technology, Inc.Automatic placement of precision cuts
    US8651858Apr 13, 2009Feb 18, 2014Biomet 3I, LlcMethod of creating an accurate bone and soft-tissue digital dental model
    US8651859Nov 11, 2010Feb 18, 2014Align Technology, Inc.System for determining final position of teeth
    US8690574Mar 22, 2011Apr 8, 2014Biomet 3I, LlcMethods for placing an implant analog in a physical model of the patient's mouth
    US8708697Dec 8, 2009Apr 29, 2014Align Technology, Inc.Tactile objects for orthodontics, systems and methods
    US8738340Feb 23, 2010May 27, 20143M Innovative Properties CompanyLocal enforcement of accuracy in fabricated models
    US8777612Nov 14, 2008Jul 15, 2014Biomet 3I, LlcComponents for use with a surgical guide for dental implant placement
    US8805563Dec 14, 2012Aug 12, 2014Cadent Ltd.Method for manipulating a dental virtual model, method for creating physical entities based on a dental virtual model thus manipulated, and dental models thus created
    US8855800Apr 4, 2012Oct 7, 2014Biomet 3I, LlcMethod for manufacturing dental implant components
    US8858226Sep 26, 2011Oct 14, 2014Align Technology, Inc.Systems and methods for varying elastic modulus appliances
    US8858227Sep 14, 2012Oct 14, 2014Align Technology, Inc.System and method for positioning teeth
    US8870574Oct 17, 2013Oct 28, 2014Biomet 3I, LlcMethod of creating an accurate bone and soft-tissue digital dental model
    US8882508Dec 6, 2011Nov 11, 2014Biomet 3I, LlcUniversal scanning member for use on dental implant and dental implant analogs
    US8888488Mar 6, 2013Nov 18, 2014Biomet 3I, LlcMethod for pre-operative visualization of instrumentation used with a surgical guide for dental implant placement
    US8899977Nov 26, 2008Dec 2, 2014Align Technology, Inc.Orthodontic repositioning appliances having improved geometry, methods and systems
    US8909363Mar 8, 2010Dec 9, 2014Align Technology, Inc.System and method for manufacturing a dental prosthesis and a dental prosthesis manufactured thereby
    US8922635Jul 7, 2011Dec 30, 2014Institut Straumann AgSurface mapping and generating devices and methods for surface mapping and surface generation
    US8926328Dec 27, 2012Jan 6, 2015Biomet 3I, LlcJigs for placing dental implant analogs in models and methods of doing the same
    US8930219Aug 11, 2009Jan 6, 2015Andrew TrosienTreatment analysis systems and methods
    US8936463Nov 24, 2008Jan 20, 2015Align Technology, Inc.Dental appliance with simulated teeth and method for making
    US8936464Feb 22, 2010Jan 20, 2015Cadent Ltd.Method, system and model for indirect bonding
    US8944816May 16, 2012Feb 3, 2015Biomet 3I, LlcTemporary abutment with combination of scanning features and provisionalization features
    US8944818May 16, 2012Feb 3, 2015Biomet 3I, LlcTemporary abutment with combination of scanning features and provisionalization features
    US8967999Jun 15, 2011Mar 3, 2015Biomet 3I, LlcComponents for use with a surgical guide for dental implant placement
    US8976176Feb 9, 2012Mar 10, 2015Samsung Electronics Co., Ltd.Apparatus and method for realistically expressing teeth
    US8982201Jul 7, 2011Mar 17, 2015Institut Straumann AgSurface mapping and generating devices and methods for surface mapping and surface generation
    US8998614Jul 20, 2012Apr 7, 2015Biomet 3I, LlcMethods for placing an implant analog in a physical model of the patient's mouth
    US9011146Jun 15, 2011Apr 21, 2015Biomet 3I, LlcComponents for use with a surgical guide for dental implant placement
    US9011149Sep 22, 2011Apr 21, 2015Align Technology, Inc.Preventing interference between tooth models
    US9022781Dec 3, 2012May 5, 2015Align Technology, Inc.Orthodontic appliances that accommodate incremental and continuous tooth movement, systems and methods
    US9060829Jun 8, 2007Jun 23, 2015Align Technology, Inc.Systems and method for management and delivery of orthodontic treatment
    US9069914Sep 14, 2012Jun 30, 2015Align Technology, Inc.Method and system for fabricating a wax model of a dental coping configured to fit a tooth preparation
    US9089380Jun 22, 2012Jul 28, 2015Biomet 3I, LlcMethod for selecting implant components
    US9089382Oct 18, 2012Jul 28, 2015Biomet 3I, LlcMethod and apparatus for recording spatial gingival soft tissue relationship to implant placement within alveolar bone for immediate-implant placement
    US9107722Apr 17, 2013Aug 18, 2015Align Technology, Inc.Method and system for optimizing dental aligner geometry
    US9108338Jul 19, 2011Aug 18, 2015Align Technology, Inc.Methods and systems for thermal forming an object
    US9108361Sep 19, 2014Aug 18, 2015Biomet 3I, LlcMethod for manufacturing dental implant components
    US9119691May 23, 2008Sep 1, 2015Align Technology, Inc.Orthodontic tooth movement device, systems and methods
    US9125709Jul 29, 2011Sep 8, 2015Align Technology, Inc.Systems and methods for tracking teeth movement during orthodontic treatment
    US9161823Nov 20, 2009Oct 20, 2015Align Technology, Inc.Orthodontic systems and methods including parametric attachments
    US9161824Feb 27, 2014Oct 20, 2015Align Technology, Inc.Computer automated development of an orthodontic treatment plan and appliance
    US9168113Nov 25, 2013Oct 27, 2015Align Technology, Inc.Tooth movement measurement by automatic impression matching
    US9204941Oct 17, 2013Dec 8, 2015Biomet 3I, LlcMethod of creating an accurate bone and soft-tissue digital dental model
    US9204942May 2, 2014Dec 8, 2015Align Technology, Inc.Systems and methods for fabricating a dental template
    US9208531May 22, 2012Dec 8, 20153M Innovative Properties CompanyDigital dentistry
    US9220579Oct 26, 2011Dec 29, 2015Align Technology, Inc.System and method for positioning teeth
    US9299192Jul 19, 2011Mar 29, 2016Align Technology, Inc.Methods and systems for creating and interacting with three dimensional virtual models
    US9326830Aug 12, 2011May 3, 2016Align Technology, Inc.Automated treatment staging for teeth
    US9333052Jan 12, 2015May 10, 2016Align Technology, Inc.Methods and systems for treating teeth
    US9351809Jun 6, 2014May 31, 2016Align Technology, Inc.Systems and methods for varying elastic modulus appliances
    US9364297Jan 10, 2014Jun 14, 2016Align Technology, Inc.System and method for detecting deviations during the course of an orthodontic treatment to gradually reposition teeth
    US9375298Feb 21, 2013Jun 28, 2016Align Technology, Inc.Dental models and related methods
    US9393087Aug 1, 2013Jul 19, 2016Align Technology, Inc.Methods and systems for generating color images
    US9404740Jun 30, 2015Aug 2, 2016Align Technology, Inc.Method and apparatus for colour imaging a three-dimensional structure
    US9408675Feb 1, 2011Aug 9, 2016Align Technology, Inc.Systems and methods for improved engagement between aligners and teeth
    US9408679Jul 2, 2009Aug 9, 2016Align Technology, Inc.Method, apparatus and system for use in dental procedures
    US9427916Apr 8, 2011Aug 30, 2016Align Technology, Inc.Method for preparing a physical plaster model
    US9433477Jan 6, 2014Sep 6, 2016Align Technology, Inc.Automatic placement of precision cuts
    US9433479Nov 3, 2015Sep 6, 2016Align Technology, Inc.Systems and methods for fabricating a dental template
    US9439608Apr 18, 2008Sep 13, 2016Medicim NvMethod for deriving shape information
    US9452032Jun 27, 2013Sep 27, 2016Biomet 3I, LlcSoft tissue preservation temporary (shell) immediate-implant abutment with biological active surface
    US9474588Jun 24, 2015Oct 25, 2016Biomet 3I, LlcMethod and apparatus for recording spatial gingival soft tissue relationship to implant placement within alveolar bone for immediate-implant placement
    US9536020Mar 9, 2015Jan 3, 2017Align Technology, Inc.Preventing interference between tooth models
    US9539071Oct 23, 2013Jan 10, 2017Align Technology, Inc.Method and system for designing and producing dental prostheses and appliances
    US9545296Aug 4, 2014Jan 17, 2017Stephen R HansenDigital face bow system and method
    US9549794Oct 13, 2015Jan 24, 2017Align Technology, Inc.Method for manipulating a dental virtual model, method for creating physical entities based on a dental virtual model thus manipulated, and dental models thus created
    US9592103May 26, 2016Mar 14, 2017Align Technology, Inc.Virtual orthodontic treatment
    US9597164Mar 12, 2014Mar 21, 2017Align Technology, Inc.Tactile objects for orthodontics, systems and methods
    US9597165Dec 11, 2014Mar 21, 2017Align Technology, Inc.Method, system and model for indirect bonding
    US9615901Jun 18, 2015Apr 11, 2017Align Technology, Inc.Method and apparatus for imaging three-dimensional structure
    US9651419May 29, 2013May 16, 2017Align Technology, Inc.Speckle reduction method and apparatus
    US9655691May 14, 2012May 23, 2017Align Technology, Inc.Multilayer dental appliances and related methods and systems
    US9655693Apr 18, 2016May 23, 2017Align Technology, Inc.Multilayer dental appliances and related methods and systems
    US9660418Aug 27, 2014May 23, 2017Align Technology, Inc.VCSEL based low coherence emitter for confocal 3D scanner
    US9662185Sep 30, 2014May 30, 2017Biomet 3I, LlcUniversal scanning member for use on dental implant and dental implant analogs
    US9668829Mar 6, 2013Jun 6, 2017Align Technology, Inc.Methods and systems for dental procedures
    US9668834Dec 4, 2014Jun 6, 2017Biomet 3I, LlcDental system for developing custom prostheses through scanning of coded members
    US9675305Jun 3, 2014Jun 13, 2017Ortho-TainSystem and method for determining an orthodontic diagnostic analysis of a patient
    US9675429Dec 28, 2015Jun 13, 2017Align Technology, Inc.Confocal surface topography measurement with fixed focal positions
    US9683835Dec 29, 2010Jun 20, 2017Align Technology, Inc.System and method for scanning an intraoral cavity
    US9693839Jul 17, 2014Jul 4, 2017Align Technology, Inc.Probe head and apparatus for intraoral confocal imaging using polarization-retarding coatings
    US9700390Aug 22, 2014Jul 11, 2017Biomet 3I, LlcSoft-tissue preservation arrangement and method
    US9707054Dec 22, 2015Jul 18, 2017Align Technology, Inc.System for determining final position of teeth
    US20010002310 *Dec 21, 2000May 31, 2001Align Technology, Inc.Clinician review of an orthodontic treatment plan and appliance
    US20020006217 *Apr 13, 2001Jan 17, 2002Orametrix, Inc.Methods for registration of three-dimensional frames to create three-dimensional virtual models of objects
    US20020102009 *Mar 12, 2002Aug 1, 2002Align Technology, Inc.Manipulating a digital dentition model to form models of individual dentition components
    US20020178032 *May 2, 2002Nov 28, 2002Benn Douglas K.Method and system for recording carious lesions
    US20030021453 *May 1, 2002Jan 30, 2003Thomas WeiseMethod and apparatus for registering a known digital object to scanned 3-D model
    US20030039389 *Oct 15, 2002Feb 27, 2003Align Technology, Inc.Manipulating a digital dentition model to form models of individual dentition components
    US20030096210 *Oct 24, 2002May 22, 2003Orametrix, Inc.Interactive orthodontic care system based on intra-oral scanning of teeth
    US20030129565 *Jan 10, 2002Jul 10, 2003Align Technolgy, Inc.System and method for positioning teeth
    US20030138752 *Jan 22, 2003Jul 24, 2003Bergersen Earl O.Dental diagnosis apparatus and a method for using the same
    US20030194677 *Apr 14, 2003Oct 16, 2003Orametrix, Inc.Method and apparatus for generating an orthodontic template that assists in placement of orthodontic apparatus
    US20040002873 *Jun 27, 2003Jan 1, 2004Orametrix, Inc.Method and apparatus for automated generation of a patient treatment plan
    US20040015327 *May 2, 2003Jan 22, 2004Orametrix, Inc.Unified workstation for virtual craniofacial diagnosis, treatment planning and therapeutics
    US20040029068 *May 2, 2003Feb 12, 2004Orametrix, Inc.Method and system for integrated orthodontic treatment planning using unified workstation
    US20040067465 *Oct 7, 2002Apr 8, 2004Mark SchomannProsthodontia system
    US20040172150 *Dec 15, 2003Sep 2, 2004Jean-Marc PerotSystem and method for virtual articulator
    US20040175671 *Mar 15, 2004Sep 9, 2004Align Technology, Inc.Subdividing a digital dentition model
    US20040197727 *Jul 14, 2003Oct 7, 2004Orametrix, Inc.Method and system for comprehensive evaluation of orthodontic treatment using unified workstation
    US20040204787 *Apr 1, 2004Oct 14, 2004Avi KopelmanMethod and system for fabricating a dental coping, and a coping fabricated thereby
    US20040214129 *May 17, 2004Oct 28, 2004Rohit SachdevaMethod and apparatus for orthodontic appliance optimization
    US20050019732 *Jul 23, 2003Jan 27, 2005Orametrix, Inc.Automatic crown and gingiva detection from three-dimensional virtual model of teeth
    US20050020910 *Apr 30, 2004Jan 27, 2005Henley QuadlingIntra-oral imaging system
    US20050024646 *May 5, 2004Feb 3, 2005Mark QuadlingOptical coherence tomography imaging
    US20050038669 *May 2, 2003Feb 17, 2005Orametrix, Inc.Interactive unified workstation for benchmarking and care planning
    US20050099638 *Sep 17, 2004May 12, 2005Mark QuadlingHigh speed multiple line three-dimensional digitization
    US20050186540 *Feb 23, 2005Aug 25, 2005Eldad TaubMethod and system for designing and producing dental prostheses and appliances
    US20050214716 *Mar 31, 2005Sep 29, 2005Willytech GmbhDevices and methods for producing denture parts
    US20060004477 *Aug 31, 2005Jan 5, 2006Cadent Ltd.Method and system for fabricating a dental coping, and a coping fabricated thereby
    US20060024637 *Jul 30, 2004Feb 2, 20063M Innovative Properties CompanyAutomatic adjustment of an orthodontic bracket to a desired occlusal height within a three-dimensional (3D) environment
    US20060073435 *Oct 6, 2004Apr 6, 20063M Innovative Properties CompanyPlacing orthodontic objects along an archwire within a three-dimensional (3D) environment
    US20060073436 *Oct 6, 2004Apr 6, 20063M Innovative Properties CompanyMovement of orthodontic objects along a virtual archwire within a three-dimensional (3D) environment
    US20060105286 *Nov 17, 2004May 18, 20063M Innovative Properties CompanyComputing final occlusion with respect to torque loss in a three-dimensional virtual orthodontic system
    US20060122719 *Dec 1, 2005Jun 8, 2006Avi KopelmanSystem and method for manufacturing a dental prosthesis and a dental prosthesis manufactured thereby
    US20060127836 *Dec 14, 2004Jun 15, 2006Huafeng WenTooth movement tracking system
    US20060127852 *Dec 14, 2004Jun 15, 2006Huafeng WenImage based orthodontic treatment viewing system
    US20060127854 *Dec 14, 2004Jun 15, 2006Huafeng WenImage based dentition record digitization
    US20060134581 *Nov 2, 2005Jun 22, 2006Orametrix, Inc.Automatic crown and gingiva detection from three-dimensional virtual model of teeth
    US20060212260 *Mar 2, 2006Sep 21, 2006Cadent Ltd.System and method for scanning an intraoral cavity
    US20060271229 *Aug 4, 2006Nov 30, 2006Cadent, Ltd.Method and system for fabricating a dental coping, and a coping fabricated thereby
    US20070003900 *Jul 2, 2005Jan 4, 2007Miller Ross JSystems and methods for providing orthodontic outcome evaluation
    US20070015111 *Feb 8, 2006Jan 18, 2007Avi KopelmanMethod for manipulating a dental virtual model, method for creating physical entities based on a dental virtual model thus manipulated, and dental models thus created
    US20070031790 *Aug 3, 2005Feb 8, 20073M Innovative Properties CompanyRegistering physical and virtual tooth structures with pedestals
    US20070072145 *Nov 8, 2006Mar 29, 2007Cadent Ltd.Method and system for assessing the outcome of an orthodontic treatment
    US20070141525 *Dec 16, 2005Jun 21, 2007Cinader Jr David KRegistering banded appliances for digital orthodontics treatment planning
    US20070141534 *Oct 2, 2006Jun 21, 2007Huafeng WenImage-based orthodontic treatment viewing system
    US20070171220 *May 16, 2006Jul 26, 2007Kriveshko Ilya AThree-dimensional scan recovery
    US20070172101 *Sep 3, 2006Jul 26, 2007Kriveshko Ilya ASuperposition for visualization of three-dimensional data acquisition
    US20070172112 *Sep 3, 2006Jul 26, 2007Paley Eric BVisual feedback of 3d scan parameters
    US20070203663 *Apr 27, 2007Aug 30, 2007Cadent Ltd.System and method for scanning an intraoral cavity
    US20070233299 *Apr 6, 2007Oct 4, 2007Cadent Ltd.System and method for manufacturing a dental prosthesis and a dental prosthesis manufactured thereby
    US20070236494 *Jan 20, 2006Oct 11, 2007Kriveshko Ilya AThree-dimensional scan recovery
    US20070238064 *Apr 10, 2006Oct 11, 20073M Innovative Properties CompanyAutomatic adjustment of an orthodontic bracket to a desired mesio-distal position within a three-dimensional (3d) environment
    US20080038688 *Aug 8, 2007Feb 14, 2008Cadent Ltd.System and method for scanning an intraoral cavity
    US20080050692 *Aug 21, 2007Feb 28, 2008Jack Keith HilliardSystem and method for fabricating orthodontic aligners
    US20080131833 *Feb 6, 2008Jun 5, 2008Gerhard WeberSurface mapping and generating devices and methods for surface mapping and surface generation
    US20080131841 *Jan 4, 2008Jun 5, 2008Cadent LtdMethod and system for designing and producing dental prostheses and appliances
    US20080153069 *Dec 12, 2007Jun 26, 2008Stephan HolznerMethod, machine-readable medium and computer concerning the manufacture of dental prostheses
    US20080154743 *Dec 12, 2007Jun 26, 2008Stephan HolznerMethod concerning the transport of dental prostheses
    US20080208382 *Apr 25, 2008Aug 28, 2008Cadent Ltd.Method and system for fabricating a dental coping, and a coping fabricated thereby
    US20080268400 *May 13, 2008Oct 30, 2008Align Technology, Inc.Dental appliance reinforcement
    US20080300716 *Aug 6, 2008Dec 4, 2008Cadent Ltd.Method for manipulating a dental virtual model, method for creating physical entities based on a dental virtual model thus manipulated, and dental models thus created
    US20090220918 *May 11, 2009Sep 3, 2009Orametrix, Inc.Automatic crown and gingiva detection from three-dimensional virtual model of teeth
    US20100114351 *Dec 31, 2009May 6, 2010Cadent Ltd.Method for manipulating a dental virtual model, method for creating physical entities based on a dental virtual model thus manipulated, and dental models thus created
    US20100151410 *Feb 23, 2010Jun 17, 20103M Innovative Properties CompanyLocal enforcement of accuracy in fabricated models
    US20100151417 *May 21, 2008Jun 17, 2010Nobel Biocare Services AgMethod and system for dental planning
    US20100152871 *Feb 23, 2010Jun 17, 20103M Innovative Properties CompanyLocal enforcement of accuracy in fabricated models
    US20100152873 *Feb 23, 2010Jun 17, 20103M Innovative Properties CompanyLocal enforcement of accuracy in fabricated models
    US20100167238 *Mar 8, 2010Jul 1, 2010Cadent Ltd.System and method for manufacturing a dental prosthesis and a dental prosthesis manufactured thereby
    US20100191510 *Jul 2, 2009Jul 29, 2010Cadent Ltd.Methods, apparatus and system for use in dental procedures
    US20100216085 *Feb 22, 2010Aug 26, 2010Cadent Ltd.Method, system and model for indirect bonding
    US20100241262 *May 28, 2010Sep 23, 2010Cadent Ltd.Method and system for designing and producing dental prostheses and appliances
    US20110105894 *Dec 29, 2010May 5, 2011Cadent Ltd.System and method for scanning an intraoral cavity
    US20110196653 *Feb 10, 2010Aug 11, 2011Nobel Biocare Services AgDental data planning
    US20150104756 *Dec 18, 2014Apr 16, 2015Biomet 3I, LlcTemporary abutment with combination of scanning features and provisionalization features
    US20160220173 *Jan 30, 2015Aug 4, 20163M Innovative Properties CompanyEstimating and predicting tooth wear using intra-oral 3d scans
    EP2165672A2Apr 23, 2004Mar 24, 2010Orametrix, Inc.Workstation for virtual treatment planning capable of providing output appliance design data
    EP3130311A1Feb 24, 2005Feb 15, 2017Align Technology, Inc.Method and system for designing and producing dental prostheses and appliances
    WO2003092533A1May 4, 2003Nov 13, 2003Cadent Ltd.A method and system for assessing the outcome of an orthodontic treatment
    WO2006092800A3 *Mar 2, 2006Apr 30, 2009Cadent LtdSystem and method for scanning an intraoral cavity
    WO2012011101A2Jul 19, 2011Jan 26, 2012Cadent Ltd.Methods and systems for creating and interacting with three dimensional virtual models
    WO2014096931A1Dec 17, 2013Jun 26, 2014Align Technology, Inc.Methods and systems for dental procedures
    Classifications
    U.S. Classification433/213, 433/214
    International ClassificationA61C19/04, A61C9/00, A61C13/00
    Cooperative ClassificationA61C9/00, A61C9/0053, A61C13/0004
    European ClassificationA61C13/00C1, A61C9/00
    Legal Events
    DateCodeEventDescription
    Jan 20, 1998ASAssignment
    Owner name: CADENT LTD., ISRAEL
    Free format text: ASSIGNMENT OF ASSIGNORS INTEREST;ASSIGNORS:KOPELMAN, AVI;TAUB, ELDAD;REEL/FRAME:009410/0996
    Effective date: 19971225
    Feb 9, 2004FPAYFee payment
    Year of fee payment: 4
    Feb 25, 2004REMIMaintenance fee reminder mailed
    Feb 8, 2008FPAYFee payment
    Year of fee payment: 8
    Feb 18, 2008REMIMaintenance fee reminder mailed
    Dec 3, 2008ASAssignment
    Owner name: ORIX VENTURE FINANCE LLC, NEW YORK
    Free format text: SECURITY AGREEMENT;ASSIGNOR:CADENT LTD.;REEL/FRAME:021912/0948
    Effective date: 20080605
    Owner name: ORIX VENTURE FINANCE LLC,NEW YORK
    Free format text: SECURITY AGREEMENT;ASSIGNOR:CADENT LTD.;REEL/FRAME:021912/0948
    Effective date: 20080605
    Jan 11, 2012FPAYFee payment
    Year of fee payment: 12