Account Options

  1. Sign in
    Screen reader users: click this link for accessible mode. Accessible mode has the same essential features but works better with your reader.

    Patents

    1. Advanced Patent Search
    Publication numberUS6109332 A
    Publication typeGrant
    Application numberUS 09/161,873
    Publication dateAug 29, 2000
    Filing dateSep 28, 1998
    Priority dateNov 30, 1992
    Fee statusPaid
    Also published asUS5814161, WO1997028909A1
    Publication number09161873, 161873, US 6109332 A, US 6109332A, US-A-6109332, US6109332 A, US6109332A
    InventorsEmmanuel M. Sachs, Michael J. Cima, James F. Bredt, Satbir Khanuja
    Original AssigneeMassachusetts Institute Of Technology
    Export CitationBiBTeX, EndNote, RefMan
    External Links: USPTO, USPTO Assignment, Espacenet
    Ceramic mold finishing
    US 6109332 A
    Abstract
    A technique for smoothing and otherwise changing the surfaces of porous bodies, such as ceramic molds, made using layer manufacturing processes, such as three dimensional printing processes. The surface finish of the mold can be smoothed by casting a slip of fine particles onto the surface to form a generally level, and preferably non-conformal, coating on the surfaces. In general, the fine particles of the slip are caused to be filtered out from the liquid, so that the fine particles come to rest at or near the surface of the body formed. They are typically, preferentially drawn toward concave regions of the surface, as compared to convex regions, thereby forming a non-conformal coating. Furthermore, other surface properties can be changed by tailoring the slip to produce those properties. The coating can be applied to external surfaces, and internal surfaces, such as would become the surface against which a molded part would be formed.
    Images(5)
    Previous page
    Next page
    Claims(14)
    What is claimed is:
    1. A process for fabricating a porous body comprising the steps of:
    a. building up said body by creating successive layers of a powder material, each layer being on average at least three powder particles thick, whereby due to said layer buildup, a surface of said body having a first surface roughness resulting from concave regions that are adjacent to convex regions, with a porous region between said concave and convex regions, made up of an edge of one of said layers that is, on average at least three particles thick; and
    b. casting a slip of fine particles against the concave and convex regions of said surface of the body, whereby said fine particles are smaller, on average, than the powder particles, and are drawn preferentially toward said concave regions to a degree greater than toward said convex regions, so that the surface of said body is coated with a surface coating of said fine particles, such that the surface roughness is decreased from said first degree to a smoother, second degree of roughness.
    2. A process in accordance with claim 1 wherein said coating is a non-conformal coatings.
    3. A process in accordance with claim 1, wherein said building up step comprises providing said porous body with an interior passage, and wherein said step of casting the slip of fine particles comprises applying said slip to the interior passage of said body.
    4. A process in accordance with claim 1 wherein the body is substantially a ceramic body and the step of casting a slip of fine particles comprises casting a slip comprising ceramic particles.
    5. A process in accordance with claim 4,
    a. wherein said building up step comprises providing said porous body with an interior passage; and
    b. wherein said step of casting the slip of fine particles comprises applying said slip to the interior passage of said body to form a mold for metal casting.
    6. A process in accordance with claim 1 wherein the porous body has pores that are larger than the fine particles in the slip and said step of casting a slip of fine particles comprises the step of composing said slip of particles having a shape that will allow them to penetrate only a small distance into the pores of said porous body.
    7. The process of claim 6, said step of composing said slip comprising composing said slip of plate shaped particles.
    8. A process in accordance with claim 1 wherein the porous body has pores that are larger than the fine particles in the slip, further comprising the step of forming a filter layer near the surface of the porous body, such that during said step of casting a slip of fine particles against said surface of said body, said surface coating of said fine particles is formed adjacent to said filter layer.
    9. A process in accordance with claim 8 wherein the body is substantially ceramic and the step of forming a filter layer comprises providing colloidal silica from which silica forms said filter layer.
    10. A process in accordance with claim 1 wherein the porous body has pores that are larger than the fine particles in the slip, and further comprising the step of partly saturating the porous body with a material that causes the slip to flocculate.
    11. A process in accordance with claim 1 wherein said slip comprises a liquid vehicle component and a solids component, and has a solids content, and the step of casting a slip is conducted for a period of time such that for the properties of the liquid vehicle used, the thickness of the surface coating is controlled to a target value by allowing the slip to cast for a convenient casting time.
    12. A process in accordance with claim 11 said slip comprising a solids content of about 1% to 10% by volume.
    13. The process of claim 11, wherein the step of casting the slip is conducted for a period of time such that the thickness of the surface coating is less than about 60 microns.
    14. A process for fabricating a porous body comprising the steps of:
    a. building up said body by creating successive layers of a powder material, each layer being on average at least three powder particles thick, whereby due to said layer buildup, a surface of said body comprises concave regions that are adjacent to convex regions, with a porous region between said concave and convex regions, made up of an edge of one of said layers that is, on average at least three particles thick; and
    b. casting a slip of fine particles against the concave and convex regions of said surface of the body, whereby said fine particles are much smaller, on average, than the powder particles, and are drawn preferentially toward said concave regions to a degree greater than toward said convex regions, so that the surface of said body is coated with a surface coating of said fine particles, such that the surface properties are changed.
    Description
    GOVERNMENT RIGHTS

    This invention was made with government support under grants number DDM-8913977 awarded by the National Science Foundation. The government has certain rights in the invention.

    CROSS-REFERENCE TO RELATED APPLICATION

    This application is a DIV of Ser. No. 08/600,215, filed Feb. 12, 1996 and now issued as U.S. Pat. No. 5,814,161, which is a CIP of Ser. No. 07/983,156, filed Nov. 30, 1992 and now issued as U.S. Pat. No. 5,490,882.

    INTRODUCTION

    This invention relates generally to ceramic molds for metal castings and, more particularly, relates to ceramic molds made by three dimensional printing techniques using a layered process and to techniques for the removal of loose powder from within the ceramic mold and the improvement of the surface condition and especially the surface finish of the interior of the mold.

    BACKGROUND OF THE INVENTION

    Ceramic molds for metal casting can be created directly from a computer model using layer techniques, i.e., three dimensional printing processes which can be defined as processes that construct objects in layers using a computer model of the objects. Exemplary processes of this type are described, for example, in U.S. patent application Ser. No. 07/447,677, filed on Dec. 8, 1989, and now issued as U.S. Pat. No. 5,204,055 which application is incorporated by reference herein. As described therein, a ceramic mold for metal casting can be created directly from a computer model using such process wherein the mold is created on a layer by layer basis. As shown specifically in FIGS. 1(A)-1(F) herein, the mold may be created by spreading powder 1 using roller 3 within a confined region as defined by a piston 5 and cylinder 7 arrangement. A further material 9, e.g. a binder material, is then deposited at specific regions 11 of a layer as determined by a computer model of the mold. The further material acts to bind the powder within the layer and between layers. This process is repeated layer after layer until all layers needed to define the mold have been printed. The process results in a bed of powder 13 which contains within it a ceramic mold 15. When the further material which is used to bind the powder contains a ceramic, the entire bed can be fired at an elevated temperature. Next, the powder on the exterior surfaces of the mold is removed to provide a mold which is still filled with loose powder on the interior surface 17 thereof. The loose interior powder must then be removed to yield a hollow mold 19. As the passageways within the mold can be long and complex, the geometry often precludes the use of a tool such as a brush to aid in interior powder removal. One technique for removing the powder which is disclosed in the above application is to wash or flush the powder from the interior surface. In some cases, and particularly when the further material used to bind the powder contains a polymer, the mold can be removed from the powder bed before firing.

    It will be understood that other methods might also be used to create ceramic molds directly from a computer model. For example, selective laser sintering might also be used to create such a mold from ceramic powder. Thus, the current invention can be applied to molds made directly from a computer model, regardless of the process used.

    A major problem with such technique is that the powder is not always thoroughly removed when a mere flushing operation is used. Accordingly, it is desirable that other techniques be devised to provide more complete and efficient removal of the powder from the interior of the mold.

    Moreover, another major problem that arises is that, since the mold is fabricated from a plurality of layers, a non-smooth surface, e.g. a "stair-stepped" surface on the interior of the mold is usually produced during the layering process. While the magnitude of this surface effect can be reduced, by reducing the layer thickness, an undesirable increase in the fabrication time results. Acceptable surface finish is, therefore, not always achievable when using a practical fabrication time cycle. It is desirable, therefore, to devise techniques to achieve the desired surface finish utilizing further operations after the mold has been fabricated and the powder is removed from the internal passages.

    BRIEF SUMMARY OF THE INVENTION

    In accordance with one embodiment of the invention, an improved method for removing loose powder from the interior cavities of a ceramic mold involves filling the cavities with a liquid, preferably water, and boiling the liquid using microwave energy to concentrate the boiling action in the interior surfaces. The loose powder particles are entrained in the flow caused by the boiling action and are removed from the mold cavities.

    In accordance with another effective embodiment of the invention for powder removal, a plurality of very small, spherically shaped metal particles are introduced into the interior cavities of the mold. The mold entry is capped and the mold is then moved appropriately e.g., vibrated or rotated, so that the metal particles loosen the powder on the interior surfaces by impact and abrasion. The mold is then uncapped and the metal particles and the loose powder are poured out of the mold. It is found that the impact and abrasion action also tends to improve the finish on the interior surfaces of the mold. In a further embodiment of the invention, improvements to the surface finish can be achieved by slip casting a layer of fine particulates on to the interior surfaces of the mold.

    BRIEF DESCRIPTION OF THE DRAWINGS

    The invention can be described in more detail with the help of the accompanying drawings wherein:

    FIGS. 1(A)-1(F) depict a process sequence for making a ceramic mold by three dimensional printing techniques showing a mold during printing, after removal of exterior powder, and after removal of interior powder;

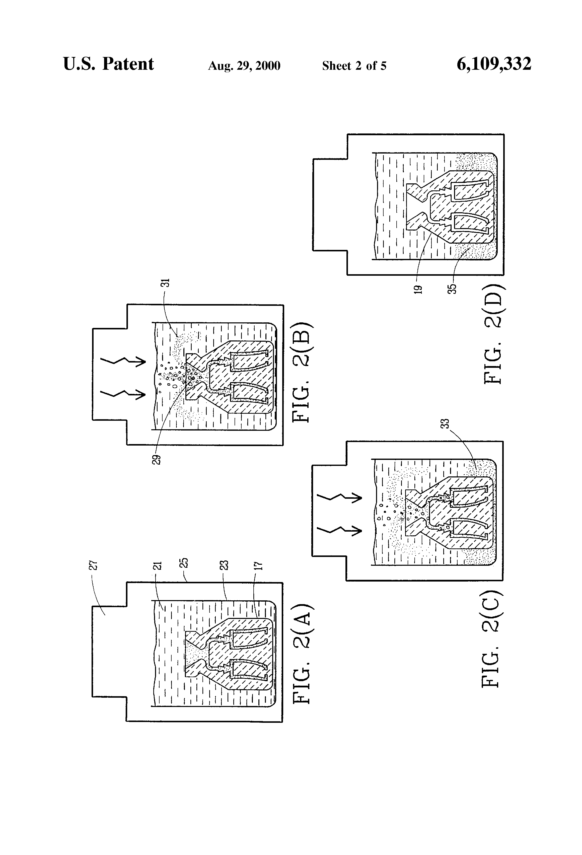
    FIGS. 2(A)-2(D) depict a sequence of operations performed to remove loose powder from within a ceramic mold using microwave energy;

    FIGS. 3(A)-3(C) depict a sequence of operations to remove loose powder from within a ceramic mode using vacuum suction applied externally to the mold;

    FIGS. 4(A)-4(E) depict a sequence of operations performed for the removal of lightly adhered powder from within the mold by using the agitation action of small metal powder particles;

    FIGS. 5(A) and 5(B) depict a sequence of operations performed for providing an improved surface finish on a mold using a non-conformal coating thereon;

    FIG. 6 depicts the use of a filter layer to enable a non-conformal coating of fine particles to be deposited on a substrate made of coarser particles.

    DESCRIPTION OF THE PREFERRED EMBODIMENTS

    As seen in FIGS. 1, 1(A)-1(f), and as described above, a ceramic mold 15 is formed on a layer-to-layer basis by applying successive layers of ceramic powder to a confined region, e.g. as depicted by the arrangement of piston 5 and cylinder 7, and then applying binder material to selective regions of each layer (FIGS. 1(A)-1(D)), as discussed in the above identified Sachs et al application. The exterior loose powder and piston/cylinder arrangement are removed to leave a mold having loose powder in the interior cavities thereof (FIG. 1(E)). The interior loose powder is removed, by washing or flushing, as discussed in the above application to produce the desired ceramic mold shown in FIG. 1(F).

    As the shape of the ceramic mold can be quite complex, the ceramic powder must travel a complex route in order to come completely out of the casting mold. One technique helpful in a washing operation is to place the mold in an ultrasonic tank and apply ultrasonic energy to the mold to help loosen the powder on the interior surfaces and thereby facilitate its removal.

    Another effective powder removal technique in accordance with the invention is described with reference to FIGS. 2(A)-2(D). In such method, a mold 17 is immersed in a suitable liquid such as water 21 contained by a vessel 23 as shown in FIG. 2(A). A small amount of surfactant may be added to the water to improve the wetting characteristics thereof. The water relatively rapidly penetrates through the porous ceramic mold and fills the void spaces between the loose ceramic powder within the interior cavities of the mold. Alternatively, for molds of low porosity, the water may be poured into and contained by the mold itself with no vessel required. The ceramic mold, once placed in the bath of water in container 23, is then placed in an apparatus for applying microwave energy thereto which apparatus consists of a housing 25 and a microwave energy generator 27. A suitable apparatus is a well-known commercial microwave oven such as those used to cook food. As shown in FIG. 2(B), the microwave generator is turned on and microwave energy 29 is applied to the mold and therein to cause the water to boil. The boiling action of the water within the loose powder on the interior surfaces of the mold leads to the formation of bubbles 29 of steam and the agitation from the boiling causes the powder 31 to be ejected.

    A critical aspect of the use of the microwave energy is that the boiling action takes place preferentially within the loose powder on the inside of the mold. This action is contrasted with a boiling action that would result when the mold is merely place in a tank of hot water and subjected to boiling by the application of heat to the exterior of the tank. In the latter case, the primary boiling action takes place at the interface between the water and the tank in which it is contained. Since the mold, and in particular the interior of the mold, is at a somewhat lower temperature, relatively little boiling action takes place within the mold. As a result, there would be relatively little ejection of particulate matter therefrom. In the case where microwave energy is used, however, the water is heated uniformly throughout the interior cavities by the microwave energy. The loose powder particles, on the interior of the cavities now act in effect as "boiling chips", as that term is understood in the practice of certain chemical processing techniques, wherein boiling chips act as nucleation sites where bubbles of steam form. Thus, in the case of boiling by microwave energy, the boiling takes place preferentially at precisely the locations desired, i.e., within the loose powder which is inside the ceramic mold cavities. It will be understood that liquids other than water can be used for the purpose of causing boiling and ejection of the powder and that the frequency of the microwave excitation energy should be appropriately chosen to match the properties of the liquid which is used.

    FIG. 2(C) depicts the ejection of powder at a later stage wherein a substantial amount of the ejected powder 33 has accumulated at the bottom of the vessel 23. FIG. 2(D) shows the completely emptied mold cavities wherein all the ejected powder 35 has accumulated at the bottom of vessel 23 and the microwave power has now been turned off.

    The boiling action described above is sufficient to expel loose powder through passages of relatively complex shape. However, it is preferable to orient the mold with its pouring cup as shown in FIGS. 2(A)-2(D). Since the steam bubbles tend to rise, it is generally preferred that the main exit passage for the powder be oriented upwardly.

    An alternate means to create boiling within the mold is to immerse the mold in a liquid such as water within a pressure vessel such as an autoclave. While at an elevated pressure, the liquid is raised to, or near to, the boiling point of the liquid. Rapid decompression (reduction of pressure) will induce boiling of the liquid within the mold and the boiling action will aid in the ejection of the powder from within the mold much as in the case of boiling with microwave energy as described above.

    An alternative method for the evacuation of powder from the inside of a ceramic mold is described with reference to FIGS. 3(A)-3(C). As seen therein, the mold is fitted with a cap 37 and suction is applied to the pouring cup of the mold at tube 39, the suction drawing air in through the wall of the mold, thereby loosening the powder therein and causing the loose powder 14 from the interior of the mold to flow out from the pouring cup as shown in FIG. 3(C). Ceramic molds are typically fairly porous, a requirement generally imposed by the casting process itself, and the air will flow relatively freely through the porous mold wall. After the suction is applied for some time period, the cap 37 can be removed yielding the empty mold shown in FIG. 3(C).

    While the powder removal methods described above are highly effective, it is possible that a small amount of powder might be left behind on the interior surfaces of the mold, such powder being especially lightly adhered to the interior walls of the mold. A further process that is useful for removing such lightly adhered materials is depicted in FIGS. 4(A)-4(E) wherein a small quantity of a material which will act to remove the loose powder by a combination of abrasion and impact actions is poured into the mold (FIG. 4(A)). In the preferred embodiment depicted very small, generally spherical metal particles 51 are poured into a mold 47 which has a small amount of lightly adhered powder 39 on its interior surface. The size of the metal particles must be smaller than the size of the smallest passageway inside the mold. Thus, for example, if a thin-walled turbine blade is being made with a wall thickness of 500 microns, the particle sizes should not exceed 500 microns and preferably should be in the 100-200 micron range. After being poured into the mold, the mold is covered with a cap 55, as shown in FIG. 4(B). The mold can then be turned over as shown in FIG. 3(C) allowing the metal particles 57 to tumble within the mold and thereby impact and loosen the lightly adhered ceramic powder 59 so that it is free to move within the mold. It is understood that the tumbling action can be effected in any manner, for example, by alternately rocking the mold back and forth or by tumbling it continuously in one direction. It is further understood that the shape of the particles poured into the mold can vary. However, it is found that spherical particles have an advantage of being highly flowable and, therefore, easy to pour into and out of the mold. It is also understood that further more aggressive agitation of the mold with the tumbling particles inside can be utilized, e.g. as by vibrating the mold or by other means, as long as the impact of the particles is not so violent as to cause damage to the mold.

    The material of the particles that are poured into the mold can also vary. For example, it is possible to use ceramic particles rather than metallic particles. However, it appears preferable to use metallic particles as they will have more mass and momentum and, therefore, do a superior job of knocking loose the lightly adhered ceramic powder. After suitable tumbling, cap 55 is removed and the metal particles 61 together with the loosened ceramic particles 63 are poured out, as shown in FIG. 4(D). The resulting finished mold 19 is shown in FIG. 3(E).

    A further aspect of the process shown in FIGS. 3(A)-3(E) is to use metallic particles of the same alloy that will be cast within the mold. Such use provides an advantage that, should a few, e.g., one or two, metal particles be left behind in the mold, they will simply melt and be incorporated into the casting when the alloy is poured. One problem that may arise in achieving such incorporation is that the ceramic mold often goes through a firing step to preheat the mold before the metal is poured. As a result, there is a risk of oxidation of one or more metal particles that are left behind during the firing step. Accordingly, it is a further aspect of this invention to use metal particles of the alloy that is to be cast and to plate such particles with a very thin plating of a noble metal material, such as platinum. In this manner, the metal particles will resist oxidation during the firing step and will then become readily incorporated into the alloy during casting.

    In another embodiment of this invention, the powder which is poured into the mold can be a soluble material. For example, a metal salt, such as sodium chloride, can be used as the powder for tumbling. Such powder will act to loosen unprinted, but lightly adhered, powder on the interior of the mold in a manner similar to that described above. Any salt powder that remains after the tumbling operation can be removed by immersing the mold in a solvent, such as water, and dissolving the salt out.

    A further advantage in using the technique of FIGS. 4(A)-4(E) is that the tumbling action of the particles (whether they are ceramic or metallic) improves the surface finish of the interior surfaces of the mold. In processes which use powder particles to form a part, such as in a three-dimensional printing process, for example, some powder particles on a surface of the part being fabricated may be only lightly bonded with the majority of the particles protruding from the surface. The tumbling action of the metal or ceramic particles in the mold can remove such barely bonded particles from the interior surfaces thereof. Further, the tumbling action also tends to smooth out the stair-stepping configuration that occurs between the layers of the printing process. Such stair-stepping configuration is the result of the sequential building of the part in layers of finite thickness.

    Another approach to improving the surface finish of a porous part made directly from a computer model by methods, such as a three-dimensional printing process, is to coat the interior of the mold in such a manner that the underlying surface roughness decreases as the coating grows. In order to create the greatest improvement in the surface finish of the molds, the coating should preferably be non-conformal. FIG. 5A shows a surface, as created by a three-dimensional printing process, for example, which surface is constructed of three layers, resulting in steps 67. Steps 67 are a primary source of surface roughness for the mold. In addition, defects 69 may arise in an individual layer, which defects can also lead to surface roughness. FIG. 5B shows a non-conformal coating 71 which is thicker in the depressions of the stair-step configuration and which, therefore, tends to smooth the surface.

    While coatings have been used in the mold casting industry, they have been most prominently applied to sand molds. Their primary purpose in such application is to provide a barrier to the molten metal used in the casting process so that it does not penetrate into the sand mold and, in the process, the surface finish of the casting tends to be improved. In standard practice, these coatings are applied as paints, using either brushing, spraying or dipping techniques. The coatings are generally applied in relatively thick layers, e.g., 150-2000 microns thick, and often are obtained by multiple applications of the coating material. The coating materials generally are prepared with a very high solids content, e.g., as high as 40% by volume in order to build up such large thicknesses. Because of the methods of preparation and application, the thickness of the coatings can not be well controlled and, hence, the geometric control of the casting may suffer. Moreover, the ability of the coatings to coat the mold in a non-conformal fashion is limited. Accordingly, existing sand mold coating technology is poorly suited to the needs of molds made by layer manufacturing methods, such as three-dimensional printing processes, for example.

    In accordance with the invention, however, slips of fine particles can be used to create a casting, and preferably a non-conformal coating of the mold surface. In one embodiment, for example, a slip, or dispersion of particles in a liquid vehicle, is poured into the mold and the liquid vehicle is made to flow into the porous mold by the action of capillary forces which draw the liquid into the mold. The mold acts as a filter with respect to the particles, with the result that these particles are deposited on its surface. The steps which have a greater pore volume per unit area at the surface of the porous body tend to draw more liquid in and, hence, causes the deposition of greater amounts of particulate matter from the slip. Thus, the non-conformal and a general leveling nature of the coating is achieved.

    Slip casting is a method that has been known in the art for making ceramic bodies. Slip casting is the deposition of particles on the surface of a porous mold through the flow of a liquid vehicle which disperses those particles. The term, "slip", usually refers to the particulate dispersion. Slip casting is commonly used for the fabrication of complex shaped components by casting them on the inside of porous forms. These forms are usually made of two halves and can be split to remove the part after drying. The cast thickness is found to be rather uniform and makes complex shapes accessible to the ceramic designer.

    In accordance with the invention, the cast layer thickness will be much thinner than that obtained using conventional slip cast parts and will be made to adhere to the surface of the part by the physical and chemical composition of the layer so that it will not spall or separate during use. Thus, in the present invention, the slip cast layer is intended to become a part of the finished mold and to constitute the inner layer or face coat of the mold. It is this layer which is exposed to the molten metal during the casting operation. The casting of the inner layer thus presents another advantage since the composition of the inner layer can be different than the composition of the bulk of the mold and, thus, a material may be chosen which either minimizes reaction with the molten metal or promotes the nucleation of grains, depending on the particular casting application.

    The cast layer thickness will have to be accounted for in the design of the component. Fortunately, the layer thickness can be precisely controlled since the deposition rate is a function of certain process parameters. The cast layer thickness, h, varies with time, t, according to the following approximate equation, ##EQU1## where d is the particle size in the slip, "ε" is the void fraction of the cast layer, "μ" is the viscosity of the liquid vehicle, y is a function of the solids content of the slip, "γ" is the surface tension of the liquid vehicle, K is a constant, and r is the pore size in the mold shell. The radius of curvature of contoured shapes will also change because of the deposition of material on the curved surfaces of the component. In a typical application, sub-micron particles (e.g., having sizes of 0.1-1.0 microns) can be used and the process typically builds up a layer having a thickness of up to 60 microns thick, for example. As it is only the radii of dimensions comparable to the layer thickness which will be effected, most geometries will not be significantly altered. The use of thin cast layers is indicated when it is desired to minimize the alteration of the geometry of the mold during the casting.

    Slips of relatively low solids contents are preferably used in accordance with the invention. Such slips can help to create the thin cast layers which are the desired aim of this invention as the thickness of the cast layer depends on the quantity of liquid vehicle absorbed into the porous body and on the solids content of the slip which is filtered out as the liquid vehicle is absorbed. Thus, by a combination of control of the viscosity and surface tension of the liquid vehicle of the slip, the solids content and the casting time, the slip thickness may be controlled. Typically, slips with a solids content of between 1% and 10% by volume might be used.

    Fine surface finish and good mechanical adhesion to the mold shell surface requires the use of very fine powders. Slips of such very fine powders can be obtained by a variety of methods known to persons skilled in the art. Fine powders of ceramics or metals are available commercially. Alternatively, such powders may be classified by sedimentation or centrifugation. Particle size distributions as narrow as 0.2 to 0.3 microns can be made by such methods. Such narrow size distribution slurries dry to form films with surface smoothness that is of optical quality. These slurries can be made stable with respect to flocculation by proper selection of the pH or by the presence of a dispersant. It is well within the skill of those in the art of fine particle dispersion to determine the exact conditions by which to disperse fine particles of a given material. Alumina particles are, for example, dispersed in water when the pH is below 4.

    When the mold produced directly from a computer model is made with small particles, for example, particles that are sub-micron in size, the methods described above may be practiced with little or no special preparation of the mold. In such a case, the fine porosity of the mold will filter out the particles in the slip and these particles will deposit entirely on the surface of the mold.

    Often the mold is produced using larger particles and, as a result, the pores of components prepared by rapid prototyping methods are frequently larger than those needed to filter out the fine particles of a slip. Two approaches are possible in such a case. In one approach, the slip is designed to penetrate a small distance into the porous mold, but to agglomerate and stop the penetration after it has reached an approximate, but determinable and controllable depth. Such controlled penetration can, for example, be achieved by utilizing particles which have a tendency to lock against each other as they come into contact. For example, plate-like particles will behave in this manner. A possible benefit associated with the partial penetration of particles into the mold is that the slip-cast layer will be more adherent to the mold.

    Another approach, in the case where the pores of the mold prepared by rapid prototyping methods are larger than that needed to filter out the desired fine particles of a slip, is to suitably prepare the porous parts before receiving the coating of fine particle suspensions. In one case the pores on the surface of the part are modified so that fine particles of the slip are filtered by the surface. The pore structure can be very effectively modified by dipping the part in a gel forming solution and drying it prior to slip casting. The gel forming material creates a filter within the large pores so that the fine particles are appropriately filtered during slip casting. The gel can then be removed after coating by firing in the case of an organic gel. Alternatively, in another case, inorganic gels can be used, which gels remain in the component during use. Colloidal silica, of the type used for investment casting molds, for example, is an appropriate gel forming material which can be used. The colloidal silica is drawn to the surface during drying to fill the large pores with nanometer-scale silica particles. This procedure produces an effective filter which prevents passage of the alumina particles upon subsequent slip casting. Such precoat procedure need not be carried out with colloidal silica. More refractory solids like that of zirconia, yttria, or alumina may be just as effective. FIG. 6 shows three dimensional printed part made of three layers of fairly large particles 73. The filter layer 75 has been formed within the part and at the surface of the part. Fine particulates 77 have been slip cast onto the filter layer with the result that the sharp steps in the part have been smoothed into gentle contours 79.

    A variation on the above procedure is to use a partially saturated preform in a reactive casting process. The liquid used, however, is selected to flocculate the slurry and plug the pores before much slurry has been sucked into the body. An example of this reactive casting approach is to cast alumina slurries on parts slightly saturated with ammonium hydroxide solution. The acidic alumina dispersion flocs within the interior of the part when in comes in contact with the basic solution.

    One problem which can arise is the cracking of cast films, i.e., cracks can form during drying as a result of capillary stress. The formation of cracks has been the subject of recent investigations, e.g., as discussed in the article of R. C. Chiu and M. J. Cima, "Drying of Granular Ceramic Films: II. Drying Stress and Saturation Uniformity"; submitted in 1992 to the Journal of the American Ceramic Society. As described therein, cracking can be effectively prevented by several methods. For example, the cracks will not form in films with thickness less than a critical value. The critical cracking thickness for granular alumina films is roughly 60 microns. Thin films, e.g., having thicknesses less than 60 microns, do not present a cracking problem since they do not have enough stored elastic energy to form and extend cracks. An alternative approach is to strengthen the film by the addition of a binder. Both organic and inorganic binders can be used. Excellent examples for investment casting tooling are zirconium acetate, yttrium sols, or boehmite sols which are compatible with acidic alumina slips. These binders will not only strengthen the green films but also improve the bonding of the film to the three dimensional printed component after firing.

    While the above description of various embodiments of the invention discuss a variety of preferred embodiments thereof, modifications thereto may occur to those in the art within the spirit and scope of the invention. Hence, the invention is not be construed as limited thereto, except as defined by the appended claims.

    Patent Citations
    Cited PatentFiling datePublication dateApplicantTitle
    US2671741 *Feb 23, 1950Mar 9, 1954Texas CoDecoking and cleaning tubular heaters
    US2985939 *Jun 18, 1958May 30, 1961Philips Lab IncProcess of making a ferromagnetic core having a predetermined permeability
    US3302655 *Dec 23, 1964Feb 7, 1967Nibon Seikosho KkApparatus for spraying and ultrasonic washing of bottles
    US3451401 *Oct 12, 1967Jun 24, 1969Melvin L LevinsonMicrowave ultrasonic apparatus
    US3868267 *Nov 9, 1972Feb 25, 1975Us ArmyMethod of making gradient ceramic-metal material
    US3887392 *Nov 23, 1973Jun 3, 1975Gen Diode CorpMaterial treatment method
    US3990906 *Apr 17, 1975Nov 9, 1976The Goodyear Tire & Rubber CompanyCleaning tire molds by ultrasonic wave energy
    US3999188 *Dec 2, 1974Dec 21, 1976Hitachi, Ltd.Ink-jet recording apparatus
    US4122458 *Aug 19, 1977Oct 24, 1978The Mead CorporationInk jet printer having plural parallel deflection fields
    US4129875 *Sep 10, 1976Dec 12, 1978Hitachi, Ltd.Phase control for ink jet printer
    US4158204 *Apr 24, 1978Jun 12, 1979International Business Machines CorporationTime correction system for multi-nozzle ink jet printer
    US4159357 *Oct 3, 1977Jun 26, 1979Motoren- Und Turbinen-Union Munchen GmbhProcess for surface treating parts made of ceramic material
    US4235246 *Feb 5, 1979Nov 25, 1980Arco Medical Products CompanyEpicardial heart lead and assembly and method for optimal fixation of same for cardiac pacing
    US4247508 *Dec 3, 1979Jan 27, 1981Hico Western Products Co.Molding process
    US4294805 *Aug 8, 1979Oct 13, 1981United Kingdom Atomic Energy AuthorityMethod of leaching the contents of a can
    US4299239 *Feb 5, 1979Nov 10, 1981Intermedics, Inc.Epicardial heart lead assembly
    US4420446 *Mar 15, 1982Dec 13, 1983Cito Products, Inc.Method for mold temperature control
    US4472668 *Jan 28, 1983Sep 18, 1984Westinghouse Electric Corp.Multi-lead component manipulator
    US4504322 *Oct 20, 1982Mar 12, 1985International Business Machines CorporationRe-work method for removing extraneous metal from cermic substrates
    US4560586 *Jan 14, 1983Dec 24, 1985Carl Kurt Walther Gmbh & Co. KgProcess of deburring moldings made from granular material
    US4561902 *Oct 18, 1984Dec 31, 1985Lee Cecil DUltrasonic method and apparatus for cleaning transmissions
    US4575330 *Aug 8, 1984Mar 11, 1986Uvp, Inc.Apparatus for production of three-dimensional objects by stereolithography
    US4579380 *Dec 6, 1983Apr 1, 1986Carnegie-Mellon UniversityServo robot gripper
    US4636341 *Mar 4, 1985Jan 13, 1987Co-Ex Pipe Company, Inc.Method for handling and cooling injection molded polymeric articles
    US4642653 *Apr 21, 1986Feb 10, 1987Ricoh Company, Ltd.Multi-tone recording method for ink jet printer
    US4664948 *May 9, 1986May 12, 1987Harborchem, Inc.Method for coating refractory molds
    US4665492 *Jul 2, 1984May 12, 1987Masters William EComputer automated manufacturing process and system
    US4675216 *Mar 12, 1984Jun 23, 1987Sommer S.A.Process and apparatus for producing synthetic decorative covering
    US4735757 *Apr 30, 1986Apr 5, 1988Isolite Babcock Refractories Co., Ltd.Process for producing improved ceramic fiber moldings
    US4791022 *Dec 21, 1984Dec 13, 1988Owens-Corning Fiberglas CorporationDecorative panels
    US4791434 *Nov 12, 1985Dec 13, 1988Commonwealth Scientific And Industrial Research OrganizationDroplet stream alignment for jet printers
    US4818562 *Mar 24, 1988Apr 4, 1989Westinghouse Electric Corp.Casting shapes
    US4863638 *Apr 1, 1988Sep 5, 1989Harper Iii Raymond FProcess for hazardous waste containment
    US4929402 *Apr 19, 1989May 29, 19903D Systems, Inc.Method for production of three-dimensional objects by stereolithography
    US4931104 *Jun 5, 1989Jun 5, 1990Eaton CorporationProcess for cleaning porous parts
    US4935055 *Jan 7, 1988Jun 19, 1990Lanxide Technology Company, LpMethod of making metal matrix composite with the use of a barrier
    US4988202 *Jun 28, 1989Jan 29, 1991Westinghouse Electric Corp.Solder joint inspection system and method
    US5016683 *Mar 27, 1990May 21, 1991General Signal CorporationApparatus for controllably feeding a particulate material
    US5053090 *Jul 2, 1990Oct 1, 1991Board Of Regents, The University Of Texas SystemSelective laser sintering with assisted powder handling
    US5059266 *May 23, 1990Oct 22, 1991Brother Kogyo Kabushiki KaishaApparatus and method for forming three-dimensional article
    US5076869 *Jul 30, 1990Dec 31, 1991Board Of Regents, The University Of Texas SystemMultiple material systems for selective beam sintering
    US5079974 *May 24, 1991Jan 14, 1992Carnegie-Mellon UniversitySprayed metal dies
    US5106654 *Jul 20, 1990Apr 21, 1992Westinghouse Electric Corp.Method of forming a dense, high temperature electronically conductive composite layer on a porous ceramic substrate
    US5121329 *Oct 30, 1989Jun 9, 1992Stratasys, Inc.Apparatus and method for creating three-dimensional objects
    US5126529 *Dec 3, 1990Jun 30, 1992Weiss Lee EMethod and apparatus for fabrication of three-dimensional articles by thermal spray deposition
    US5136515 *Nov 7, 1989Aug 4, 1992Richard HelinskiMethod and means for constructing three-dimensional articles by particle deposition
    US5147587 *Feb 19, 1991Sep 15, 1992Board Of Regents, The University Of Texas SystemMethod of producing parts and molds using composite ceramic powders
    US5189781 *Jan 10, 1992Mar 2, 1993Carnegie Mellon UniversityRapid tool manufacturing
    US5203944 *Oct 10, 1991Apr 20, 1993Prinz Fritz BMethod for fabrication of three-dimensional articles by thermal spray deposition using masks as support structures
    US5204055 *Dec 8, 1989Apr 20, 1993Massachusetts Institute Of TechnologyThree-dimensional printing techniques
    US5207371 *Jul 29, 1991May 4, 1993Prinz Fritz BMethod and apparatus for fabrication of three-dimensional metal articles by weld deposition
    US5268036 *Dec 23, 1991Dec 7, 1993Aichelin GmbhMethod and apparatus for cleaning metallic workpieces
    US5278442 *Jul 15, 1991Jan 11, 1994Prinz Fritz BElectronic packages and smart structures formed by thermal spray deposition
    US5281789 *Jul 24, 1992Jan 25, 1994Robert MerzMethod and apparatus for depositing molten metal
    US5286573 *Sep 17, 1992Feb 15, 1994Fritz PrinzMethod and support structures for creation of objects by layer deposition
    US5301415 *Jun 22, 1993Apr 12, 1994Prinz Fritz BMethod for fabrication of three-dimensional articles
    US5304863 *Sep 2, 1992Apr 19, 1994Hughes Aircraft CompanyTransformer driver having unlimited duty cycle capability by inserting narrow pulses during unlimited duty cycles
    US5312456 *Jan 31, 1991May 17, 1994Carnegie Mellon UniversityMicromechanical barb and method for making the same
    US5332023 *Apr 28, 1993Jul 26, 1994Rolls-Royce PlcLeaching of ceramic materials
    US5340656 *Apr 9, 1993Aug 23, 1994Massachusetts Institute Of TechnologyThree-dimensional printing techniques
    US5387380 *Jun 5, 1992Feb 7, 1995Massachusetts Institute Of TechnologyThree-dimensional printing techniques
    US5876455 *Jul 24, 1997Mar 2, 1999Harwin; Steven F.Bio-shim
    EP0043124A2 *Jun 26, 1981Jan 6, 1982E.I. Du Pont De Nemours And CompanyMethod for decoding bar-coded labels
    EP0446934A2 *Mar 14, 1991Sep 18, 1991Kabushiki Kaisha ToshibaFabricating method of composite material, and heat conductive material and fabricating method of heat conductive material
    EP0470705A2 *Jul 8, 1991Feb 12, 1992Cubital Ltd.Three dimensional modeling
    JPH0461328A * Title not available
    JPH02111528A * Title not available
    JPH02307737A * Title not available
    JPH11202336A * Title not available
    SU1563787A1 * Title not available
    WO1992020505A1 *May 15, 1992Nov 26, 19923D Systems, Inc.Method of and apparatus for making a three-dimensional object by stereolithography
    Non-Patent Citations
    Reference
    1 *Database WPI, Section PQ, Week 9103, Derwent Publications Ltd., London, GB, p. 43, (cont.) AN 91 020238 & SU A 1 563 787 (Suchov, A.G.), May 15, 1990.
    2Database WPI, Section PQ, Week 9103, Derwent Publications Ltd., London, GB, p. 43, (cont.) AN 91-020238 & SU-A-1 563 787 (Suchov, A.G.), May 15, 1990.
    3H. Kodama, "Automatic Method for Fabricating a Three-Dimensional Plastic Model with Photo-(cont.) Hardening Polymer", Review of Scientific Instruments, vol. 52, No. 11, Nov. 1981.
    4 *H. Kodama, Automatic Method for Fabricating a Three Dimensional Plastic Model with Photo (cont.) Hardening Polymer , Review of Scientific Instruments , vol. 52, No. 11, Nov. 1981.
    5R. Sweet, "High-Frequency Recording with Electrostatically Deflected Ink Jets", (cont.) The Review of Scientific Instruments, vol. 36, No. 2, pp. 131-136, 1965.
    6 *R. Sweet, High Frequency Recording with Electrostatically Deflected Ink Jets , (cont.) The Review of Scientific Instruments , vol. 36, No. 2, pp. 131 136, 1965.
    7T. Wohlers, "Creating Parts by the Layers", Cadence, pp. 73-76, Apr. 1989.
    8 *T. Wohlers, Creating Parts by the Layers , Cadence , pp. 73 76, Apr. 1989.
    Referenced by
    Citing PatentFiling datePublication dateApplicantTitle
    US7021523Dec 20, 2004Apr 4, 2006Mark ManuelTool and a method for creating a tool
    US7058466May 16, 2003Jun 6, 2006Mark ManuelMethod and apparatus for the creation of a tool
    US7195223Dec 2, 2002Mar 27, 2007Mark ManuelSystem and a method for cooling a tool
    US7222834Aug 14, 2001May 29, 2007Floodcooling Technologies, LlcTool and a method for making a tool
    US7278197Jan 18, 2005Oct 9, 2007Floodcooling Technologies, LlcMethod for producing a tool
    US7338717 *Nov 7, 2002Mar 4, 2008Floodcooling Technologies, LlcTool and a method for creating the tool
    US7340317Dec 7, 2005Mar 4, 2008Floodcooling Technologies, LlcMethod and apparatus for the creation of a tool
    US7376484Jan 18, 2005May 20, 2008Floodcooling Technologies, LlcMethod for building a tool
    US7379787Apr 9, 2005May 27, 2008Floodcooling Technologies, LlcMethod for forming a tangible item and a tangible item formed by the method
    US7563091Jan 18, 2005Jul 21, 2009Floodcooling Technologies, L.L.C.Tool having an ejection assembly, a method for making such a tool, and a method for ejecting a formed object from a tool
    US8108982Jul 19, 2007Feb 7, 2012Floodcooling Technologies, L.L.C.Compound mold tooling for controlled heat transfer
    US9604390Nov 14, 2013Mar 28, 2017Husky Injection Molding Systems Ltd.Component of a molding system
    US20040051027 *Aug 14, 2001Mar 18, 2004Mark ManuelTool and a method for making a tool
    US20040091734 *Nov 7, 2002May 13, 2004Mark ManuelTool and a method for creating the tool
    US20040103709 *Dec 2, 2002Jun 3, 2004Mark ManuelSystem and a method for cooling a tool
    US20050023710 *Jun 22, 2004Feb 3, 2005Dmitri BrodkinSolid free-form fabrication methods for the production of dental restorations
    US20050038539 *May 16, 2003Feb 17, 2005Mark ManuelMethod and apparatus for the creation of a tool
    US20050103428 *Dec 20, 2004May 19, 2005Mark ManuelTool and a method for creating a tool
    US20050196232 *Mar 5, 2004Sep 8, 2005Mark ManuelMethod and an apparatus for the creation of a tangible item, such as a tool and/or a part, and a tangible item
    US20060156787 *Jan 18, 2005Jul 20, 2006Mark ManuelLaminated tool and a method for forming a tool
    US20060157877 *Jan 18, 2005Jul 20, 2006Mark ManuelTool having enhanced cooling characteristics and a method for producing a tool having enhanced cooling characteristics
    US20060161292 *Jan 18, 2005Jul 20, 2006Mark ManuelMethod for building a tool
    US20060162142 *Jan 18, 2005Jul 27, 2006Mark ManuelTool having an ejection assembly, a method for making such a tool, and a method for ejecting a formed object from a tool
    US20060229754 *Apr 9, 2005Oct 12, 2006Floodcooling Technologies, L.L.C.Method for forming a tangible item and a tangible item formed by the method
    US20060249889 *Mar 9, 2006Nov 9, 2006Daimlerchrysler AgProduction and use of a sacrificial mold core for metal casting
    US20070039153 *Aug 18, 2005Feb 22, 2007Mark ManuelMethod for forming a tool and a tool
    US20070040298 *Aug 18, 2005Feb 22, 2007Mark ManuelAssembly and a method for cooling and/or forming an item
    US20070050966 *Oct 11, 2006Mar 8, 2007Floodcooling Technologies, L.L.C.Method and an apparatus for the creation of a tangible item, such as a tool and/or a part, and a tangible item
    US20070067977 *Sep 29, 2005Mar 29, 2007Mark ManuelTool and a method for producing a tool
    US20070102837 *Sep 23, 2005May 10, 2007Mark ManuelTool having desired thermal management properties and a method for producing a tool having desired thermal management properties
    US20070129832 *Dec 7, 2005Jun 7, 2007Mark ManuelMethod and apparatus for the creation of a tool
    US20080003323 *Jul 19, 2007Jan 3, 2008Floodcooling Technologies, L.L.C.Compound mold tooling for controlled heat transfer
    US20100279007 *Aug 12, 2008Nov 4, 2010The Penn State Research Foundation3-D Printing of near net shape products
    US20110100537 *May 18, 2009May 5, 2011Advanced Composites Group LimitedCeramic tools
    CN105612037A *Sep 10, 2014May 25, 2016赫斯基注塑系统有限公司Unitary monolithically formed injection-molding apparatuses
    DE10317473B3 *Apr 16, 2003Feb 3, 2005Daimlerchrysler AgKeramische Gussformen für den Metallguss und deren Herstellungsverfahren
    WO2015047727A1 *Sep 10, 2014Apr 2, 2015Husky Injection Molding Systems Ltd.Unitary monolithically formed injection-molding apparatuses
    WO2015183796A1May 26, 2015Dec 3, 2015The Exone CompanyProcess for making nickel-based superalloy articles by three-dimensional printing
    WO2016011098A2Jul 15, 2015Jan 21, 2016The Exone CompanyMethods and apparatuses for curing three-dimensional printed articles
    Classifications
    U.S. Classification164/33, 164/519, 164/517, 164/518
    International ClassificationB22F5/00, B29C67/00, B22D17/22, B22D25/06, B24B1/04, B29C33/04, B29C33/38, B22C9/06, B08B3/12, B08B3/10, B08B5/04, B22F3/00, B08B9/00, B08B7/00, B29C33/56, B22C9/18
    Cooperative ClassificationB33Y80/00, B33Y40/00, B33Y10/00, B29C67/0081, B08B9/00, B22D25/06, B08B7/00, B22F3/008, B22C9/18, B29C33/3828, B22D17/2218, B29C33/04, B29C33/56, B22C9/065, B08B3/12, B22D17/22, B08B3/10, B22F5/007, B24B1/04, B08B5/04, Y02P10/292
    European ClassificationB22C9/06D, B24B1/04, B29C33/04, B22F5/00M, B22D17/22, B22D17/22D, B29C33/38E, B22D25/06, B29C67/00R6, B08B9/00, B22C9/18, B08B3/12, B08B7/00, B08B3/10, B22F3/00S, B08B5/04
    Legal Events
    DateCodeEventDescription
    Jul 23, 2002CCCertificate of correction
    Mar 17, 2004REMIMaintenance fee reminder mailed
    Aug 12, 2004SULPSurcharge for late payment
    Aug 12, 2004FPAYFee payment
    Year of fee payment: 4
    Feb 7, 2008FPAYFee payment
    Year of fee payment: 8
    Feb 28, 2012FPAYFee payment
    Year of fee payment: 12